Для студентов МГТУ им. Н.Э.Баумана по предмету ФизикаКолебанияКолебания
4,45531
2021-04-282021-04-28СтудИзба
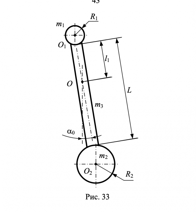
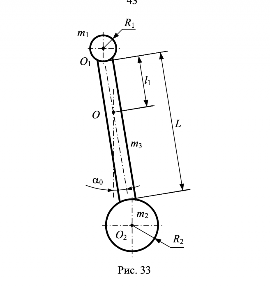
Задача 3: Колебания вариант 27
Описание
Характеристики решённой задачи
Предмет
Учебное заведение
Семестр
Номер задания
Вариант
Просмотров
15
Размер
361,32 Kb
Список файлов
tempimagefppqmm.pdf
Комментарии
Нет комментариев
Стань первым, кто что-нибудь напишет!
МГТУ им. Н.Э.Баумана

















