Для студентов по предмету Механика жидкости и газа (МЖГ или Гидравлика)Задача 9-1Задача 9-1
5,00554
2017-05-032017-05-03СтудИзба
Задача 9: Задача 9-1 вариант 1
-51%
Описание
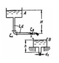
Задача (Куколевский И.И.) 9-1. Вода сливается из бака А в бак В по трубопроводу, диаметр которого d = 80 мм и полная длина L=2*l= 10 м. Из бака В вода вытекает в атмосферу через цилиндрический насадок такого же диаметра d1 = 80 мм (м = 0,82). Коэффициенты сопротивления колена и вентиля в трубе равны С =0,3 и С = 4; коэффициент сопротивления трения 0,03. Определить, какой напор Н нужно поддерживать в баке А, чтобы уровень в баке В находился на высоте h =1,5 м.
Ответ. H = 9,6 м.![]()
Ответ. H = 9,6 м.

Характеристики решённой задачи
Номер задания
Вариант
Программы
Теги
Просмотров
3016
Качество
Идеальное компьютерное
Размер
51 Kb
Список файлов
Задача 9-1.doc

Вам все понравилось? Получите кэшбэк - 40 рублей на Ваш счёт при покупке. Поставьте оценку и напишите положительный комментарий к купленному файлу. После Вы получите деньги на ваш счет.