Для студентов по предмету Физика5.61. Определить растягивающее Pраст и срезающее Pсрез усилия, действующие на болты фланца A конического5.61. Определить растягивающее Pраст и срезающее Pсрез усилия, действующие на болты фланца A конического
5,00568
2017-01-042017-01-04СтудИзба
Задача: 5.61. Определить растягивающее Pраст и срезающее Pсрез усилия, действующие на болты фланца A конического
Бестселлер
Описание
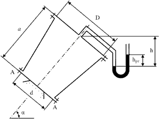
Давление в резервуаре измеряется ртутным манометром, показание которого hрт = 300 мм; высота h = 0,5 м.
Угол наклона оси резервуара к горизонту α = 450; массу резервуара не учитывать.
решение в формате PDF с пояснениями.
Характеристики решённой задачи
Предмет
Просмотров
3504
Качество
Идеальное компьютерное
Размер
566,94 Kb
Список файлов
14977-5030-1483537212-gidravlika_dz1.pdf
Отзывы
Отзыв
супер
oldguardian

























