Для студентов МГТУ им. Н.Э.Баумана по предмету Электротехника (ЭлТех)Расчет линейных электрических цепей постоянного токаРасчет линейных электрических цепей постоянного тока
5,0052
2024-10-252024-11-21СтудИзба
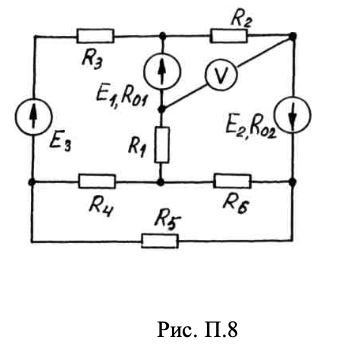
ДЗ 1: Расчет линейных электрических цепей постоянного тока вариант 79
Описание
Домашнее задание №1 на тему «Расчет линейных электрических цепей постоянного тока»


‼️ Внимание! В ДЗ есть небольшая «подгонка» цифр, чтобы всё сошлось. Преподаватели не пересчитывают значения, поэтому всё должно быть хорошо.
Покупая здесь, Вы получаете:
- Полностью верное и принятое О.И. Мисеюк ДЗ ✅
- Аккуратно оформленное ДЗ в Microsoft Word и PDF ✅
- Можно просто заменить фамилию и сдать ✅
Демо:


Характеристики домашнего задания
Предмет
Учебное заведение
Номер задания
Вариант
Программы
Просмотров
44
Качество
Идеальное компьютерное
Размер
2,65 Mb
Преподаватели
Список файлов
ДЗ1 – ЭлТех.pdf
ДЗ1 – ЭлТех.docx
Методичка + Задачи для ДЗ1.pdf

Vladelo