Для студентов МГТУ им. Н.Э.Баумана по предмету Электротехника (ЭлТех)ВАР.46, ДЗ.№2 "Расчет линейных цепей синусоидального тока"ВАР.46, ДЗ.№2 "Расчет линейных цепей синусоидального тока"
5,0056
2020-11-082020-11-08СтудИзба
ДЗ 2: ВАР.46, ДЗ.№2 "Расчет линейных цепей синусоидального тока" вариант 46
Описание
Принял домашнее задание преподаватель: Мисеюк О.И.
![]()
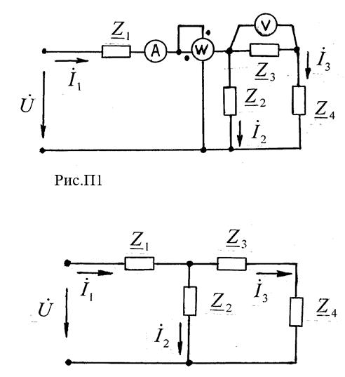
| | | | | | | | | | | | |
| U=140; В | ΨU=0; гр | R1=20; Ом | L1=95.54; мГн | C1=0; мкФ | R2=20; Ом | L2=0; мГн | C2=159.24; мкФ | R3=60; Ом | L3=0; мГн | C3=53.079; мкФ | R4=60; Ом | L4=95.54; мГн | C4=0; мкФ |

Характеристики домашнего задания
Предмет
Учебное заведение
Семестр
Номер задания
Вариант
Просмотров
83
Размер
742,98 Kb
Список файлов
ВАР.№46_ДЗ№2.docx
Комментарии
Нет комментариев
Стань первым, кто что-нибудь напишет!
МГТУ им. Н.Э.Баумана


















