Для студентов НИУ «МЭИ» по предмету Электрические машиныВариант 10 - Низковольтное комплектное устройство (НКУ)Вариант 10 - Низковольтное комплектное устройство (НКУ)
4,78522316
2020-08-222020-08-22СтудИзба
ДЗ: Вариант 10 - Низковольтное комплектное устройство (НКУ)
Описание
Задание:
1.Предварительные расчеты
1.1. Рассчитать параметры трансформатора.
1.2. Рассчитать ток линии с асинхронным двигателем.
1.3. Выбрать типы и сечения кабелей, соединяющих потребителей с трансформатором.
1.4. Рассчитать сопротивления кабелей и токи короткого замыкания.
2. Выбор электрических аппаратов управления и защиты.
2.1. Составить задание для выбора аппаратов, используемых в схеме управления двигателем и защиты линий.
2.2. По промышленным каталогам провести выбор аппаратов.
Необходимо выбрать следующие аппараты:
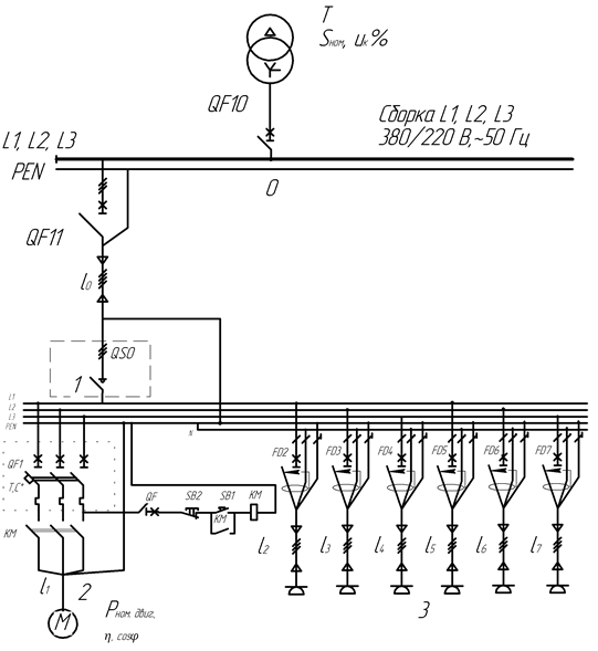
•вводной автоматический выключатель QF10;
•автоматический выключатель в начале линии QF11;
•аппарат на вводе в НКУ (выключатель QF0 или рубильник QS0);
•контактор КМ и тепловое реле КК или магнитный пускатель;
•автоматический выключатель, защищающий двигатель QF1;
•аппараты дифференциальной защиты (УЗО или АВДТ);
•аппарат защиты цепи управления (выключатель QF или предохранитель FU);
•кнопки, корпус НКУ и зажимы для ввода и вывода кабелей.
2.3. Провести проверку всех выбранных аппаратов.
2.4. Построить сравнительные времятоковые характеристики выбранных аппаратов.
2.5. Составить заказную спецификацию.
3. Конструкторская часть проекта.
3.1. Начертить полную электрическую схему НКУ с учетом типов выбранных аппаратов (однолинейную схему).
3.2. Разместить выбранные аппараты в НКУ с учетом их габаритных и установочных размеров.
3.3. Выполнить схему соединений силовых цепей аппаратов и цепей управления.
Провести маркировку проводов согласно электрической схеме.

Исходные данные
№п/п | Параметры | Обозн. | Разм. | Значение |
1 | Мощность питающего трансформатора | Sном | кВ*А | 160 |
2 | Номинальное линейное напряжение | Uном.л. | В | 380 |
3 | Напряжение короткого замыкания | UК | % | 4,5 |
4 | Потери в меди | Pcu | кВт | 3,1 |
5 | Длины соединительных кабелей | l0 | м | 85 |
l1 | 60 | |||
l2- l7 | 20 | |||
6 | Материал кабеля | - | - | |
7 | Номер варианта двигателя | № | - | 23 |
8 | Номер схемы защиты и управления АД | № | - | 1 |
9 | Номер варианта схемы нагрузки | № | - | 1 |
10 | cos φ | - | - | 0,95 |
11 | Мощность нагрузки, | Р2-Р4 | кВт | 3,0 |
12 | Мощность нагрузки | Р5-Р7 | кВт | 1,0 |
| Параметры двигателя | | | |
13 | Мощность двигателя | кВт | 7,5 | |
14 | Тип двигателя | - | - | 4АМ132S4 |
15 | КПД двигателя | % | 87,5 | |
16 | Коэффициент мощности COS двигателя | COS | - | 0,86 |
17 | Кратность пускового тока двигателя | КI | - | 7,5 |
Характеристики домашнего задания
Предмет
Учебное заведение
Семестр
Просмотров
51
Качество
Идеальное компьютерное
Размер
705,14 Kb
Список файлов
Курсовая - Низковольтное комплектное устройство (НКУ) (2015).docx

Зарабатывай на студизбе! Просто выкладывай то, что так и так делаешь для своей учёбы: ДЗ, шпаргалки, решённые задачи и всё, что тебе пригодилось.
Начать зарабатывать
Начать зарабатывать