Для студентов МГТУ им. Н.Э.Баумана по предмету Дипломы и ВКРМетодика конструирования узлов и деталей винтового подъемникаМетодика конструирования узлов и деталей винтового подъемника
4,9951118
2024-02-292024-02-29СтудИзба
ВКР: Методика конструирования узлов и деталей винтового подъемника
Описание
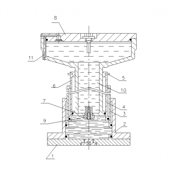
В данной дипломной работе представлены разработки следующих вопросов:
1. Расчет и проектирование винтового механизма.
2. Выбор электродвигателя.
Выяснено, что двигатель типа МЭ241 с возбуждением от постоянных магнитов пригоден для работы в заданных условиях нагрузки.
3. Спроектирован конический редуктор, проведена проверка валов на действие изгиба и кручения.
4. Разработан технологический процесс изготовления винта.


Характеристики ВКР
Предмет
Учебное заведение
Просмотров
5
Качество
Идеальное компьютерное
Размер
538 Kb
Список файлов
Metodika__konstruirovaniia_uzlov_i_detale.doc

Спасибо за покупку! Я буду очень рад, если поставишь справедливую оценку купленному файлу