Для студентов МГТУ им. Н.Э.Баумана по предмету Дипломы и ВКРВКР / Дипломная работа (Э-8) на тему "Абляционный импульсный плазменный микродвигатель рельсовой геометрии"ВКР / Дипломная работа (Э-8) на тему "Абляционный импульсный плазменный микродвигатель рельсовой геометрии"
4,9959474
2021-10-162021-10-16СтудИзба
ВКР: ВКР / Дипломная работа (Э-8) на тему "Абляционный импульсный плазменный микродвигатель рельсовой геометрии"
Описание
Что в архиве:
Оформление квалификационной работы:
Расчетно-пояснительная записка на 60 листах формата А4.
Перечень графического (иллюстративного) материала (чертежи, плакаты, слайды и т.п.)
1. Лист А1 – Вводный лист
2. Лист А1 – Расчёт
3. Лист А1 – Сборочный чертёж
4. Лист А1 – Деталировка
5. Лист А1 – 3Д модель абляционного импульсного плазменного двигателя рельсовой геометрии
6. Лист А1 – 3Д модель АИПД и кубсат
7. Лист А1 – Принципиальная электрическая схема
Расчетно-пояснительная записка 60 с., 23 рис., 2 табл., 16 источников, 1 прил.
Абляционный импульсный плазменный микродвигатель рельсовой геометрии, использование абляционного импульсного плазменного двигателя в составе спутника типа кубсат, образование плазмы в разрядном канале абляционного импульсного плазменного двигателя.
Целью работы является разработка модели абляционного импульсного плазменного микродвигателя рельсовой геометрии для использования его в составе спутника типа кубсат. Разрабатываемый электроракетный двигатель (ЭРД) предназначен для использования в составе систем коррекции и ориентации КА различного назначения, а так же для решения маршевых задач (в рамках данной работы была рассмотрена маршевая задача, а именно – увод КА на орбиту захоронения). Тип данного двигателя предназначен для создания малой тяги. В рамках данной работы стояли следующие задачи:
СОДЕРЖАНИЕ
РЕФЕРАТ. 5
ВВЕДЕНИЕ. 7
1 Абляционные импульсные двигатели. 9
1.1 Абляционный импульсный плазменный двигатель рельсовой геометрии. 11
1.2 Характерные зоны плазменной струи в канале двигателя. 13
1.3 Образование магнитного поля в канале рельсотрона. 14
2 Расчёт абляционного плазменного двигателя и баллистический расчёт. 16
2.1 Расчёт основных параметров двигателя и плазмы.. 23
2.2 Баллистический расчёт. 31
3 Устройство поджига. 36
4 Электрическая схема преобразования и управления двигателем. 39
5 Спутник типа кубсат. 40
6 Разработка модели двигателя. 41
ЗАКЛЮЧЕНИЕ. 48
СПИСОК ИСПОЛЬЗОВАННЫХ ИСТОЧНИКОВ. 49
ПРИЛОЖЕНИЕ А.. 51
Электроракетные двигатели (ЭРД) на сегодняшний день используются в качестве неотъемлемых частей системы управления движением космических аппаратов. ЭРД в основном используются в качестве двигателей коррекции и дистанционного зондирования Земли (ДЗЗ) на низких орбитах. Со временем ЭРД начали так же использоваться для решения маршевых задач, то есть задачи по разработке двигательной установки для довыведения КА на геостационарную орбиту (ГСО). Данное нововведение позволило увеличить массу спутника на ГСО почти в 2 раза.
Существует ряд задач, которые выполняются КА. К этому ряду задач относится коррекция орбиты и положения аппарата в космосе (угол наклона, прецессия). Данную задачу эффективно могут решить специальные ДУ, которые дают высокий удельный импульс тяги и обеспечивают аппарату необходимую характеристическую скорость. Таким образом, большое внимание сейчас уделяется космическим аппаратам малого размера массой от 1 до 20 килограммов. Их эксплуатируют на околоземном пространстве. К таким космическим аппаратам можно отнести спутники ГЛОНАСС (глобальная навигационная спутниковая система), GPS (global positioning system). Для расширения спектра функционирования таких аппаратов необходимо управлять их движением. Ввиду этого были придуманы высокоэффективные малогабаритные двигатели коррекции и поддержания орбиты. На такой двигатель накладываются определённые ограничения по величине допустимой массы и потребляемой энергии. Она должна быть легкой и малогабаритной, и должна обладать высокой эффективностью в области потребляемой мощности до 25 Вт. У аппаратов такого типа существует ряд проблем, которые необходимо решать или поддерживать. К примеру:
Так же существует такая проблема, как очистка околоземных орбит от космического мусора. В последнее время это становится актуальной задачей. С каждым годом количество космических аппаратов, которые запускаются с Земли, растёт. Выходя из строя, они становятся космическим мусором, который так же нужно убирать. Если загрязнение космическим мусором будет продолжаться с таким же темпом как и сейчас, то к 2055 году запуск какого-либо космического аппарата будет очень рискованным [1]. Следует отметить, что увод космического аппарата с орбиты по окончании срока его существования, за исключением геостационарных спутников связи, на данный момент не используется. Большинство разработок находятся на проектной стадии.
1 Абляционные импульсные двигатели
Для начала были рассмотрены основные элементы любого импульсного плазменного двигателя:
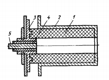
Рисунок 1 – Схема импульсного коаксиального) двигателя
1 – диэлектрик; 2- наружный электрод; 3 – внутренний электрод;
4 – изолятор; 5 – электрод поджига [3]

Расчетно-пояснительная записка на 60 листах формата А4.
Перечень графического (иллюстративного) материала (чертежи, плакаты, слайды и т.п.)
1. Лист А1 – Вводный лист
2. Лист А1 – Расчёт
3. Лист А1 – Сборочный чертёж
4. Лист А1 – Деталировка
5. Лист А1 – 3Д модель абляционного импульсного плазменного двигателя рельсовой геометрии
6. Лист А1 – 3Д модель АИПД и кубсат
7. Лист А1 – Принципиальная электрическая схема
РЕФЕРАТ
Расчетно-пояснительная записка 60 с., 23 рис., 2 табл., 16 источников, 1 прил.
Абляционный импульсный плазменный микродвигатель рельсовой геометрии, использование абляционного импульсного плазменного двигателя в составе спутника типа кубсат, образование плазмы в разрядном канале абляционного импульсного плазменного двигателя.
Целью работы является разработка модели абляционного импульсного плазменного микродвигателя рельсовой геометрии для использования его в составе спутника типа кубсат. Разрабатываемый электроракетный двигатель (ЭРД) предназначен для использования в составе систем коррекции и ориентации КА различного назначения, а так же для решения маршевых задач (в рамках данной работы была рассмотрена маршевая задача, а именно – увод КА на орбиту захоронения). Тип данного двигателя предназначен для создания малой тяги. В рамках данной работы стояли следующие задачи:
- Рассчитать основные характеристики АИПД рельсовой геометрии
- Провести баллистический расчёт
- Оценить возможность использования данного типа двигателей в составе спутников типа кубсат
- Оценить возможность использования АИПД для решения маршевых задач
СОДЕРЖАНИЕ
РЕФЕРАТ. 5
ВВЕДЕНИЕ. 7
1 Абляционные импульсные двигатели. 9
1.1 Абляционный импульсный плазменный двигатель рельсовой геометрии. 11
1.2 Характерные зоны плазменной струи в канале двигателя. 13
1.3 Образование магнитного поля в канале рельсотрона. 14
2 Расчёт абляционного плазменного двигателя и баллистический расчёт. 16
2.1 Расчёт основных параметров двигателя и плазмы.. 23
2.2 Баллистический расчёт. 31
3 Устройство поджига. 36
4 Электрическая схема преобразования и управления двигателем. 39
5 Спутник типа кубсат. 40
6 Разработка модели двигателя. 41
ЗАКЛЮЧЕНИЕ. 48
СПИСОК ИСПОЛЬЗОВАННЫХ ИСТОЧНИКОВ. 49
ПРИЛОЖЕНИЕ А.. 51
ВВЕДЕНИЕ
Электроракетные двигатели (ЭРД) на сегодняшний день используются в качестве неотъемлемых частей системы управления движением космических аппаратов. ЭРД в основном используются в качестве двигателей коррекции и дистанционного зондирования Земли (ДЗЗ) на низких орбитах. Со временем ЭРД начали так же использоваться для решения маршевых задач, то есть задачи по разработке двигательной установки для довыведения КА на геостационарную орбиту (ГСО). Данное нововведение позволило увеличить массу спутника на ГСО почти в 2 раза.
Существует ряд задач, которые выполняются КА. К этому ряду задач относится коррекция орбиты и положения аппарата в космосе (угол наклона, прецессия). Данную задачу эффективно могут решить специальные ДУ, которые дают высокий удельный импульс тяги и обеспечивают аппарату необходимую характеристическую скорость. Таким образом, большое внимание сейчас уделяется космическим аппаратам малого размера массой от 1 до 20 килограммов. Их эксплуатируют на околоземном пространстве. К таким космическим аппаратам можно отнести спутники ГЛОНАСС (глобальная навигационная спутниковая система), GPS (global positioning system). Для расширения спектра функционирования таких аппаратов необходимо управлять их движением. Ввиду этого были придуманы высокоэффективные малогабаритные двигатели коррекции и поддержания орбиты. На такой двигатель накладываются определённые ограничения по величине допустимой массы и потребляемой энергии. Она должна быть легкой и малогабаритной, и должна обладать высокой эффективностью в области потребляемой мощности до 25 Вт. У аппаратов такого типа существует ряд проблем, которые необходимо решать или поддерживать. К примеру:
- Обеспечение ориентации МКА.
- Поддержание МКА на низкой орбите.
- Угловая стабилизация.
- Увод на орбиту стабилизации или захоронения
Так же существует такая проблема, как очистка околоземных орбит от космического мусора. В последнее время это становится актуальной задачей. С каждым годом количество космических аппаратов, которые запускаются с Земли, растёт. Выходя из строя, они становятся космическим мусором, который так же нужно убирать. Если загрязнение космическим мусором будет продолжаться с таким же темпом как и сейчас, то к 2055 году запуск какого-либо космического аппарата будет очень рискованным [1]. Следует отметить, что увод космического аппарата с орбиты по окончании срока его существования, за исключением геостационарных спутников связи, на данный момент не используется. Большинство разработок находятся на проектной стадии.
1 Абляционные импульсные двигатели
Для начала были рассмотрены основные элементы любого импульсного плазменного двигателя:
- Накопитель электрической энергии (конденсатор)
- Система инициирования разряда (устройство поджига)
- Система хранения и подачи рабочего вещества (в АИПД это один и тот же канал)
- Электроды
- Достаточным уровнем тяговых характеристик при малой удельной массе
- Малой потребляемой мощностью
- Высокой надежностью
- Ресурсом до 108 — 109 выстрелов

1 – диэлектрик; 2- наружный электрод; 3 – внутренний электрод;
4 – изолятор; 5 – электрод поджига [3]


Файлы условия, демо
Характеристики ВКР
Предмет
Учебное заведение
Просмотров
59
Размер
18,08 Mb
Список файлов
АбдэлфатахТА-Э8-81Б-Акт.pdf
АбдэлфатахТА-Э8-81Б-Листы.pdf
АбдэлфатахТА-Э8-81Б-Направление на ГИА.pdf
АбдэлфатахТА-Э8-81Б-Презентация.pdf
АбдэлфатахТА-Э8-81Б-Презентация.pptx
АбдэлфатахТА-Э8-81Б-РПЗ.docx
АбдэлфатахТА-Э8-81Б-РПЗ.pdf
АбдэлфатахТА-Э8-81Б-Рецензия.pdf

Ваше экономие времени является моей ГЛАВНОЙ задачей! Если я Вам хоть чуть-чуть помог, пожалуйста, сделайте и мне приятное, оставьте 5 ЗВЁЗД и позитивный комментарий. Большое спасибо!