Детали машин и основы конструирования РУТ (МИИТ) Вариант 3283
Описание
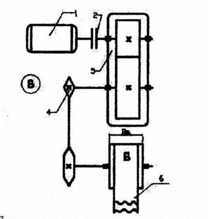
- Схема привода В
- Тип зубьев Прямые
- Частота вращения барабана nб= 63 мин-1;
- Число полюсов электродвигателя p= 6;
- Номинальная нагрузка на барабане Tб= 2500 Нм;
- Срок службы привода Lh= 20000 ч;
- Число смен в сутки nсм=3;
- Перегрузка Кмах=1,25;
- Пусковая перегрузка Кпуск=1.2;
- Относительное время работы: l1=0,5; l2=0,2; l3=0,2.
Показать/скрыть дополнительное описаниеДетали машин и основы конструирования РУТ (МИИТ) Вариант 3283 Схема привода В Тип зубьев Прямые Частота вращения барабана nб= 63 мин-1; Число полюсов электродвигателя p= 6; Номинальная нагрузка на барабане Tб= 2500 Нм; Срок службы привода Lh= 20000 ч; Число смен в сутки nсм=3; Перегрузка Кмах=1,25; Пусковая перегрузка Кпуск=1.2; Относительное время работы: l1=0,5; l2=0,2; l3=0,2. ЭНЕРГЕТИЧЕСКИЕ И КИНЕМАТИЧЕСКИЕ РАСЧЕТЫ ПРИВОДА5 1.1Выбор электродвигателя мощность на барабане конвейера5 1.2Кинематический расчет привода6 2РАСЧЕТ ЗУБЧАТОЙ ПЕРЕДАЧИ8 2.1Выбор материалов и допускаемых напряжений8 2.2Проектный расчет цилиндрической зубчатой передачи11 2.3Проверочный расчет цилиндрической зубчатой передачи14 3КОНСТРУИРОВАНИЕ ОСНОВНЫХ ДЕТАЛЕЙ РЕДУКТОРА17 3.1Конструирование валов17 3.2Расчет шпоночных соединений19 3.3Конструирование зубчатых колес20 3.4Предварительный выбор подшипников качения20 4РАСЧЕТ РЕМЕННОЙ ПЕРЕДАЧИ22 Кафедра машиноведения, проектирование, стандартизации и спецификации.
Вариант 7178.
РУТ (МИИТ)
wershak

















