Для студентов МГТУ им. Н.Э.Баумана по предмету Детали машин (ДМ)Детмаш СМ7 Курсовой проект Вар 24 (Поворотное колесо) с исходникамиДетмаш СМ7 Курсовой проект Вар 24 (Поворотное колесо) с исходниками
5,0051
2021-06-272021-06-27СтудИзба
Курсовая работа: Детмаш СМ7 Курсовой проект Вар 24 (Поворотное колесо) с исходниками
Описание
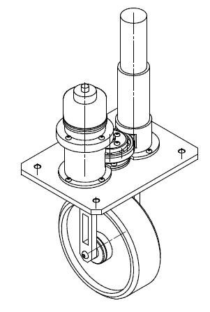
Вариант 24 "Привод поворота колеса трехколесной транспортной платформы"
Есть все 3д модели всех деталей, РПЗ, сборка, чертежи. В readme добавил небольшие косяки которые были найдены на защите.
В РПЗ есть расчет выбора двигателя, зубчатой передачи, шпоночного паза, вала, подшипников.
Есть все 3д модели всех деталей, РПЗ, сборка, чертежи. В readme добавил небольшие косяки которые были найдены на защите.
В РПЗ есть расчет выбора двигателя, зубчатой передачи, шпоночного паза, вала, подшипников.
Характеристики курсовой работы
Предмет
Учебное заведение
Семестр
Просмотров
100
Качество
Идеальное компьютерное
Размер
20,19 Mb
Список файлов
Плотников Д.О
README.txt
Зубчатое колесо _ СМ763.42.00.pdf
Основной вал _ СМ763.24.00.pdf
Плита _ СМ763.24.00.pdf
Зубчатое колесо _ СМ763.42.00.pdf
Основной вал _ СМ763.24.00.pdf
Плита _ СМ763.24.00.pdf
РПЗ.pdf
Сборочный чертеж СМ763.24.00.00СБ.pdf
Спецификация_СМ763.24.00.pdf
Стакан датчика угла 1 _ СМ763.24.00.pdf
Стакан датчика угла 2 _ СМ763.24.00.pdf
Стакан двигателя.pdf
Стакан подшипников _ СМ763.24.00.pdf
Шестерня двигателя _ СМ763.24.00.pdf
Плотников СМ7-63Б КП Вар 24.zip
РПЗ.pdf
Сборочный чертеж СМ763.24.00.00СБ.pdf
Спецификация_СМ763.24.00.pdf
Стакан датчика угла 1 _ СМ763.24.00.pdf
Стакан датчика угла 2 _ СМ763.24.00.pdf
Стакан двигателя.pdf
Стакан подшипников _ СМ763.24.00.pdf
Шестерня двигателя _ СМ763.24.00.pdf
DS0.8-56_10_беззубый.m3d
DS0.8-56_10_беззубый.m3d.bak
DS0.8-56_10_беззубый_на_колесо.m3d
DS0.8-56_10_беззубый_на_колесо.m3d.bak
DS0.8-56_On.m3d
DS0.8-56_On.m3d.bak
rpz (1).docx
Вал Колеса.m3d
Вал Колеса.m3d.bak
Вал датчика угла.m3d
Вал датчика угла.m3d.bak
Вилка колеса.m3d
Вилка колеса.m3d.bak
Зубчатое колесо _ СМ763.42.00.08.cdw
Зубчатое колесо _ СМ763.42.00.08.cdw.bak
Колесо_поворотное.m3d
Комментарии
Нет комментариев
Стань первым, кто что-нибудь напишет!
МГТУ им. Н.Э.Баумана
vk_70742838
















