Курсовая работа: Разработка технических требований к сборочной единице
Описание
РЕФЕРАТ
Курсовая работа: 28 страниц, 17 рисунков, 2 таблицы, 5 приложений.
Объект работы: выходной вал одноступенчатого цилиндрического редуктора.
Цель работы: разработать и обосновать технические требования сборочной единицы, её номинальные и допустимые размеры.
В курсовой работе описана сборочная единица, обоснованы и определены посадки гладких цилиндрических соединений, посадки подшипников качения, шлицевых и резьбовых соединений, рассчитали размерную цепь, а также привели чертежи, по заданию.
УЗЕЛ, ВАЛ, КОЛЕСО, ПОДШИПНИК, ШПОНКА, ДОПУСК, ПОСАДКА, КАЛИБР, РАЗМЕРНАЯ ЦЕПЬ, ШЕРОХОВАТОСТЬ.
Содержание
Введение
- Описание сборочной единицы…………………………………………….6
- Обоснование и выбор посадок ГЦС………………………………............8
- Расчет и выбор посадок подшипников качения………………………...14
- Проектирование для заданного ГЦС предельных калибров…………...17
- Размерный анализ сборочной единицы,
составление размерной цепи……………………………………………..20
- Обоснование и выбор посадок шпоночных соединений……………….22
- Обоснование технических требований к деталям……………………....24
- Выбор универсальных измерительных средств………………………...27
Вывод
Список литературы
Приложение А
Приложение Б
Приложение В
Приложение Г
Приложение Д
Введение
Принципы взаимозаменяемости являются основами современного машиностроения. С их помощью осуществляется сборка независимо изготовленных деталей в узел, а узлов в машину без дополнительных операций обработки и пригонки.
Для обеспечения взаимозаменяемости на номинальные размеры деталей накладываются ограничения в соответствии с ЕСДП согласующимися со стандартами ISO.
Выполнение требований точности к деталям и сборочным единицам изделий является важным требованием к обеспечению взаимозаменяемости. Поэтому выполнение заданных требований к детали является обязательным условием решения сборочной задачи конструирования и проектирования механизмов.
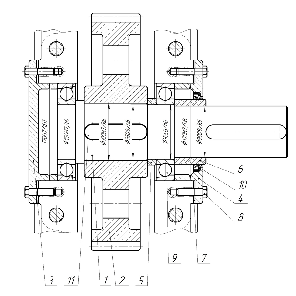
1. Описание сборочной единицы
Рисунок 1 - Выходной вал одноступенчатого цилиндрического редуктора
Выходной вал одноступенчатого цилиндрического косозубого редуктора предназначен для передачи крутящего момента от входного вала редуктора посредством косозубой цилиндрической передачи с эвольвентным профилем зубьев. Крутящий момент передается от входного ведущего цилиндрического косозубого вала-шестерни через зацепление на ведомое цилиндрическое косозубое колесо, с ведомого колеса посредством призматической шпонки, воспринимающей усилие от граней паза ступицы колеса и передающей его своими боковыми гранями граням паза тихоходного вала. Далее момент может передаваться с выходного конца через призматическую шпонку муфте и далее по кинематической цепи.
Колесо на валу крепится при помощи шпоночного соединения и переходной посадки на цилиндрической поверхности, с левой стороны оно фиксируется от осевого смещения упорным буртиком и базируется по цилиндрической поверхности, с правой стороны от осевого смещения колесо фиксируется дистанционным кольцом, базирующимся по торцу, которое в свою очередь упирается во внутреннее кольцо подшипника. Для фиксации наружных колец подшипников в расточки подшипниковых окон редуктора вставляются торцовые крышки, базирующиеся по торцу окна, и крепятся винтами. Для регулировки зазора между телами качения и беговыми дорожками подшипников предусмотрен набор прокладок под торцовые крышки. Регулировка осуществляется подшлифовкой прокладок.
Вал монтируется на дух шариковых однорядных радиально-упорных подшипниках 6-36219 с углом контакта 12° по ГОСТ831-75. Подшипники нагружены радиальной нагрузкой и осевой силой, возникающей в косозубом зацеплении.
Монтаж сборочной единицы производится следующим образом: в пазы вала поз.1 устанавливается призматическая шпонка поз.11, напрессовывается колесо поз.2, устанавливается дистанционное кольцо поз.5, напрессовываются предварительно нагретые в масле подшипники поз.9, устанавливается дистанционная втулка поз.6. После чего вал в сборе устанавливается в корпус редуктора, устанавливается на штифты крышка корпуса редуктора и крепится с помощью стяжных болтов. Далее производится регулировка подшипников с помощью торцовых крышек и набора прокладок, крышки окончательно крепятся винтами.
all_at_700












