Глава IV (970840)
Текст из файла
Глава IV. Обработка отверстий
1. Виды отверстий и способы их обработки
Отверстия в деталях приборов бывают цилиндрические (Рис. 64 а, в, г), ступенчатые (Рис. 64 б, д), конические и фасонные (Рис. 64, е).
Ц
илиндрические отверстия бывают гладкими (Рис. 64, а) и с канавкой (Рис. 64, в).
Под ступенчатыми подразумевают отверстия разных диаметров, расположенные на одной оси последовательно одно за другим.
Отверстия могут быть открытыми с двух сторон или с одной стороны – последние называются глухими (Рис. 64 г, д).
В деталях приборов чаще всего встречаются отверстия цилиндрические.
Обработка отверстий - одна из сложных и трудоемких технологических операций. Получить отверстие необходимой точности труднее, чем наружные поверхности тел вращения. Поэтому допуски отверстий шестого и седьмого квалитетов больше, чем допуски на наружные цилиндрические поверхности тех же размеров и квалитетов.
Обрабатывать отверстия можно снятием и без снятия стружки. Снимать стружку можно лезвийным и абразивным инструментом или абразивным порошком.
В зависимости от требуемых точности размера и шероховатости поверхности отверстия лезвийным инструментом можно выполнять сверление, зенкерование, развертывание, растачивание и протягивание;
Абразивным инструментом осуществляют шлифование, хонингование, суперфиниширование; абразивным порошком - доводку.
Обработка отверстий без снятия стружки производится калиброванием при помощи выглаживающих прошивок и шариков, а также раскатыванием.
Неточные отверстия (H12-H13 квалитетов) обрабатывают за одну операцию путем сверления или чернового растачивания. При образовании точных отверстий (H7-H8 квалитетов) обработка делится на черновую, чистовую и отделочную.
При черновой обработке удаляется основная величина припуска и обеспечивается точность относительного положения оси отверстия.
Чистовая обработка обеспечивает точность размеров, геометрической формы и относительного положения отверстия, а также точность положения и прямолинейность его оси.
Для повышения точности отверстия и уменьшения шероховатости поверхности применяют отделочную операцию.
2. Сверление, зенкерование, развертывание
Сверление - один из распространенных способов получения глухих и сквозных цилиндрических отверстий в сплошном материале с точностью H12-H13 квалитетов и шероховатостью поверхности Rr20 - Rr80.
Р
ежущим инструментом здесь служит сверло, которое дает возможность получать отверстия в сплошном материале и увеличивать диаметр ранее полученного отверстия (рассверливание). Главное движение при сверлении - вращательное, движение подачи поступательное.
Спиральное сверло (Рис. 65, а) - инструмент цилиндрической формы, на поверхности которого имеются две винтовые канавки, образующие режущие кромки. Сверло состоит из рабочей части и хвостовика, соединенных между собой шейкой. Хвостовик служит для закрепления сверла в патроне или шпинделе станка. Хвостовики бывают конические и цилиндрические.
Рабочая часть сверла выполняет основную работу резания. Режущие кромки образуются пересечением передних поверхностей спиральных канавок с торцевыми поверхностями сверла.
Поперечная кромка (перемычка) образуется пересечением двух задних (торцевых) поверхностей сверла. Наличие ее отрицательно влияет на процесс резания, затрудняя проникновение сверла в металл.
Основным углом, определяющим форму режущей кромки сверла является угол при вершине 2φ. Он оказывает влияние на правильность работы и производительность сверла. Величина угла при вершине сверла 2φ зависит от свойств обрабатываемого материала: например для стали 2φ = 116-120°, а для латуни и алюминиевых сплавов 2φ = 130-140°.
Оборудование для сверления.
Р
азличают два основных способа сверления: 1) на станках сверлильной группы - движение резания и движение подачи осуществляет сверло, 2) на станках токарной группы - движение резания осуществляется при вращении обрабатываемой детали, а движение подачи - перемещением сверла. При сверлении глубоких отверстий обработка часто производится при совместном встречном вращении детали и сверла.
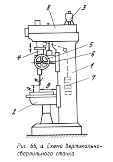
В приборостроении наибольшее распространение получили вертикально-сверлильные (Рис. 66, а) и настольно-сверлильные станки (Рис. 66, б).
Вертикально-сверлильные станки предназначаются для сверления, зенкерования, развертывания отверстий в деталях, а также нарезания резьб машинными метчиками.
Основным узлом вертикально-сверлильного станка (Рис. 66, а) является сверлильная головка (шпиндельная бабка) 4. Головка монтируется, на колонне 2 сверху. Снизу на колонне установлен стол 8, который может перемещаться вверх-вниз по направляющим колонны при вращении, рукоятки 9 подъема стола. Шпиндель 7 приводится во вращение электродвигателем 3 через механизм головки 8, которым можно изменять число оборотов шпинделя. Ручная подача шпинделя осуществляется штурвалом 3.
Сверление по второму способу осуществляется на токарных, токарно-револьверных и других станках. При сверлении на токарном станке деталь закрепляется в патроне, а сверло устанавливается в пиноли задней бабки.
Особенности процесса сверления.
П
ри первом способе обработки, когда ось сверла совпадает с направлением подачи, но не совпадает с осью наружной поверхности детали (Рис. 67, а), подача сверла будет осуществляться под углом по отношению к оси детали, и потому ось отверстия займет неправильное положение, т.е. произойдет увод оси. Отверстие в этом случае сохраняет цилиндричность.
При обработке по второму способу при несовпадении оси сверла с осью детали отверстие будет иметь переменный по длине диаметр. Это объясняется тем, что при отклонении оси сверла от оси вращающейся детали диаметр отверстия будет определяться уже не радиусом сверла, а расстоянием от оси вращения до наиболее удаленной точки на периферии сверла (Рис. 67, б). Так как это расстояние по мере движения сверла все время увеличивается, то и диаметр отверстия тоже будет возрастать и отверстие примет коническую форму. С другой стороны, вращение детали приводит к самоцентрированию сверла, так как боковое давление на сверло со стороны стенки отверстия уже не будет уравновешено давлением с противоположной стороны, как это бывает при невращающейся детали. За счет разности этих боковых давлений сверло будет стремиться занять такое положение, при котором его ось совпала бы с осью вращения детали.
Следовательно, при обработке отверстий с вращением детали увод оси сверла от нужного направления будет меньше, чем при сверлении с вращением инструмента. Однако в большинстве случаев отверстия обрабатывают на станках сверлильной группы, т.е. с вращением инструмента. На этих станках легче обеспечить получение требуемой скорости резания благодаря вращению уравновешенного шпинделя с инструментом и не приходится прибегать к соответствующим мерам для балансирования вращающихся масс станка.
Для уменьшения увода оси сверла при обработке на сверлильных станках применяют кондукторы с направляющими втулками. Обработка в кондукторах дает хорошие результаты при относительно небольшой длине отверстия. С увеличением длины отверстия вследствие значительного свободного вылета режущей части сверла влияние направляющей втулки оказывается недостаточным.
Д
ля уменьшения увода оси сверла при обработке отверстий в сплошном металле на револьверных станках и автоматах перед сверлением рекомендуется произвести центрование - засверливание углублений небольшой длины коротким и жестким сверлом (Рис. 68, а).
Угол при вершине 2φ у этого сверла должен быть меньше, чем у спирального. Обычно он составляет 90°. Предварительное центрование заготовок обеспечивает более точное направление сверла, так как его перемычка не будет участвовать в работе (Рис. 68, б).
Уменьшению увода оси сверла также способствует уменьшение осевого усилия. Поэтому целесообразно применять сверла с подточенной перемычкой, а при малых диаметрах их работать с малыми подачами и большими скоростями резания.
При работе сверлами больших диаметров (35-40 мм) из-за наличия у вершины сверла перемычки большой длины возникают значительные осевые усилия. Поэтому отверстия больших диаметров сверлят за два прохода - сначала сверлом меньшего диаметра, а затем требуемого. Чтобы перемычка второго сверла не участвовала в работе, а также для более равномерного распределения работы резания между обоими сверлами диаметр первого сверла d1 выбирают равным (0,5-0,6)d2 ,где d2 - диаметр второго сверла.
При сверлении отверстий малых диаметров (менее 6-8 мм) также приходится считаться с необходимостью уменьшения осевого усилия в связи с недостаточной прочностью и жесткостью сверла. В этих случаях целесообразно работать с большой скоростью резания при небольших подачах.
Методы обработки на сверлильных станках
Точность расположения центров отверстий относительно друг друга или по отношению к поверхностям детали зависит от метода сверления.
Сверление отверстий по разметке. Ось шпинделя с инструментом и центр просверливаемого отверстия совмещают установкой сверла по керновому углублению, нанесенному при разметке.
Точность расстояния между осями отверстий при сверлении по разметке составляет -(0,2-0,5) мм. В отдельных случаях она может быть повышена до - 0,1 мм.
Сверление на координатных столах. Для увеличения точности обработки отверстий в условиях единичного или мелкосерийного производства вместо сверления по разметке в приборостроении часто применяют координатные столы, позволяющие перемещать по двум осям координат с высокой точностью, осуществлять поворот детали вокруг ее оси, если расстояния между центрами отверстий заданы в полярной систем координат.
Совместное сверление. В условиях мелкосерийного производства, чтобы устранить несовпадение осей отверстий в сопрягаемых деталях при сборке, применяют совместное сверление по месту. В одной из сопрягаемых деталей сверлят отверстия по разметке, а отверстия в другой детали просверливаются через отверстия в первой.
Сверление в приспособлениях (кондукторах). При сверлении в приспособлениях (Рис. 69) занимает определенное положение относительно направляющей втулки 2, через которую проходит инструмент. При этом втулка стабилизирует положение сверла относительно детали и предотвращает его увод. Конструкции сверлильных приспособлений очень разнообразны и зависят от типа производства и требуемой точности обработки.
При работе по кондуктору обычной точности точность расстояния между осями отверстий диаметром от 3 до 80 мм составляет ±(0,06 - 0,20) мм, а при работе по кондуктору повышенной точности ± (0,04 - 0,10) мм.
Сверление с предварительным кернением. Предварительное накернивание осуществляется специальным штампом. При сверлении по кернам точность межосевого расстояния выше, чем при сверлении по кондукторам, так как к погрешностям изготовления самого кондуктора добавляется погрешность сверления обусловленная наличием зазора между сверлом и отверстием кондукторной втулки.
Зенкерование. Зенкерование служит для увеличения диаметра предварительно подготовленного отверстия (литого, штампованного, просверленного). Для получения отверстий точностью до H11 с шероховатостью поверхности до Ra 2,5 операция зенкерования может быть окончательной и предварительной - перед развертыванием. Зенкерование применяют также для обработки фасок, цилиндрических и конических углублений под головки заклепок, винтов и болтов и зачистки торцовых поверхностей.
Инструмент. В зависимости от назначения зенкеры подразделяются на спиральные, цилиндрические и конические.
Характеристики
Тип файла документ
Документы такого типа открываются такими программами, как Microsoft Office Word на компьютерах Windows, Apple Pages на компьютерах Mac, Open Office - бесплатная альтернатива на различных платформах, в том числе Linux. Наиболее простым и современным решением будут Google документы, так как открываются онлайн без скачивания прямо в браузере на любой платформе. Существуют российские качественные аналоги, например от Яндекса.
Будьте внимательны на мобильных устройствах, так как там используются упрощённый функционал даже в официальном приложении от Microsoft, поэтому для просмотра скачивайте PDF-версию. А если нужно редактировать файл, то используйте оригинальный файл.
Файлы такого типа обычно разбиты на страницы, а текст может быть форматированным (жирный, курсив, выбор шрифта, таблицы и т.п.), а также в него можно добавлять изображения. Формат идеально подходит для рефератов, докладов и РПЗ курсовых проектов, которые необходимо распечатать. Кстати перед печатью также сохраняйте файл в PDF, так как принтер может начудить со шрифтами.














