целиком (970527), страница 2
Текст из файла (страница 2)
Уровень t>1200 C – клапан переключается.
Емкость печи 200-900 т
Производительность зависит от площади пода: 10 т/час, 10-12 ч
| Шихтовые материалы: Передельный чугун 55% Стальной лом 35% Железная руда 10% Ферросплавы (FeMn, FeSi) Флюс (известь) | Основные металлургические законы: 1). Реакции, происходящие при пониженные температурах, идут с повышением теплоты. 2). В первую очередь, в шихте окисляются те элементы, концентрации которых максимальны. 3). Отношение оксидов в шлаке к оксидам в металле = const. |
Порядок протекания процессов:
1). Окисление железа: 2Fe+O2→2FeO+Q
2). Через шлак начинают окисляться примеси:
Si+FeO→Fe+SiO2+Q; Mn+FeO→Fe+MnO+Q; 2P+5FeO→5Fe+P2O5
Оксиды остаются в шлаке (наведение шлаков)
3). Удаление фосфора и серы.
FeO+P2O5→(FeO)3P2O5; (FeO)3P2O5+CaO→Ca(CO)4P2O5+Fe
Шлак сливается, ванна разогревается до 1600 С. Соединение серы с кальцием.
4). Кипение (интенсивное соединение: C+FeO→Fe+CO
Окисление, пока не достигнет данного содержания углерода. После
5). Добавление ферросплавов FeSi, FeMn
6). Раскисление стали (бывает полное и неполное). По степени раскисления, стали: спокойные (полностью раскислениые), полуспокойные, кипящие (если слили сразу).
Основной процесс в мартеновской печи:
1). Загрузка железной руды и известняка, заливка чугуна. Период плавления: оксисление Si, P, Mn. Оксиды SiO2, P2O5,MnO,CaO образуют шлак.
2). Период кипения ванны: вспенивание и удаление шлака. Из металла удаляется сера. Металл доводится до неоьходимого химического состава.
3). Раскисление металла, выпуск металла.
Основной мартеновский процесс: выплавляют конструкционные, низко- и среднелегированные стали.
Кислый мартеновский процесс – им выплавляют качественные стали. Шихта с низким содержанием P и S. Кислые стали имеют лучшие механические свойства, ударную вязкость и пластичность. (меньше H2, C, N2, S). Применяют для ответственных сталей.
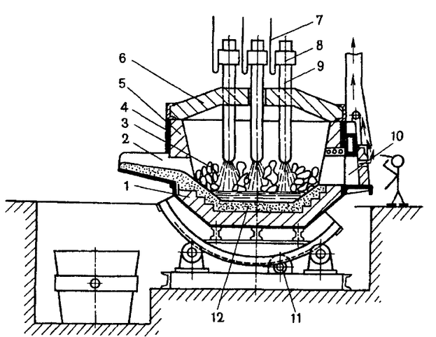
10) Электродуговая печь
Работает на трёхфазном переменном токе и имеет 3 цилиндрических электрода из графитизированной массы. Во время работы печи между электродами и шихтой возникает электрическая дуга, электроэнергия превращается в теплоту, которая передаётся металлу и шлаку излучением. Во время работы длина дуги регулируется автоматически. Можно осуществлять плавку двух видов: на шихте из легированных отходов и на углеродистой шихте. Плавку на шихте из легированных отходов ведут без окисления примесей. Плавку на углеродистой шихте проводят в случае, если используемые шихтовые материалы содержат фосфор и значительно отличаются по составу других элементов по заданной марки стали.
В печь загружают стальной лом (90%), 8-10% передельный чугун, 2-3% извести и кокса.
При выплавке легированных сталей в дуговых печах в сталь вводят легирующие элементы в виде ферросплавов. В электродуговых печах выплавляют высококачественные углеродистые стали-конструкционные, инструментальные, жаропрочные и жаростойкие.
11) Способы снижения содержания газов в стали:
1) Обработка металла синтетическим шлаком
Синтетический шлак выплавляют и заливают в ковш . В этот же ковш заливают сталь. При перемешивании поверхность контакта резко возрастает и реакции протекают гораздо быстрее., чем в плавильной печи. Таким образом понижают содержание кислорода и примесей.
2) Вакуумирование стали
Вакуумирование стали производят для понижения концентрации водорода, кислорода, азота и неметаллических включений. Вакуумирование может быть: в ковше, циркуляционное и поточное, струйное и порционное. При вакуумной обработке стали происходит раскисление углеродом, т.к. при снижении давления в камере концентрации углерода и кислорода становятся избыточными и появляется возможность окисления углерода. Вакуумирование сопровождается кипением металла.
3) Вакуумно-дуговой переплав
| Применяют для удаления газов и неметаллических включений. При подаче напряжений между расходуемым электродом-катодом и затравкой-анодом возникает дуга. Выделяющаяся теплота расплавляет конец электрода. Капли жидкого металла проходя зону дугового разряда дегазируются. |
12) Электрошлаковый переплав стали.
Применяют для выплавки высококачественных сталей для шарикоподшипников, жаропрочных сталей для дисков и лопаток турбин, валов компрессоров, авиационных конструкций. Переплаву подвергают выплавленный в дуговой печи и прокатанный на круглые прутки металл.
Источником теплоты является шлаковая ванна., нагреваемая при прохождении через неё электрического тока. Электрический ток подводится к переплавляемому электроду , погруженному в шлаковую ванну и к поддону, установленному в водоохлаждаемом металлическом кристаллизаторе., в котором находится затравка. Выделяющаяся теплота нагревает шлаковую ванну до температуры свыше 1700 градусов и вызывает оплавление конца электрода. Капли жидкого металла проходят через шлак, образуют под шлаковым слоем металлическую ванну.
В результате ЭШП содержание кислорода снижается в 1,5-2 раза, концентрация серы- в 2-3 раза, уменьшается содержание неметаллических включений. Слиток отличается плотностью, однородностью , хорошим качеством поверхности благодаря наличию шлаковой корочки. Слитки выплавляют круглого, квадратного и прямоугольного сечений массой до 110т.
13. Вакуумно-дуговой переплав. Схема процесса и технологические возможности.
14. Выплавка стали в индукционных электрических печах. Технологические возможности.
15. Вакуумирование стали переливом (схемы). Технологические возможности.
16). Обработка металла синтетическим шлаком.
Синтетический шлак, состоящий из 55 % СаО, 40 % Al2O3, небольшого количества SiO2, MgO и минимума FeO, выплавляют в электропечи и заливают в ковш. (Рис. а)
В этот же ковш затем заливают сталь (рис. б). При перемешивании стали и шлака поверхность их взаимодействия резко возрастает, и реакции между ними протекают гораздо быстрее, чем в плавильной печи. Благодаря этому, а также низкому содержанию оксида железа в шлаке сталь, обработанная таким способом, содержит меньше серы, кислорода и неметаллических включений, улучшаются пластичность и прочность. Такие стали применяют для изготовления ответственных деталей машин.
17). Вакуумирование стали
Проводят для понижения концентрации кислорода, водорода, азота и неметаллических включений. Для вакуумирования используются различные способы, например вакуумирование в ковше, циркуляционное и поточное вакуумирование, струйное и порционное вакуумирование и др.
При вакуумной обработке стали происходит раскисление углеродом, так как при снижении давления в камере концентрации углерода и кислорода становятся избыточными и появляется термодинамическая возможность протекания реакции окисления углерода. Вакуумирование стали сопровождается кипением металла. Для примера рассмотрим вакуумирование стали в ковше, циркуляционное и поточное вакуумирование.
| Вакуумирование стали в ковше (рис. а) осуществляется в камере 1, в которую устанавливается ковш 2 со сталью, после чего камеру герметично закрывают крышкой 3 и соединяют с работающим вакуум-насосом. На крышке камеры предусмотрен бункер 4 для ферросплавов. При достижении разрежения с остаточным давлением 0,267…0,667 кПа металл закипает, что свидетельствует о начале дегазации. Длительность обработки зависит от температуры стали в ковше и ее массы и составляет 10 ... 20 мин. По окончании обработки камеру соединяют с атмосферой, открывают камеру и ковш со сталью увозят на разливку. | |
| Поточное вакуумирование стали осуществляется при непрерывной разливке. На рис. в - схема вакуумной обработки стали с промежуточной вакуум-камерой. Разливочный ковш 1 со сталью герметически устанавливают на вакуумную камеру 2, патрубок 3 погружен в металл промежуточного ковша 4. Сталь из промежуточного ковша поступает в кристаллизатор 5, из которого вытягивается слиток 6. Этим способом при непрерывной разливке вакуумируют как спокойную, так и низкоуглеродистую кипящую сталь, получая плотные слитки. |
18. Способы разливки стали в изложницы
Выплавленную сталь выпускают из плавильной печи в разливочный ковш, из которого се разливают в изложницы или кристаллизаторы машины для непрерывного литья заготовок (МНЛЗ). В изложницах или кристаллизаторах сталь затвердевает, и получаются слитки, которые подвергают прокатке, ковке.
Изложницы - чугунные формы для изготовления слитков. Изложницы выполняют с квадратным, прямоугольным, круглым и многогранным поперечными сечениями.
| Слитки квадратного сечения переделывают на сортовой прокат (двутавровые балки, швеллеры, уголки и т.д.). Слитки прямоугольного сечения переделывают на лист. Из слитков круглого сечения изготовляют трубы, колеса. Многогранные слитки используют для поковок. Для прокатки отливают слитки массой 200 кг…25 т; для поковок - массой 300 т и более. Обычно углеродистые спокойные и кипящие стали разливают в слитки массой до 25 т, легированные и высококачественные стали - в слитки массой 500 кг ... 7 т, а некоторые сорта высоколегированных сталей - в слитки массой несколько кг. Сталь разливают в изложницы сверху, снизу (сифоном) и на МНЛЗ. В изложницы сверху (рис. а) сталь разливают непосредственно из ковша. Сифонная разливка (рис. б) сталью заполняют несколько изложниц (4 ... 60). Изложницы устанавливают на поддоне 6, в центре которого располагается центровой литник 3, футерованный огнеупорными трубками 4, соединенный каналами 7 с изложницами. Жидкая сталь 2 из ковша 1 поступает в центровой литник и снизу плавно, без разбрызгивания заполняет изложницу 5. Поверхность слитка получается чистой, можно разливать большую массу металла одновременно в несколько слитков. Для обычных углеродистых сталей используют разливку сверху, а для легированных и высококачественных - разливку сифоном. |
19. Схема непрерывной разливки стали. Преимущества этого способа разливки стали.
Выплавленную сталь выпускают из плавильной печи в разливочный ковш, из которого её разливают в изложницы или кристаллизаторы машин для непрерывного литья заготовок (МНЛЗ).
Н
епрерывная разливка стали состоит в том, что жидкую сталь из ковша 1 через промежуточное устройство 2 непрерывно подают в водоохлаждаемый кристаллизатор 3, из нижней части которого вытягивается затвердевающий слиток 4. Перед заливкой металла в кристаллизатор вводят затравку, образующую его дно. Жидкий металл, попадая в кристаллизатор и на затравку, охлаждается, затвердевает, образуя корку, и соединяется с затравкой. Затравка тянущими валками 5 вытягивается из кристаллизатора вместе с затвердевающим слитком, сердцевина которого еще жидкая.















