10 (970500)
Текст из файла
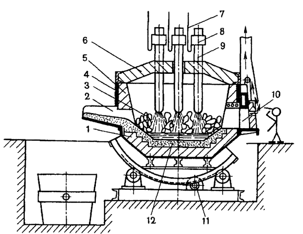
10) Электродуговая печь
Работает на трёхфазном переменном токе и имеет 3 цилиндрических электрода из графитизированной массы. Во время работы печи между электродами и шихтой возникает электрическая дуга, электроэнергия превращается в теплоту, которая передаётся металлу и шлаку излучением. Во время работы длина дуги регулируется автоматически. Можно осуществлять плавку двух видов: на шихте из легированных отходов и на углеродистой шихте. Плавку на шихте из легированных отходов ведут без окисления примесей. Плавку на углеродистой шихте проводят в случае, если используемые шихтовые материалы содержат фосфор и значительно отличаются по составу других элементов по заданной марки стали.
В печь загружают стальной лом (90%), 8-10% передельный чугун, 2-3% извести и кокса.
При выплавке легированных сталей в дуговых печах в сталь вводят легирующие элементы в виде ферросплавов. В электродуговых печах выплавляют высококачественные углеродистые стали-конструкционные, инструментальные, жаропрочные и жаростойкие.
Характеристики
Тип файла документ
Документы такого типа открываются такими программами, как Microsoft Office Word на компьютерах Windows, Apple Pages на компьютерах Mac, Open Office - бесплатная альтернатива на различных платформах, в том числе Linux. Наиболее простым и современным решением будут Google документы, так как открываются онлайн без скачивания прямо в браузере на любой платформе. Существуют российские качественные аналоги, например от Яндекса.
Будьте внимательны на мобильных устройствах, так как там используются упрощённый функционал даже в официальном приложении от Microsoft, поэтому для просмотра скачивайте PDF-версию. А если нужно редактировать файл, то используйте оригинальный файл.
Файлы такого типа обычно разбиты на страницы, а текст может быть форматированным (жирный, курсив, выбор шрифта, таблицы и т.п.), а также в него можно добавлять изображения. Формат идеально подходит для рефератов, докладов и РПЗ курсовых проектов, которые необходимо распечатать. Кстати перед печатью также сохраняйте файл в PDF, так как принтер может начудить со шрифтами.















