Лабораторная работа №5 (967102)
Текст из файла
Балтийская Государственная Академия
Рыбопромыслового флота
Кафедра «ТМ и СР»
1. Цель работы:
1.1 Изучить устройство токарно-винторезного станка
1.2 Ознакомиться с основными работами, выполняемыми на токарно-винторезных станках.
1.3 Заэскизировать схемы основных работ, выполняемых на токарно-винторезных станках.
1.4 Произвести расчёт элементов режима резания.
1.5 Произвести настройку станка 1К62 на обработку детали по расчётным данным.
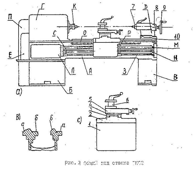
2. Устройство токарно-винторезного станка:
Основные элементы:
- станина А
- передняя и задняя тумбы (Б и В)
- передняя и задняя бабки (Г и D)
механизм подачи
- гитара сменных шестерен Е
- коробка подач Л
- ходовой вал Н
- ходовой винт М
суппорт
- фартук 1
- продольные салазки 2
- поперечные салазки 3
- поворотные салазки 5
- диск 4
- резцедержатель 6
станина
- направляющие: 2 внешние Q, и 2 внутренние б
- шпиндель К
задняя бабка:
- корпус 8
- пиноль 7
- опорная плита 10
- штурвал 9
электродвигатель:
- закрытый кожух П
- рукоятка Р и С
3. Работы выполняемые на токарно-винторезных станках:
На токарно-винторезных станках обрабатываются наружные и внутренние цилиндрические, конические и фасонные поверхности, подрезается торец детали, производится прорезка канавок и отрезка детали, сверление, зенкование, зенкерование и развёртывание отверстий, нарезание резьбы резцом, гребенкой, с помощью вихревой головки, метчиком и плашкой. (рис. 2)
Характеристики
Тип файла документ
Документы такого типа открываются такими программами, как Microsoft Office Word на компьютерах Windows, Apple Pages на компьютерах Mac, Open Office - бесплатная альтернатива на различных платформах, в том числе Linux. Наиболее простым и современным решением будут Google документы, так как открываются онлайн без скачивания прямо в браузере на любой платформе. Существуют российские качественные аналоги, например от Яндекса.
Будьте внимательны на мобильных устройствах, так как там используются упрощённый функционал даже в официальном приложении от Microsoft, поэтому для просмотра скачивайте PDF-версию. А если нужно редактировать файл, то используйте оригинальный файл.
Файлы такого типа обычно разбиты на страницы, а текст может быть форматированным (жирный, курсив, выбор шрифта, таблицы и т.п.), а также в него можно добавлять изображения. Формат идеально подходит для рефератов, докладов и РПЗ курсовых проектов, которые необходимо распечатать. Кстати перед печатью также сохраняйте файл в PDF, так как принтер может начудить со шрифтами.















