26852-1 (750687), страница 2
Текст из файла (страница 2)
В некоторый момент в определенном сечении зоны корневой системы поровое давление, монотонно нарастая, достигает значения внешней нагрузки. В скелете грунта начинают возникать растягивающие напряжения. Однако рыхлые отложения не обладают прочностью на разрыв, и минеральные частички начинают расходиться в пространстве, которое немедленно заполняется льдом. Так образуется новая линза льда, перекрывающая все поперечное сечение образца и лишающая питания водой предыдущую линзу. Последняя сразу же прекращает свой рост. Далее процесс повторяется, что и приводит к образованию слоистой текстуры. Количественно ее параметры (размеры ледяных линз и расстояния между ними) определяются математической моделью текстурообразования, учитывающей в уравнениях весь комплекс факторов, оказывающих влияние на этот процесс.
На рис. 5 приведены результаты вычислений основных параметров текстуры для промерзающего в естественных условиях грунта. Левая часть рисунка подтверждает общую закономерность немонотонного распределения толщины ледяных линз с глубиной. Правая - демонстрирует возможность образования мощного слоя льда в верхней части разреза. Однако главное достоинство данной математической модели заключается в том, что она указывает ясные причины и конкретные условия, при которых формируются те или иные картины распределения льда в массиве. Так, уменьшение толщины льдинок, начиная с некоторой глубины, обусловлено весом вышележащей толщи, гасящей процесс выделения льда. Образование же массивного ледяного тела обусловлено достаточно мягкими условиями промерзания и высокой проницаемостью исходной талой породы.
Рис. 5. Расчетные зависимости параметров слоистой криогенной текстуры от глубины при коэффициенте гидропроводности 10–11 (слева) и 10–10 м3·с·кг–1. Кривые (1) показывают немонотонное изменение толщины ледяных линз; при повышенной водопроницаемости грунта (справа) расчет предсказывает образование массивного ледяного тела в верхней части пласта. Кривые (2) отвечают монотонному увеличению с глубиной расстояний между льдинками.
Насколько полезным инструментом исследования может оказаться рассматриваемая модель, показывает следующий пример. Замечено, что расположение ледяных линз по разрезу иногда не вполне регулярно. Они то сближаются, то вновь разбегаются, напоминая неравномерно растянутую гармошку. Это наблюдается и в сравнительно однородных по составу и свойствам отложениях. До недавнего времени такие аномалии не поддавались даже качественному объяснению. В частности, сезонные колебания температуры на поверхности массива хотя и имеют значительную амплитуду, но не проникают в глубь Земли больше чем на 10-15 м. Следовательно, они не могут изменить картину распределения ниже этого уровня. Длиннопериодные же колебания (в пределах десятков лет), обусловленные изменением климата, имеют очень малую амплитуду и также не оказывают существенного влияния на этот процесс.
Какие же еще возмущения способны нарушить плавные изменения параметров криотекстуры? Вспомним, что природные массивы грунта, как правило, имеют гидравлическую связь с открытыми водоемами, колебание уровня которых так же естественно, как и колебание температуры на поверхности. Однако в отличие от температуры изменение давления в грунтовой воде, вызванное колебанием уровня, распространяется по гидросистеме на большие расстояния практически без затухания. Насколько серьезно такое влияние на процесс образования криотекстуры?
Результаты расчета конкретного примера показаны на рис. 6, на котором для сравнения приведены аналогичные данные при неизменном уровне водоема [4]. Распределение льдистости разительно изменилось. Зависимость промежутков между ледяными линзами приобрела вид упомянутой “гармошки”, а зависимость их толщины от глубины стала носить колебательный, затухающий характер. Интересно, что периодичность расположения льда не вполне соответствует периодичности накладываемых возмущений. Здесь идет сложный процесс интерференции колебаний давления и изменения поровых напряжений, который приводит к образованию структур, схожих с застывшей картиной биений, известной в колебательных процессах. Для подтверждения влияния гидростатики водоема на параметры криотекстуры необходимо сравнение с конкретным геологическим материалом. Однако уже на основании выполненных расчетов можно высказать предположение, что криогенные текстуры консервируют ритмику гидрологической обстановки прошлых эпох и могут служить ее палеоклиматическим индикатором.
|
| Рис. 6. Нарушение плавного изменения параметров криотекстуры при колебаниях уровня водоема, с которым грунт имеет гидравлическую связь. Толстые линии соответствуют постоянному уровню воды, тонкие - колебаниям уровня с амплитудой 10 м. 1 - кривая распределения по глубине толщины льдинок, 2 - расстояний между ними. |
Математическая модель текстурообразования дает объяснение и другим интересным фактам, которые подмечены в натурных и лабораторных исследованиях. Например, известно, что если в тонкодисперсной толще находился песчаный слой, то после промерзания зона в 1.5-2 м над ним практически не содержит ледяных линз. Объясняется это касанием корневой системы очередной растущей линзы песчаного пласта и быстрым замерзанием последнего. Все дело в протяженности зоны корневой системы, которая на глубинах более чем 15-20 м имеет длину около метра.
Другой пример взят из лабораторной практики. На рис. 7 показано изменение скорости роста льда в зависимости от температуры охлаждения. Были проведены два похожих опыта, но непонятным образом в одном случае скорость возрастала с понижением температуры, а в другом - падала. Объяснить это удается, только с помощью точных уравнений. Оказывается, при одних и тех же внешних условиях возможно существование двух устойчивых режимов роста, отличающихся протяженностью корневой системы и по-разному реагирующих на изменение температуры.
|
|
|
Рис. 7. Экспериментальные определения скорости роста льда в двух опытах с близкими внешними условиями. В одном случае (слева) массоперенос увеличивается с понижением температуры, в другом - падает. Ключевую роль здесь играет протяженность корневой системы, которая может принимать два устойчивых значения при одинаковых внешних параметрах. Эти режимы роста отличаются направлением реакции системы на изменение температуры охлаждения. На правом рисунке цветной кривою показан размер промерзающей зоны.
Загадка жидких включений
Конечно, не всякий содержащийся в грунте лед образуется так, как описано выше. Он может быть просто погребен под наносами ила либо образоваться из воды, внедрившейся под напором в уже мерзлые слои. Всегда важно точно установить условия его формирования, поскольку именно они и воссоздают конкретную обстановку прошлого. Существенную помощь оказывают результаты исследований многочисленных включений, содержащихся в природных льдах, - газообразных, твердых или жидких. Пузырьки газа могут многое рассказать о составе атмосферы в прошлые времена, твердые частички характеризуют свойства вмещающих пород, а жидкие включения - происхождение и состав замерзшей воды.
Капелька концентрирует внутри себя большую часть примесей и потому остается незамерзшей в ледяном теле. При наложении на лед градиентного поля температуры все микроскопические образования начинают медленно перемещаться в более теплую сторону льда. В этих условиях с течением времени происходит его самоочистка. Например, так происходит опреснение морского льда, который в момент формирования содержит многочисленные капельки рассола. Для оценки возраста самого льда важно знать закономерности перемещения включений. В лабораториях создаются специальные криоскопические установки (рис. 8), где наблюдаемые в микроскоп процессы выводятся на экран телевизора или компьютера, а запоминающие устройства позволяют воспроизвести все детали явлений.
|
| Рис. 8. Общий вид установки для исследования микропроцессов в промерзающих образцах. |
Одна загадка долгое время лишала сна исследователей, наблюдавших движение капли во льду. (Такое движение происходит вследствие оттаивания льда с теплой стороны капли и ее замерзания с противоположной, т.е. благодаря известному нам процессу режеляции.) Дело в том, что при движении в сторону повышенных температур капелька еще и увеличивается в размерах. Это понятно, поскольку происходит частичное оттаивание льда так, что концентрация раствора в ней понижается в соответствии с условиями фазового равновесия. Но вследствие разности плотностей воды и льда при фактическом увеличении размеров капли внутри нее должны возникать очень большие растягивающие напряжения, которые приводят к внутренним разрывам и газовыделению. Однако ни один микроскоп в мире не зафиксировал это явление! Разгадка заключается в необычных свойствах льда. Этот твердый минерал при длительно действующих нагрузках может течь, как очень вязкая жидкость [5]. Именно текучесть льда и разгружает каплю от высоких растягивающих напряжений. Теория, построенная с учетом данного свойства льда, демонстрирует это обстоятельство в числах.
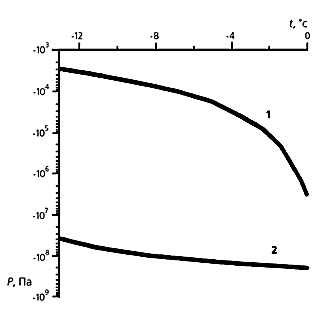
Два графика на рис. 9 показывают, что вследствие текучести льда напряжения в капле снижаются по абсолютной величине более чем на три порядка от значений, отвечающих его недеформируемой идеализации. Правильно построенная теория позволяет решить целый ряд других важных вопросов. Например, из теории движения капель следует, что их скорость не должна зависеть от начального радиуса - это действительно наблюдается в опыте. Другой вывод теории, который не подвергался экспериментальной проверке, состоит в том, что аналогичные жидкие включения перемещаются и в мерзлом грунте, причем со скоростью в несколько раз выше, чем во льду. Причина - существенно меньшие затраты в этом случае на фазовый переход, так как часть жидкости замещается минеральными частицами. Получает объяснение и еще один загадочный факт - блуждание больших скоплений рассола, так называемых криопэгов, внутри мерзлой толщи. (Вспомним, что скорость перемещения включений не зависит от их радиуса.) Это явление отмечено в Якутии и на западном побережье Ямала. Вероятнее всего, блуждание криопэгов обязано естественным температурным градиентам, которые всегда присутствуют в природной среде.
| Рис. 9. Растягивающее напряжение внутри жидкого включения во льду при разных температурах. Вследствие текучести льда напряжения в капле снижаются по абсолютной величине более чем на три порядка (кривая 1) по сравнению со значениями, отвечающими его недеформируемой идеализации (кривая 2). Благодаря этому движущаяся во льду капля не содержит пузырьков пара. |
|
Еще одно неожиданное приложение теоретических результатов - получение пресной воды из айсбергов (рис. 10). В ледяном гиганте бурят скважину глубиной в несколько сотен метров. Специальным нагревателем на забое проплавляется полость, в которой отсасывающим насосом создается максимально возможное разряжение. Под действием перепада давления между водой в океане и в полости лед начинает течь внутрь полости. При включенном нагревателе он непрерывно тает на ее границах, а образующаяся вода откачивается на судно. Расчеты показывают, что для получения 30 т воды в сутки диаметр полости должен составлять примерно 6 м. При этом скорость течения льда на ее границах весьма мала - несколько микрон в секунду.
|
| Рис. 10. Схема добычи пресной воды из ледяных массивов. 1 - айсберг, 2 - ствол скважины, 3 - нагреватель, 4 - насос, 5 - шланг, 6 - танкер, 7 - проплавленная полость, 8 - патрубок. |
* * *
В кратком очерке невозможно охватить все многообразие явлений в мерзлых грунтах, имеющих физическую природу. Мы даже не коснулись замечательных фактов существования льда внутри пород при положительных температурах, необычной формы включений во льду, низкой температуры плавления малых ледяных тел, и многого другого, что будоражит фантазию исследователя. Но все же сказанного достаточно, чтобы считать мерзлый грунт удивительным образованием природы.
Литература
1. Дерягин Б.В., Чураев Н.В. Смачивающие пленки. М., 1984.
2. Маэно Н. Наука о льде. М., 1988.
3. Горелик Я.Б., Колунин В.С., Решетников А.К. // Криосфера Земли. 1999. Т.3. №1. С.69-77.
4. Горелик Я.Б., Колунин В.С. // Криосфера Земли. 2000. Т.4. №2. С.41-51.
5. Войтковский К.Ф. Механические свойства льда. М., 1960.
















