168406 (741938), страница 5
Текст из файла (страница 5)
Тот факт, что площадь свалок бытовых отходов составляет целых 7% от общей площади накопленных отходов, говорит о том, что система утилизации бытовых отходов как таковая отсутствует. Бытовые отходы: пищевые и не пищевые, сгораемые и несгораемые, токсичные и нетоксичные, все накапливаются вперемешку. Бытовой мусор не сортируется.
3. Возможные пути решения проблем.
3.1. Улучшение состояния водных ресурсов.
3.1.1. Сточные воды.
В городах Свердловской области качество воды, и в частности питьевой, страдает от следующих факторов: во-первых, от загрязнения источников, во-вторых, от плохого качества труб, и, в-третьих, от неправильной очистки. Чтобы улучшить состояние питьевой воды в городах, необходимо начинать с ликвидации выброса сточных вод. Моя идея в этом плане не новая, она широко используется на западе, но для ее внедрения в жизнь необходимо действие законов и контроль их исполнения, а также важно, чтобы предприятия были переданы в частные руки.
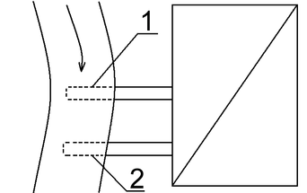
На рисунке 1 показано, как должны быть законодательно организованы потребление и сток воды (условно). Данный завод представляет собой саморегулирующуюся систему. Любой производитель заинтересован в потреблении чистой воды, но он не сможет ее потреблять, если будет выбрасывать много отходов. Труба стока (1) должна быть расположена выше трубы забора воды (2). Производитель (владелец завода) сделает все возможное, чтобы максимально очистить сточные воды. Он заинтересован в этом материально.
1 - Труба стока. 2 - Труба водозабора.
рис. 1. Метод введения саморегуляции потребления
и стока воды на предприятиях (условно).
3.1.2. Очистка питьевой воды. Флотационный метод.
Данный метод очистки питьевой воды широко используется на Западе. Он включает в себя три процесса очистки: коагуляцию, флотацию и фильтрацию с постоянной промывкой фильтров. В России производством таких систем занимается компания “КРОФТА”. Преимущества новой технологии состоят в том, что эти системы сравнительно недорогие, их производительность намного выше, чем производительность фильтров старых конструкций.
Принцип работы типовой флотационной установки следующий. Очищаемая вода через коагуляционную камеру, встроенную в агрегат, поступает в верхнюю камеру, где смешивается с циркулирующей водой, насыщенной воздухом под давлением 0,7Мпа. Смешанные воды поступают в зону флотации, где загрязненные вещества флотируются мельчайшими пузырьками воздуха к поверхности воды. Флотошлам непрерывно удаляется специальным устройством, а осветленная вода поступает в зону фильтрации.
Безусловно, использование такой установки несет большие затраты, чем использование старых методов. Увеличиваются затраты на электроэнергию, на обслуживание и ремонт, но на мой взгляд ее внедрение целесообразно.
3.2. Загрязнения воздушного бассейна.
Проблема загрязнения воздушного бассейна, как уже говорилось выше, стоит особенно остро. Как показали данные таблицы 3, эта проблема имеет разный характер для Екатеринбурга и городов областного подчинения. В Екатеринбурге основная часть загрязнения идет от автотранспорта, в других городах – от предприятий. Одна из наиболее серьезных проблем для здоровья населения – это сброс в атмосферу твердых загрязняющих веществ (городской пыли). Твердые вещества, наряду с газообразными, наносят колоссальный вред здоровью жителей. Для ликвидации этой проблемы необходимо внедрение газоочистных систем, газоулавливающих и пылеулавливающих установок, фильтров и накопителей. Их внедрять необходимо в любом случае, поскольку только одним размещением проблема не решается.
Для снижения загрязненности городов от автотранспорта необходимо:
-
Улучшение организации движения транспортных потоков в городе, создание новых дорожных “развязок” и высокоскоростных дорог, рациональное транспортное планирование новых районов.
-
Повышение качества моторных бензинов.
-
Использование альтернативного газового топлива.
В настоящее время ведутся разработки электромобиля. Но внедрение данной идеи экономически и экологически нецелесообразно, поскольку для создания самих электромобилей и энергии для них приведет к таким же (если не большим) загрязнениям.
Правильная организация автомобильного движения также решает проблему шумовой нагрузки. К вопросу о шумовом климате в городах необходимо добавить еще и то, что для благоприятного шумового климата необходимо плавильное размещение транспортной инфраструктуры относительно жилых районов.
3.3. Утилизация отходов.
Как я уже говорил, накопленных отходов в Свердловской области уже достаточно много. Здесь есть две проблемы: во-первых, необходимо утилизировать уже накопленные, и, во-вторых, остановить дальнейшее накопление. Для уничтожения отходов наиболее эффективным является метод экономического стимулирования. На основе этого метода в 1996 году была предложена программа “Переработка техногенных образований Свердловской области”. Рекомендуемая система стимулирования предусматривает:
-
установление налоговых и иных льгот, предоставляемых организациям, перерабатывающим техногенные образования и предоставляющим инвестиции;
-
применение льготного кредитования;
-
передачу части средств, подлежащих перечислению во внебюджетные экологические фонды, на договорных условиях в виде субсидий или ссуд организациям, осуществляющим переработку техногенных образований.
Вопрос утилизации бытовых отходов – вопрос особый. Его решение, в отличие от всех остальных, зависит не только от экономической ситуации в стране, а он, прежде всего, зависит от самого населения, от его экологического воспитания. Для качественной утилизации бытового мусора необходимо его сортировать. Так делают на Западе, и ничего лучше пока не придумано. Например, пищевой мусор собирается отдельно и уничтожается соответствующе (служит удобрением или пищей скоту); консервные банки закапываются в землю и тоже служат удобрением; стеклянные и пластмассовые бутылки принимаются в магазинах и снова запускаются в производство. У нас же, в силу исконно-русского менталитета, количество мусора не считает никто.
Заключение.
Итак, в своей курсовой работе я охарактеризовал проблемы защиты окружающей среды Свердловской области. По четыре из них я привел количественные данные.
По данным таблицы 2 получается, что за 1996 год было сброшено 763812 кубометров недостаточно очищенных сточных вод. Причем 77877 кубометров были сброшены без всякой очистки. Следующие города внесли наибольший вклад в загрязнение воды. Екатеринбург – его доля в общей массе выброшенных сточных вод – 33,12%. Нижний Тагил – 20,6%. Каменск-Уральский – 6,5%. Первоуральск – 4%. Важнейшим способом искоренения данной проблемы является правильная организация стока и забора воды из водоёмов. Этот способ является больше экономическим, чем техническим, поскольку он ставит производителя в такие условия, что он сам вынужден внедрять новые технологии. Для очистки питьевой воды предложен флотационный метод как наиболее действенный и относительно выгодный.
Изучая проблему загрязнения воздушного бассейна, можно сказать, что основным источником загрязнения пока являются стационарные источники. Это связано с большой концентрацией промышленных предприятий в регионе. Роль автотранспорта в валовом загрязнении имеет тенденцию к увеличению, поскольку автопарк растет. Если рассматривать отдельно Екатеринбург, то можно увидеть иную ситуацию. Здесь – наоборот – доля автотранспорта в валовом выбросе составляет примерно 72%. Для ликвидации этой проблемы необходимо внедрение газоочистных систем, газоулавливающих и пылеулавливающих установок, фильтров и накопителей. Их внедрять необходимо в любом случае, поскольку только одним размещением проблема не решается. Для уменьшения загрязнений от передвижных источников необходима правильная организация движения транспорта и работа над качеством моторного топлива и над внедрением альтернативных видов топлива.
Основным физическим фактором окружающей среды, который может реально влиять на состояние здоровья городского населения области является шум. Основным источником шума являются автотранспортные средства. Вторым по значимости являются железнодорожные магистрали и аэропорты. В 1996 году на ряде территорий области (взяты типичные территории с одинаковым набором источников шума) определен уровень шума в жилых районах населенных мест и выполнен расчет шумовой нагрузки на население. Анализ полученных данных показал, что значительная часть населения крупных городов области проживает в неудовлетворительном “шумовом климате”. Для улучшения “шумового климата” также необходима правильная организация движения транспорта в городах, а также работа по разработке новых бесшумных типов двигателей.
Для Свердловской области одна из самых серьезных проблем – проблема утилизации отходов. На основании приведенных данных произведен следующий расчет. Площадь Екатеринбурга примерно 490км2. Площадь, занимаемая отходами (на основании таблицы 5) 124,068км2. Получается, что площадь всех отходов Свердловской области составит примерно 25,32% от площади всего Екатеринбурга. Если все отходы Свердловской области собрать в Екатеринбурге, то ¼ часть города окажется полностью заполненная отходами. Площадь всех бытовых отходов составляет 7% от общей площади отходов. Это говорит о плохом показателе утилизации. Все отходы должны сортироваться и утилизироваться раздельно. Для особо вредных отходов необходима разработка технологий безопасного хранения и вторичного использования.
Информация получилась действительно, весьма неутешительная. Для решения проблем требуются колоссальные затраты, и, по крайней мере, в ближайшем будущем их решить не удастся. Больше того, на сегодняшний день они остаются не решаемыми в связи с углубляющимся экономическим кризисом, который усугубляется еще и невыполнением законов на всех уровнях.
Изучая возможные пути решения проблем, я заинтересовался некоторыми предложениями, но их внедрение, опять же требует больших затрат и действующего закона. Мы можем сказать, что улучшение экологической обстановки в Свердловской области произойдет только тогда, когда укрепится национальная экономика и укрепится законодательная база.
Список литературы
1. Постановление Областной Думы Законодательного Собрания Свердловской области “Об информации Правительства Свердловской области об экологической обстановке и состоянии здоровья населения в связи с деятельностью Среднеуральского медеплавильного завода в 1997 году” от 05.11.97 № 490.
2. Постановление Областной Думы Законодательного Собрания Свердловской области “Об исполнении Областного закона “Об особо охраняемых природных территориях Свердловской области” от 16.12.97 № 537.
3. Государственный доклад о состоянии окружающей среды. Екатеринбург. Администрация Свердловской области 1996г.
4. Проблема охраны окружающей среды Уральского региона: Тезисы докладов. – Екатеринбург, 1997.
5. Евсеев Б. Резонанс в унисон с природой // Наука Урала. 1998. №19. С.4-5.
6. Колбина Л. XXI век без свалок // Уральский рабочий. 1997. 2 декабря.
7. Колясников В. Каменск-Уральский – зона чрезвычайной экологической ситуации // Стройкомпекс Среднего Урала. 1998. №2-3. С. 14-15.
8. Колясников В. Первоуральск – Ревда и техногенная пустыня // Стройкомплекс Среднего Урала. 1998. №5. С.15-16.
9. Ларионов А., Шаповалова Л. // Уральский рабочий. 1997. 2 октября.
10. Микушин В. Урал превращается в свалку токсичных и ядерных отходов // Деловой урал. 1997. №17. С.2.
11. Терлецкий В. Экологическая обстановка в Свердловской области // Курсив. 1996. №2. С102-104.
12. Якубовский А. Урал атомный – Урал экологический // Наука Урала. 1998. №19. С.6.
21















