168162 (741802), страница 4
Текст из файла (страница 4)
Рисунок 3.1
3.5. Расчет показателей очистки воды для выбранной схемы.
Масса извлеченного загрязнителя определяется по формуле:
M = Q(Сн-Ск), где
Q – расход воды в год, м3.
Q = 730 м3
Сн – концентрация загрязнителя в сточной воде, г/ м3
Для нефтепродуктов Сн=188 г/ м3.
Для взвешенных веществ Сн=1954 г/ м3.
Ск – концентрация загрязнителя в очищенной воде, г/ м3
Для нефтепродуктов Ск=0.5 г/ м3.
Для взвешенных веществ Ск=15 г/ м3.
Масса извлеченных взвешенных веществ
Мв.в. = 730(1954-15) = 0.14 т
4. РАСЧЕТ ОСНОВНОГО ОБОРУДОВАНИЯ
4.1. Описание схемы.
Производительность выбранной установки от 3 до 40 м3/час. Поскольку на предприятии всего 50 машин, достаточно будет производительности 3м3/час.
Схема содержит следующие элементы:
-
Емкость для сточной воды.
-
Вертикальная песколовка с пневмовыбросом.
-
Многоярусный гидроциклон.
-
Фильтр грубой очистки с плавающей загрузкой из пенопропилена.
-
Фильтр тонкой очистки с загрузкой из сепрона.
-
Емкость чистой воды.
4.2. Вертикальная песколовка.
В вертикальной песколовке (рисунок 4.1) длина пути воды равна высоте цилиндрической части от места ввода сточных вод внизу до уровня, с которого отводится вода из песколовки. Длительность протекания воды через эту зону составляет 2 – 2.5 минуты. Скорость восходящего 0.02 – 0.05 м/с. Днище песколовки должно иметь угол конусности больше 60 для обеспечения самопроизвольного сползания осевшего песка. Осевший песок удаляют без остановки песколовки гидроэлеватором, эрлифтом или грейфером. Время пребывания воды в песколовке составляет 2 – 3.5 минуты.
Диаметр цилиндрической части D=1000 мм.
Соотношение длины и диаметра L:D 1:1.
Длина цилиндрической части L=1020 мм.
Угол конусности цилиндрической части =60.
Глубина цилиндрической части H=470 мм.
С
хема вертикальной песколовки
Рисунок 4.1
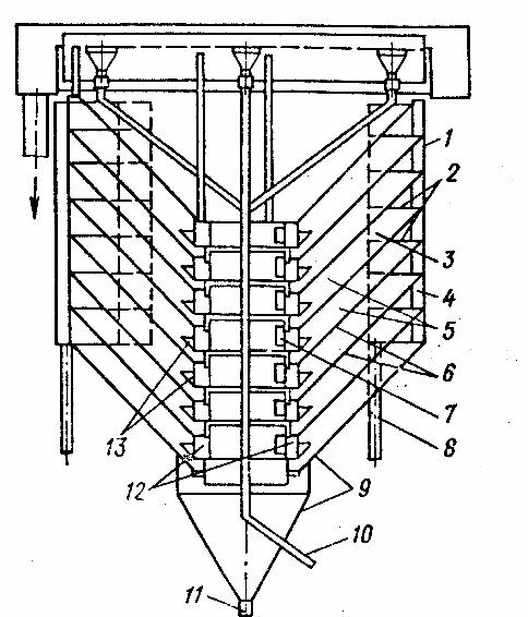
4.3. Расчет многоярусного гидроциклона.
Многоярусные гидроциклоны используют для интенсификации процесса очистки. В них рабочий объем разделен на отдельные ярусы свободно вставленными коническими диафрагмами. Вследствие этого высота слоя отстаивания уменьшается. Вращательное движение позволяет полнее использовать объем яруса и способствует агломерации взвешенных частиц. Каждый ярус гидроциклона работает самостоятельно. Гидроциклон (рисунок 4.2) имеет устройство для удаления всплывающих примесей.
Расход сточных вод до 3 м3/час. Циклон установлен на второй ступени очистки, концентрация взвесей в исходной воде составляет 800 – 1200 мг/л. В очищенной воде содержание примесей не должно превышать 150 мг/л. Гидроциклон должен задерживать частицы гидравлической крупностью 0.2мм/с.
Принимаем многоярусный гидроциклон с периферийным отбором очищенной воды.
Многоярусный гидроциклон
Рисунок 4.2
Задаемся следующими параметрами гидроциклона D=2м; диаметр центрального отверстия верхней диафрагмы прямоточного яруса dd = 0.6м; высота ярусов hti = 0.1м.
Рассчитываем удельную гидравлическую нагрузку, приходящуюся на 1 ярус гидроциклона. b – ширина периферийной щели для отвода очищенной воды; b = 0.1м. k – коэффициент использования объема яруса; k = 0.4.
Определим расход воды, которая может подаваться на 1 ярус.
Определим количество ярусов.
Высоту цилиндрической части определим, исходя из количества ярусов.
H = 2000hn+400 = 20000.12+400 = 800мм
По таблице назначаем остальные размеры:
-
количество впусков – 3;
-
угол конической части – 60;
-
угол конуса диафрагмы – 50;
-
диаметр центрального отверстия – dd = 0.6м;
-
высота ярусов h = 0.1м;
-
зазор между корпусом и диафрагмой – D = 0.1м;
-
скорость потока на входе – v = 0.3 м/с;
-
высота водосливной стенки – H2=0.5м.
4.4. Расчет фильтра грубой очистки.
Расчет фильтров выполняют, исходя из производительности.
Общая площадь фильтрования F, м2, приближенно определяется по формуле
.
Q – производительность фильтра по осветленной воде, м3/ч.
Q=3 м3/ч
- коэффициент, учитывающий расход осветленной воды на промывку, принимает значения от 1.03 до 1.1 в зависимости от числа промывок в сутки (1 – 2 раза). Промывка фильтра грубой очистки осуществляется 1 раз в день. Принимаем =1.03.
н – скорость фильтрования при нормальном режиме работы фильтра, м/ч, принимаем по таблице н=10 м/ч.
Подставляя указанные значения в формулу для F, получим
.
Скорость фильтрования при нормальном режиме работы фильтров определяется по формуле
.
q – среднечасовой расход воды на промывку фильтра, м3/ч.
f – площадь фильтрования стандартного фильтра, м2. Принимается по таблице.
Среднечасовой расход воды на промывку определяется по формуле
, где
d – расход воды на одну промывку фильтра, м3; r – число промывок в сутки.
Расход воды на одну промывку фильтра определяется по формуле
, где
i – интенсивность взрыхления,
;
t – продолжительность взрыхляющей промывки, принимается по таблице.
Расход воды на одну промывку
.
Среднечасовой расход воды на промывку
.
Скорость фильтрования
.
Скорость фильтрования не превышает допустимую (10 – 12 м/ч), следовательно выбираем фильтр с площадью фильтрования f=0.29 м2 и диаметром Dу=700 мм.
Схема работы фильтра указана на рисунке 4.3.
Схема работы фильтра грубой очистки.
Рисунок 4.3
5. Технико-экономический расчет
5.1. Цели и задачи технико-экономического расчета.
В последнее время резко возросла численность автомобильного транспорта, особенно в крупных городах, что привело к увеличению объемов сточных вод от мойки автомашин.
Известно множество способов очистки сточных вод от мойки автомобилей, поэтому целью работы был не поиск технического решения данной проблемы, а оценка экономической эффективности уже существующих схем очистки.
Расчет сводится к сравнению трех схем очистки воды, используемых в Самаре и Самарской области по следующим показателям:
-
цена установки;
-
себестоимость очистки 1 м3 воды;
-
коэффициент очистки воды (КОВ) по нефтепродуктам и взвешенным веществам.
Сравниваются следующие три схемы:
-
Схема системы рециркуляции воды для автомобильных моек. Фирма Karcher (Германия). Моноблок с реагентами и фильтрами.
-
Схема установки УМ Самарского Опытно-Эксперементальный завода.
-
Схема оборотного водоснабжения фирмы “СамараАВТОтех”.
Все три схемы осуществляют оборотное водоснабжение, то есть сброс сточной воды в окружающую среду отсутствует.
Самую приемлемую по экономическим и экологическим показателям схему в соответствии с техническим заданием следует предложить для очистки стоков АТП «Автотранс».
Основная часть сточных вод предприятия образуется в результате мойки автомобилей. Существующие на предприятии очистные сооружения не обеспечивают необходимой степени очистки и не осуществляют водооборот. Эти проблемы будут решены, если установить на предприятии одну из названных выше схем очистки воды.
5.2. Исходные данные.
-
Концентрация загрязняющих веществ в исходной воде
| нефтепродуктов | 188 мг/л |
| взвешенных веществ | 1954 мг/л |
-
Относительная опасность Ai, ТУВ/т
Aн-ты = 20 ТУВ/т
Aв.в. = 0.05 ТУВ/т
-
На одну машину расходуется 50 литров воды.
-
За 1 час можно помыть 4 машины (по 15 минут каждую).
-
Рабочий день – 10 часов, следовательно, можно мыть по 40 машин в день.
-
Расход воды в сутки 4050=2000 л.
-
Расход воды в год Q=2365=730 м3
-
Стоимость воды 28.75 руб./ м3
Стоимость канализации 25.5 руб./ м3
Итого: 54.25 руб./ м3
5.3. Расчет коэффициента очистки воды (КОВ).
Расчет КОВ производится по следующим формулам:
=mAi, где
m – масса загрязнителя в 50 л воды.
, где
до – приведенная масса вредного вещества до очистки;
– приведенная масса после очистки.
Установка Karcher.
Нефтепродукты:
до = 9.410-620 = 18810-6
= 0.7510-620 = 1510-6
Взвешенные вещества:
до = 97.710-60.05 = 4.88510-6
= 2.2510-60.05 = 0.112510-6
Установка УМ.
Нефтепродукты:
до = 18810-6
= 0.0510-620 = 0.110-6
Взвешенные вещества:
до = 4.88510-6
= 0.2510-60.05 = 0.012510-6
Установка СамараАВТОтех.
Нефтепродукты:
до = 18810-6
= 0.02510-620 = 0.510-6
Взвешенные вещества:
до = 4.88510-6
= 0.7510-60.05 = 0.037510-6
5.4. Расчет себестоимости очистки 1 м3 воды.
Установка Karcher.
Амортизационные отчисления
A = NaОФ
– норма амортизации.
Тсл – срок службы установки.
ОФ = 14500$ = 362500 руб.
A=0.33362500=120833 руб.
Энергозатраты
Мощность 1.2 кВт
Рабочий день 10 часов
Плата за электричество:
Пэ = 1.2103650.33 = 1445.4 руб.
Реагенты:
| RM 846 | 20 кг в год | 90$ (2250 руб.) |
| RM 851 | 30 кг в год | 235$ (5875 руб.) |
Заработная плата
Численность обслуживающего персонала – 1 человек.
Зарплата = 1000 руб. в месяц.
Установка УМ.
Амортизация
А = 1200000.2 = 24000 руб.
Энергозатраты
Мощность 7.5 кВт















