ref-16250 (739747), страница 2
Текст из файла (страница 2)
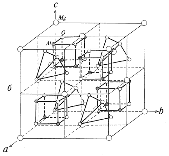
кубической пространственной группы.
Кристаллическая структура шпинели MgAl2O4: а -
проекция ху структуры минерала; выделены Mg-тетраэдры; б
- общий вид структуры; в - график пр. гр. Fd3m(O1k) с нанесенными
на него атомами Mg, Al и О; г - шпинелевый октаэдрический слой; д - фрагмент структуры в проекции на плоскость (111); способ сочленения шпинелевого и
антишпинелевого слоев; е - идеализированная постройка из Al-октаэдров в структурном типе шпинели.
Ионы O2- находятся приблизительно в плотнейшей кубической упаковке. Ячейка содержит тетраэдрические пустоты, число которых 64 (узлы А), и октаэдрические пустоты в количестве 32 (узлы В). Восемь узлов А и 16 узлов В занимают катионы, расположенные таким образом, что ряды заполненных ими октаэдров, соединённых между собой рёбрами, вытягиваются вдоль одной диагонали куба, связываясь в цепочки за счёт занятых тетраэдров. В результате образуется один слой (рис. е). Тетраэдры соединяют его с октаэдрами соседнего слоя, который располагается вдоль другой диагонали грани куба. Четыре таких слоя образуют элементарную ячейку. Каждый атом кислорода является общим для двух октаэдров и одного тетраэдра. Катионы представлены двумя типами: А2+ и В3+ . В нормальной шпинели катионы А2+ находятся в узлах А, а В3+ - в узлах. Однако существует обращенная шпинель, у которой 8В3+ располагаются в узлах А, а (8 А2+ + 8 В3+) беспорядочно распределены по углам В. Выбор между этими двумя способами расположения атомов определяется энергией входящих в структуру ионов, стабилизирующей кристаллическое поле решётки. Второй вариант реализуется в тех случаях, когда больший из двух катионов занимает тетраэдрические узлы, нарушая обычное правило. Как в нормальных, так и в обращенных шпинелях остаются незаполненные катионами пустоты обоих сортов. Кроме того, существует ряд шпинелей, промежуточных между нормальными и обращенными.
3). Исследована низкотемпературная (20—400 °C) экзоэмиссия отрицательных зарядов со сложных оксидов, имеющих структуру перовскитов состава X3+ Y2+ О3 ( X3+ = La; Y2+ = Co, Mn, Ni) и структуру шпинели X2+Y23+O42- ( X2+= Cu; Y3+ = Fe, Co, Cr). Найдены корреляции между каталитической активностью в реакциях окисления СО, этилбензола и пропилена и эмиссионной способностью оксидов. Обсуждена роль слабосвязанного кислорода и ионов переменной валентности в процессах экзоэмиссии и окислительного катализа сложными оксидами.
Благодаря этим исследованиям стало возможным применение шпинели, как катализатора в окислительном катализе ненасыщенных ациклических углеводородов.
Структура шпинели характерна для ряда неметаллических магнитных кристаллов, обладающих сочетанием полупроводниковых и магнитных свойств, использующихся в технике сверхвысоких частот и запоминающих устройствах ЭВМ.
4).Исследован процесс синтеза MgAl2O4 из оксида магния и гидроксида алюминия в атмосфере паров воды Р = 20 МПа в интервале температур 380 - 400
в присутствии активирующих добавок ионов Cr(VI). Методами рентгенофазового и рентгенографического анализов и электронной спектроскопии установлено, что процесс диффузии и гомогенного распределения ионов магния по структуре промежуточной фазы синтеза - бемита лимитируется степенью разупорядочения кристаллической решетки последнего. Введение в реакционную систему ионов Cr(VI) способствует возникновению дополнительных нарушений в структуре бемита, облегчая процессы диффузии и перестройки глиноземной матрицы. Процесс завершается стабилизацией ионами магния кубической кислородной подрешетки, возникающей при образовании кристаллической структуры шпинели.
5).Изучена возможность получения алюмомагнезиальной шпинели с высокими показателями свойств по энергосберегающей технологии и с учетом утилизации ультрадисперсного каустика. Методом одностадийного синтеза спеканием плотного брикета на основе промышленных порошков каустика и глинозема получали шпинельные материалы различных составов: стехиометрическую шпинель и шпинели с избытком обоих компонентов. Для интенсификации процессов шпинелеобразования и спекания были использованы различные комплексные добавки (химические и керамические) в количестве от 1 до 10 % масс. Влияние используемых добавок на спекание и физико-механические свойства брикетов зависело от соотношения компонентов в формовочной смеси. Полное образование шпинели в брикетах установлено при температуре 1650
.
Список используемых ресурсов и литературы:
1.Неофициальный сайт Геологического факультета МГУ.
2.Официальный сайт Российской Академии Физических Наук.
3.Официальный сайт Физического факультета МГУ.
4.Официальный сайт Физического факультета ВГУ.
5.М. П. Шаскольская: “Кристаллография” М. “Высшая школа” 1977. С. 388
6.Электронные периодические издания Российской Академии Физических Наук.
7.Официальный сайт ювелиров России.
8.Геологический сайт России.
рис.е.














