referat (739555), страница 3
Текст из файла (страница 3)
где L и R длина и радиус капилляра соответственно, n - поправка, учитывающая потери давления на входе в капилляр, ΔРr перепад давления между концами капилляра
ΔРr =981*4*Р/πD2,
где Р - сумма весов грузов, поршня и усилия пружины индикатора, D - диаметр поршня. Тогда
τ=981 *4*P/2πD2(L+nR)=K1*P
или lgτ=lgK1+lgP.
Для определения скорости сдвига на стенке капилляра (γ') сначала рассчитывают её среднее значение (γ'1):
γ'1=Q/πR3,
где Q - расход материала.
Q=(S/t)*(πD2/4),
S - величина перемещения поршня за время t. Отсюда:
γ'1=S*π*D2/4*πR3t=K2*(S/t)
или lgγ'1=lgK2+lg(S/t).
Значения констант К1 и К2 постоянны для каждого капилляра. По найденным значениям lgγ', и lgτ строится вспомогательная осреднённая кривая течения lgγ'1=f(lgτ). Для построения истиной кривой течения, связывающей напряжение сдвига на стенке капилляра со скоростью деформации на стенке производится графическое перестроение данной кривой по уравнению:
lgγ'=lgγ'1+lg(3+n),
где n=d(lgγ'1)/d(lgτ); т.е. тангенс угла наклона касательной в каждой данной точке кривой lgγ'1==f(lgτ). Расчёт значения вязкости (η) производится по формуле:
η=τ/γ'.
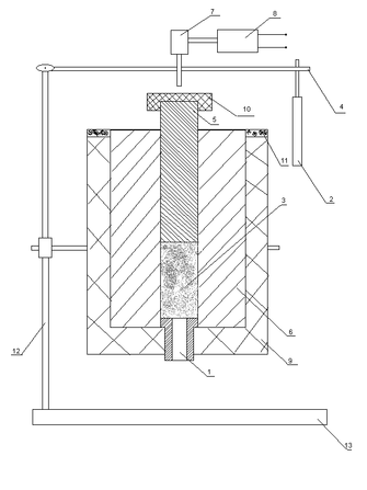
Рис. 6. Принципиальная схема микровискозиметра МВ-3М
1-капилляр; 2-груз; 3-исследуемый образец; 4-рычаг; 5-шток; 6-камера (бомба); 7-датчик перемещения; 8-индикатор перемещения; 9-печь с электрообогревом; 10-теплоизулирующая шляпка; 11-съёмная крышка; 12-штатив; 13-опорная плита.
ИСХОДНЫЕ ДАННЫЕ.
ЭКСПЕРИМЕНТАЛЬНЫЕ ДАННЫЕ И КОММЕНТАРИИ К НИМ.
Эксперименты с образцами сополимеров стирола и акрилонитрила проводились при четырёх температурах и при значениях логарифма напряжений сдвига lgτ от 3 до 5.5 [Па]. На рис.5 представлены результаты экспериментов для типичного представителя образцов линейных САН (SAN 32) - качественно кривые выглядят одинаково.
Рис. 7. Экспериментальные данные типичного представителя линейных САН (SAN 32)
Из рис.7 видно, что кривые имеют сходный характер, имея прямопропорциональную и, больше того, практически линейную зависимость скорости сдвига от деформации. Также можно выделить общую закономерность для всех образцов: при повышении температуры проведения эксперимента - при тех же значениях напряжений скорости деформаций увеличиваются (то есть кривые параллельно поднимаются относительно оси ординат). Что является вполне закономерным явлением, учитывая, что подвижность сегментов макромолекул увеличивается, при увеличении температуры, и полимер легче деформируется (в данном случае начинает течь).
Теперь рассмотрим экспериментальные зависимости lgγ от lgτ, полученные для разветвлённых САНов на примере DBC 698 (см. рис.8).
Рис. 8. Экспериментальные данные типичного представителя разветвлённых САН (DBC 698)
Общий вид кривых для разветвлённых образцов, в принципе, носит аналогичный характер как и у кривых для линейных САН. Можно отметить, что при тех же значениях напряжений, у разветвлённых образцов скорости деформаций имеют более низкие значения, нежели у линейных. Это опять же можно объяснить с точки зрения конформации полимеров, проще говоря, разветвлённые образцы имеют меньшее число степеней свободы движения сегментов их макромолекул, отсюда и вытекает, что нужно приложить большее напряжение, чтобы полимер стал испытывать необратимые деформации (течь).
Теперь перейдём непосредственно к кривым течения (lgη=f(lgγ)) и рассчитанным значениям вязкостей (для определённости вычисленным по приведённым выше формулам для lgγ=1.0 [с-1]). Итак, на рис.9 приведена сравнительная диаграмма вязкостей линейных образцов САН при 240°С, а на рис.10 зависимость lgη от lgγ также при 240°С.
Рис. 9. Вязкость линейных САН при 240°С при скорости сдвига lgγ=1.0 [с-1]
Рис.10. Зависимость вязкости от скорости сдвига при 240°С для линейных САН.
Как видно на рис.8 все образцы показывают неньютоновское течение и их вязкости уменьшаются при увеличении скорости сдвига. В то же время в области низких скоростей вязкость полимеров различается довольно существенным образом, но при повышении скорости сдвига приближаются к какому-то одному, общему для всех, значению. Из рис.10 также видно, что максимальный разброс значений вязкостей линейных САН составляет не более 0,8 (в логарифмических координатах).
Анализ полученных данных позволяет утверждать, что переход от неньютоновского течения к ньютоновскому происходит в узком интервале напряжений (lgτ= 3.5-3.7 [Па]) независимо от образца полимера и температуры проведения эксперимента (см. рис.11).
Рис. 11. Зависимость вязкости от напряжения сдвига при 240°С для линейных САН.
Таблица 2 позволяет оценить аномалию вязкости для различных линейных САН (этой цели служит отношение вязкости образцов при скорости сдвига 1,0 с-1 к вязкости при скорости сдвига равной 10,0 с-1).
Как видно из таблицы 2 - увеличение отношения вязкостей при различных скоростях отражает увеличение аномалии вязкости. Оно показывает, что все линейные САН имеют немного близкие значения, которые отличаются не более, чем на 35-40% (т.е. они являются величинами одного порядка. В то же время рост температуры от 220 до 280°С приводит к уменьшению отношения вязкостей Р на 50-60% (можно предположить, что при увеличении температуры Р стремится к какому-то постоянному значению). Эксперименты при четырёх температурах (220,240,260,280) обнаружили линейную зависимость вязкости (в логарифмических координатах) от обратной температуры.
Рис.12 Зависимость энергии активации от содержания акрилонитрильных групп в
образцах САН.
Расчёты показали, что энергия активации течения, вычисленная при использовании уравнения Аррениуса, находится в пределах 110-115 кДж/моль в случае ньютоновского течения. Значения Еа взяты из вязкостно-температурных зависимостей, при условии постоянства напряжения сдвига. В случае деформации при любой скорости сдвига, её (γ) увеличение приводит к уменьшению энергии активации.
Величина Еа увеличивается с увеличением концентрации акрилонитрила в образцах линейных САН (см. рис. 12). Различные значения энергии активации для образцов с содержанием акрилонитрильных групп 28% (SAN M80 и SAN M60) очевидно обусловлено различиями их молекулярных масс и молекулярно-массовых распределений (см. табл.1). На основании исходных данных о молекулярной массе и ММР этих двух образцов более высокие значения вязкости SAN M100 обусловлены также и его более высокой молекулярной массой (почти на 20% выше чем у SAN M80) и более узким ММР. Так как для течения всей макромолекулы необходимо совместное перемещение многих сегментов, то становится понятно, что сопротивление, оказываемое макромолекулой в потоке, зависит от её молекулярной массы, что и наблюдается в случае этих двух образцов (рис. 10) - вязкость наиболее "тяжёлого" выше. Также на это оказывает влияние и количество зацеплений в макромолекулах.
Теперь перейдём к рассмотрению образцов разветвлённых САН. Данные, полученные при эксперименте, представлены на рис.8 в логарифмических координатах - зависимость скорости сдвига от напряжения сдвига. Также представлены кривые течения для них при 240°С на рис.13. И сравнительная диаграмма их вязкостей при скорости сдвига γ=1,0 (рис.14).
Рис.13. Зависимость логарифма вязкости от скорости сдвига при 240°С для разветвлённых
САН.
Рис.14. Диаграмма вязкостей разветвлённых САН при у=1.0 и 240°С.
Вообще, как видно из рис.10 и рис.13 течение линейных и разветвлённых образцов схоже качественно, однако существенно различается количественно. Так, даже при значениях lgτ=3.5-3.7 разветвлённые САН демонстрируют всё ещё неньютоновский характер течения (см. рис.15). Из этого же рисунка видно, что наибольшей вязкостью обладают образцы ВВС 745 и DBC 707 - это обусловлено их высокими молекулярными массами и широкими ММР, по сравнению с другими образцами (см табл.1). А наименьшая вязкость DBC 698 объясняется исходя из тех же соображений (низкая М и ММР). Но вот "аномально" большая вязкость DBC 705 (при низкой М и ММР) можно объяснить исходя из предположения, что макромолекулы этого образца имеют больше ответвлений на единицу длины, и тогда становится очевидным, что подвижность такой макромолекулы в целом будет ниже и, следовательно, вязкость этого полимера будет выше.
Рис.15. Зависимость lgη от lgτ при 240°С для разветвлённых САН.
Анализ рис.14 и рис.15 позволяет судить о том, что степень различия образцов лразветвлённых САН при низких скоростях сдвига достигает 3-4 Па*с, в то время, как при значении скорости сдвига 100с-1 все полимеры показывают одинаковые значения вязкости (это состояние достигается быстрее, чем у линейных САН, почти в 3 раза - т.е. они более вязкие).
Кроме того, они демонстрируют более высокую аномалию вязкости, чем линейные аналоги (см. табл.2). Данные табл.2 показывают также, что энергия активации разветвлённых САН значительно выше энергии активации течения линейных САН. Такое поведение типично для разветвлённых полимеров. Также это обусловлено и их высокой молекулярной массой и широким ММР, по сравнению с линейными полимерами.
При проведении экспериментов при высоких напряжениях поверхность экструдатов некоторых образцов становилась мутной, а в ряде случаев наблюдались явные искажения полимера на выходе из экструдера. Поэтому был проведён ряд экспериментов с этими образцами для более близкого ознакомления с этими явлениями. У всех образцов, при их "продавливании" через капилляр прибора, были отмечены общие закономерности поведения. Так, при увеличении напряжения, критические явления течения проявляются в появлении матовости гладкой поверхности экструдата, затем появляется чуть заметная волнистость, степень которой увеличивается пропорционально увеличению напряжения, далее образуется винт, частота и глубина витков которого также зависит от величины прикладываемого напряжения, и наконец завершается это течение выходом образца неупорядоченно и сильно деформированного по всей его поверхности. Всё это прекрасно проиллюстрировано на фотоснимках полученных образцов экструдатов на рисунке 16. А в таблице 3 приведены результаты этих замеров более подробно. Табл. 3
Табл.3
Из данных таблицы 3 видно, что при увеличении температуры, момент проявления критических явлений течения зависит от температуры (при увеличении температуры течения расплава полимера (а именно DBC 745) момент начала неустойчивости происходит немного позже, т.е. при более высоких напряжениях). Также при сравнении разветвлённых образцов видно, что раньше всего деффекты поверхности экструдата появляются у образца DBC 707, далее DBC 745 и DBC 705, и, наконец у DBC 697. Станет понятно почему результаты имеют именно такие значения, если взглянуть на таблицу 1 - пальма первенства по величине молекулярной массы исамому широкому молскулярно-массовому распределению принадлежит именно образцу DBC 707. И далее в том же порядке увеличиваются молекулярные массы и ММР образцов, что и увеличение напряжения, при котором начинает выходить из микровискозиметра экструдат волнистой формы (ММР DBC 697 -существенно шире, чем у DBC705 - поэтому у пего раньше наступает начало неустойчивости). В общем случае можно отметить, что наступление этих явлений у разветвлённых образцов происходит раньше нежели у образцов линейных.
Неудивительно - так как сегменты разветвлённых молекул менее подвижны, поэтому при больших напряжениях они испытывают в капилляре только высокоэластические деформации и на выходе из него не успевают отрелаксировать. Для наглядности можно привести график с кривыми течения для разветвлённого и линейного образца САН с отметками о наступлении различных форм проявления неустойчивости (рис. 15а).















