ammiak (739528), страница 6
Текст из файла (страница 6)
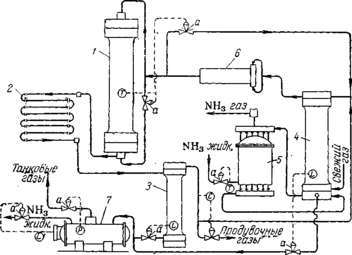
Автоматическое управление агрегатом синтеза. Схема агрегата с автоматическим управлением процессом синтеза аммиака показана на рис. У1-26. При таком управлении агрегатом автоматически регулируются следующие параметры процесса: температура в колоннах синтеза; уровни жидкого аммиака в сепараторе и конденсационной колонне; температура газа, выходящего из аммиачного конденсатора; состав циркуляционного газа по содержанию инертных примесей (СН4 и Аг); выдача жидкого аммиака из газоотделителя на склад; давление в газоотделителе. ••$
Для автоматического регулирования используется наиболее распространенная в настоящее время пневматическая унифицированная система. Каждый узел регулирования состоит из датчика, преобразующего контролируемую или регулируемую величину в выходной сигнал, удобный для дистанционной передачи и дальнейшего преобразования в соответствующий импульс; регулятора, состоящего из одного или нескольких блоков, обе-
спечивающих поддержание заданного закона регулирования технологического параметра; вторичного прибора (самопишущего или показывающего) с встроенным датчиком и* переключателем; исполнительного механизма — регулирующего клапана с пневмо-приводом или другого устройства. Общий принцип действия системы можно пояснить на примере автоматического регулирования температуры в колонне синтеза.
Рис. У1-26. Агрегат синтеза аммиака с автоматическим управлением:
У—колонна синтеза; 2—водяной конденсатор; 3—сепаратор жидкого аммиака; 4—конденсационная колонна; 5—испаритель; 6—центробежный циркуляционный компрессор; 7—газоотделитель; а—регулирующий клапан; Г—измерители температуры; Ь—измерители уровня; Р— измеритель давления; С—регулятор состава.
Электродвижущая сила (э. д. с.), возникающая в термопаре (датчике), пропорциональна температуре, которая отсчитывается на шкале измерительного прибора. Отклонение температуры от заданной преобразуется специальным устройством в импульс давления воздуха, приводящий в действие систему регулирования. Чем больше отклонение, тем сильнее воздействие, передаваемое регулятором органу управления.
При повышении температуры открывается вентиль холодного байпаса, при снижении он прикрывается. Если этот прием регулирования не приводит к повышению температуры при закрытом байпасе, регулирование производится изменением объемной скорости. При этом регулятор начинает подавать сигнал на открытие вентиля «длинного байпаса», вследствие чего уменьшается количество газа, подаваемого в колонну циркуляционным компрессором.
Нарушения режима и меры их предупреждения. Нарушения технологического режима могут вызываться ненормальной работой смежных звеньев производственного процесса или внутренними причинами, в большинстве случаев непосредственно зависящими от обслуживающего персонала. К первой группе причин относятся: подача газа, загрязненного контактными ядами (чаще всего окисью углерода), резкое нарушение соотношений водорода и азота в газе, а также прекращение подачи охлаждающей воды или электроэнергии.
При содержании в газе более 300 см*1м3 СО прием азото-водо-родной смеси в цех синтеза прекращается. Если же работа отделения компрессии не переведена на режим выхлопа газа, он выдувается из агрегата синтеза. При этом необходимо постоянное наблюдение за давлением в системе, так как иначе возможно резкое повышение давления и разрыв трубопроводов. В тех случаях, когда при увеличении количества СО в газе, ее содержание не превышает 300 сма!м*, работа цеха синтеза обычно продолжается, но автоматизированные колонны следует переводить на ручное управление, не дожидаясь снижения в них температур. При этом прикрывают вентили холодного байпаса, уменьшают циркуляцию газа и прекращают продувку агрегатов после первичных сепараторов, заменяя ее продувкой до колонн. Одновременное понижение температуры в нескольких колоннах может происходить не только при попадании в газ окиси углерода, но и при резком нарушении состава свежего газа. При этом принимаются меры к поддержанию заданной температуры в колоннах.
В случае прекращения подачи воды требуется немедленная остановка цеха. В противном случае произойдет повышение температуры газа перед циркуляционными компрессорами и прекратится охлаждение их сальников.
Из внутренних причин нарушения режима наиболее нежелательные последствия вызываются неправильной выдачей жидкого аммиака на склад. При этом повышается уровень жидкости в конденсационных колоннах, что может привести к попаданию жидкого аммиака в колонны, резкому снижению температуры катализатора, следствием чего часто является поломка насадки колонн синтеза.
Превышение уровня жидкого аммиака в первичных сепараторах может закончиться их переполнением и перебросом жидкого аммиака в циркуляционные компрессоры. Вследствие этого в цилиндрах нагнетателей возникают гидравлические удары, которые могут привести к разрушению машин.
Опасно также понижение уровней в указанных аппаратах {ниже нормы), так как при этом может исчезнуть гидравлический затвор, и газ под давлением 300 ат устремится в трубопроводы для жидкого аммиака. В результате возможно разрушение газоотделителя. Если даже при этом сработают предохранительные устрой- ства, неизбежно разлитие жидкого аммиака с возможностью отрав-ления им людей. При малейших неполадках в работе автоматического управления следует переходить на ручное обслуживание с выдачей жидкого аммиака из сепаратора («под- газ») и следить за давлением по манометрам, установленным на трубопроводах для жидкого аммиака.
Аварии могут возникать, кроме того, при нарушении режима работы циркуляционных нагнетателей. Увеличение сверх 30 ат перепада давления между всасывающей и нагнетательной линиями может привести к обрыву штоков в поршневых машинах, к сдвигу вала и разрушению подшипников циркуляционных нагнетателей. При возрастании перепада нагрузка нагнетателей должна быть немедленно снижена.
Следует также иметь в виду, что резкое уменьшение интенсивности циркуляции газа вызывает резкий скачок температуры в колонне. Если в этом случае колонна находится на разогреве, возможен перегрев спиралей электрического подогревателя, что приводит к выходу его из строя.
При возникновении неполадок на одном участке технологического процесса необходимо обращать серьезное внимание на все связанные с ним другие звенья, чтобы меры, принятые к ликвидации одного из нарушений, не вызвали возможных аварий на смежном участке.
Спецификация оборудования
Насадки колонн синтеза
Колонны синтеза состоят из корпуса и насадки, включающей теплообменник и катализаторную коробку.
Применяемые в настоящее время конструкции насадок можно свести к следующим типам:
1. Трубчатые насадки с теплообменником в зоне катализа, подразделяемые на противоточные, в которых потоки газа в теп-лообменных трубках и в слое катализатора имеют встречное направление (см. рис. VI-10), и прямоточные (обычно с двойными теплообменными трубками), в которых потоки газа движутся в трубках и в слое катализатора параллельно друг другу (см. рис. VI-! 1).
2. Полочные насадки с катализатором, загруженным сплошным слоем на полки, и подводом холодного газа в пространство между полками (см. рис. VI-13).
Известны также многочисленные варианты конструкции насадок, являющихся комбинациями перечисленных выше типов (см., например, рис. У1-12).Производительность колонн во многом зависит от конструкции их насадок, совершенство которых оценивается простотой и надежностью работы, а также возможностью создания наиболее благоприятного температурного режима синтеза аммиака. В идеальном случае распределение температур по высоте слоя
Рис. VI-10. Противоточная насадка Рис. VI-11. Прямоточная насадка (здесь и на рис. VI-!! —VI-13 спра- с двойными теплообменными трубками ва изображены графики распределения температур в катализаторной коробке):
/—предварительный (нижний) теплообменник;
2—катализаторная коробка; 3—теплообменные
трубки катализаторной коробки.
катализатора должно соответствовать оптимальной температурной кривой (см. рис. У1-2, стр. 277). Для обеспечения оптимального режима должно быть правильно определено соотношение размеров предварительного теплообменника и катализаторной коробки и организован отвод тепла из зоны реакции таким образом, чтобы исключалась возможность как перегрева, так и переохлаждения катализатора.
Трудность создания температурного режима колонн синтеза, близкого к оптимальному, связана с тем, что образование аммиака по высоте катализаторной коробки и, следовательно, выделение тепла происходят неравномерно.
'380 Ш 500 500°С
№лдднь№ байлас
байпас
Вертикальные водяные холодильники-конденсаторы состоят из пучка согнутых в спирали труб высокого давления, помещенных в стальной цилиндрический кожух; концы труб ввальцованы в распределительные камеры. Газ движется по змеевикам сверху вниз, вода проходит в кожухе противотоком газу. В зависимости от производительности агрегатов синтеза аммиака охлаждающая поверхность таких конденсаторов составляет 150—200 л*2.
К наиболее эффективным типам конденсаторов относятся спиральные теплообменники. Они достаточно компактны, однако из-за трудности изготовления еще редко применяются.
Аммиачные конденсаторы устанавливают в дополнение к водяным конденсаторам. Они являются второй ступенью охлаждения циркуляционного газа и служат для более полной конденсации из него аммиака. Ниже кратко описаны применяемые типы аммиачных конденсаторов.
Горизонтальный конденсатор представляет собой стальной котел, рассчитанный на давление 16 ат. В нижней части котла размещается от 5 до 8 секций труб высокого давления, каждая из которых состоит из шести горизонтальных труб, соединенных между собой.
Снаружи такого конденсатора расположены газовые коллекторы, связывающие секции труб высокого давления по входу и выходу газа. Газ поступает в конденсатор сверху, разветвляется на параллельные потоки по секциям и движется вниз, переходя затем в нижний коллектор. Нижние ряды труб высокого давления погружены в кипящий жидкий аммиак, залитый в котел, а верхние трубы охлаждаются парами аммиака. Чем меньше давление паров над жидким аммиаком, тем ниже возможная температура охлаждения. Обычно конденсатор работает при давлении 2 ат.
Котел конденсатора имеет предохранительные устройства — рычажные или пружинные клапаны и взрывные пластины, предотвращающие возможность случайного повышения давления в котле.
Газ
Слив
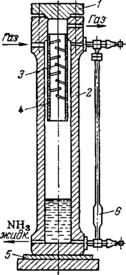
Рис. У1-19. Аммиачный конденсатор:
/—ловушка брызг жидкого аммиака; 2—коллектор для входа охлаждаемого газа; 3—змеевики; 4—корпус; 5—труба для слива жидкого аммиака из брызго-отделителя; б—коллектор для выхода охлажденного газа.
Вертикальный конденсатор (рис. VI-19) также представляет собой котел, заполняемый до определенного уровня жидким аммиаком. В котле размещены змеевики 3 (трубы высокого давления). Азото-во до родная смесь входит в конденсатор через верхний коллектор 2 и движется через параллельно включенные змеевики (до 12. шт.) внутренним диаметром 25—35 мм. Охлажденная газовая смесь выходит из аппарата через нижний коллектор б при температуре 10—20 °С.. Охлаждающая поверхность змеевиков-испарителей, установленных на крупных агрегатах, достигает 100 м*.Жидкий аммиак подается в испаритель (конденсатор) снизу, газообразный испарившийся аммиак отводится по трубке в ловушку /. Здесь задерживаются капли жидкого аммиака, уносимые газом; жидкость стекает обратно в аппарат через вертикальную трубу 5.
Сепараторы и фильтры
Фильтры предназначены для очистки газа от твердых и жидких веществ, сепараторы — для отделения жидкого аммиака.
Применяются следующие способы выделения из газа твердых примесей и капель жидкости: фильтрация через пористые материалы, очистка под действием силы тяжести и резкого изменения скорости и направления газа, очистка в поле центробежных сил (созданием вращательного движения газа). Различают несколько типов сепараторов и фильтров.















