151377 (733004), страница 3
Текст из файла (страница 3)
при необходимости использовать сгонные линии или другие устройства, позволяющие прокачивать воду через экономайзер, помимо котла либо питать котел и дренировать воду через нижние продувочные точки;
при останове котла на капитальный ремонт необходимо провести гидравлическое испытание и осмотр экономайзера. Особое внимание при осмотре обратить на места фланцевых соединений и сварки змеевиков;
после наружной очистки змеевиков определить степень коррозионного разрушения и износа поверхностей нагрева экономайзера, приняв меры к защите или замене наиболее изношенных мест;
при заготовке труб для ремонта экономайзеров проверять их качество по сертификатам;
сварку труб экономайзеров поручать только дипломированным специалистам прошедшим специальную теоретическую и практическую подготовку;
после капитального ремонта проверить, произведена ли замена дефектных опор, подвесок и связей змеевиков, прокладок фланцевых соединений, подводящих, отводящих, перепускных труб, а также демонтаж изношенной и монтаж новой золозащиты, выборочная замена труб поверхностей нагрева экономайзера и т. п.
На котлах, в которых наблюдается интенсивный общий износ экономайзеров, необходимо периодически производить переборку изнашиваемых пакетов, ибо при отбраковке змеевиков в газоходе зачастую не удается выявить все дефекты. Периодичность переборки определяется в зависимости от местных условий эксплуатации котла.
5. Требования к конструкции обеспечивающие надёжность работы экономайзера
1) Основное требование к конструкции, экономайзеров и их основных частей - обеспечение надежной, долговечной и безопасной эксплуатации на расчетных параметрах в течение расчетного ресурса безопасной работы, принятого в технических условиях (техническом задании), а также возможность технического освидетельствования, очистки, промывки и ремонта.
2) За выбор конструкции и материалов экономайзеров и их элементов, расчет на прочность, качество изготовления, монтажа, наладки и ремонта, а также за соответствие их настоящим Правилам отвечает организация (предприятие), выполнявшая конкретные работы. Все изменения проекта, необходимость в которых возникла в процессе ремонта или наладки, должны быть согласованы с проектной организацией.
3) Конструкция водоподогревателя должна обеспечивать возможность равномерного прогрева их элементов при нормальном режиме работы, а также возможность свободного теплового расширения отдельных частей.
4) Участки элементов экономайзеров с повышенной температурой поверхности, доступные для обслуживающего персонала, должны быть покрыты тепловой изоляцией, обеспечивающей температуру наружной поверхности не более 318 К (45°С) при температуре окружающей среды не более 298 К (25°С).
5) Конструкция водоподогревателя должна обеспечивать полное опорожнение от воды и шлама, а также удаление воздуха из всех элементов, в которых могут образовываться воздушные пробки при заполнении и пуске.
6) Продольные сварные швы соседних обечаек цилиндрических элементов, а также швы сварных днищ не должны располагаться по одной оси. Смещение осей этих швов должно быть не менее 100 мм.
7) Расстояние от оси сварного стыкового шва до начала закругления штампованного днища должно составлять не менее 25 мм.
8) Продольные сварные швы в цилиндрических горизонтальных водоподогревателях должны располагаться вне пределов 140° нижней их части, а кольцевые (поперечные) сварные швы - вне опор.
6. Определение возможности, параметров и срока безопасной эксплуатации экономайзера
Возможность, параметры и срок дальнейшей безопасной эксплуатации чугунного экономайзера, отработавшего назначенный срок службы, определяется по результатам его технического диагностирования и гидравлического испытания пробным давлением.
Продолжение дальнейшей безопасной эксплуатации чугунного экономайзера на расчетных или разрешенных параметрах возможно:
- при отсутствии недопустимых дефектов элементов;
- после восстановительного ремонта;
- после замены изношенных элементов на новые;
- при положительных результатах гидравлического испытания экономайзера пробным давлением.
Рекомендуемый срок продления безопасной эксплуатации экономайзера на расчетных (разрешенных) параметрах следующий:
- 4 года при эксплуатации экономайзера с котлом, работающим на топливе с приведенным содержанием серы более 0,2%;
- 8 лет при эксплуатации экономайзера с котлом, работающим на топливе с приведенным содержанием серы не более 0,2%;
- 12 лет при эксплуатации экономайзера с котлом, работающим на газовом топливе.
По истечении рекомендуемого срока продления безопасной эксплуатации экономайзера проводится очередное техническое диагностирование для определения возможности, условий и нового срока дальнейшей его безопасной эксплуатации.
7. Программа испытаний экономайзеров
Испытания – это комплекс операций проводимых с целью определения действительного технического состояния установки, ее возможных дефектов, а также для диагностирования режимов безопасной эксплуатации.
-
Цель испытаний -, определить фактическое состояния деталей и сборных единиц экономайзера, определить возможность, условия и срок их дальнейшей безопасной эксплуатации, определить теплотехнические характеристики (теплопроизводительность, КПД, коэффициент теплопередачи от газа воде), влияющие на экономичность работы котла.
-
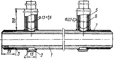
Объектом является чугунный экономайзер, изготовляемый Кусинским машиностроительным заводом и Белгородским заводом энергетического машиностроения, эксплуатирующихся на рабочем давлении до 2,8 МПа (28 кгс/см2) в блоке с паровыми котлами. (рис.7).
Рис.7. Экономайзер
Рис.8. Схема размещения точек измерений при проведении испытаний экономайзера.
Рис. 9. Двусторонняя температурная вставка
1 – труба; 2 – канавка; 3 – спай; 4 – защитное кольцо; 5 – отводная трубка; 6 – кожух; 7 – металлический стержень;
Испытаниями экономайзеров должны предшествовать анализ и изучение проекта, режимов работы, предшествующих аварий и тепловой расчет, которые позволят грамотно и целенаправленно разработать программу испытаний, не перегружая ее работами и максимально сокращая объем измерений с сохранением надежности результатов.
Тепловой баланс экономайзера:
Количество тепла, переданного продуктами сгорания воде в водяном экономайзере:
При наличии пароохладителя, охлаждающая вода после которого поступает в экономайзер, полезно затраченное тепло на нагрев воды в экономайзере определяется по формуле:
Количество тепла, отданного продуктами сгорания в газопроводе водяного экономайзера:
Теплосодержание продуктов сгорания до водяного экономайзера:
То же за экономайзером:
Количество тепла, внесенного в газоход присосанным воздухом:
Потери тепла в окружающую среду газоходом экономайзера:
Уравнение теплового баланса водяного экономайзера на 1 кг сожженного топлива:
Коэффициент полезного 'действия водяного экономайзера:
Объемы сухих продуктов сгорания и водяных паров до и за водяным экономайзером:
Теплоемкости и температуры продуктов сгорания до и за водяным экономайзером:
Тепловые характеристики каждой секции экономайзера определяют путем измерения приращения температур воды в крайнем, среднем и промежуточном змеевиках для кипящей ступени; в крайнем, среднем и каждом седьмом – десятом змеевиках для кипящей ступени экономайзера. Оценить тепловую разверку кипящей ступени путем изменения температуры среды на выходе из змеевиков можно только в режиме увеличенного расхода воды, т.е. при искусственном переводе этой ступени экономайзера в некипящий режим.
В противном случае необходимо снять после температур газового потока до и после кипящей ступени экономайзера. Коэффициенты тепловой разверки определяются по формуле или в зависимости от конструктивного выполнения секции. На выходных участках змеевиков кипящей ступени экономайзера устанавливают температурные вставки для измерения температуры металла труб, особенно при режимах работы, сопровождающихся расслоением пароводяной смеси.
В экономайзере, подверженному золовому износу, одной из важных задач является контроль за интенсивностью износа.
Надежностью гидравлического износа экономайзеров определяется нормальными температурными условиями работы металла при устойчивом движении, невозможностью застоя и опрокидывания потока в отдельных трубах, отсутствием пульсаций, кипением воды в некипящих элементах или полного испарения в кипящих элементах, обеспечением отвода газов и отсутствием скоплений внутренних отложений. В кипящих экономайзерах не должно быть расслоения потока. Достаточную для этого массовую скорость определяют для минимальной нагрузки котла, при которой возможно кипение в развернутой трубе. Проверка застоя и опрокидывания потока в кипящих экономайзерах с подъемным движением воды. Энтальпия воды на входе в разверенную трубу принимается при этом равной энтальпии воды при температуре насыщения. Элементы экономайзеров, входящие в барабан выше уровня воды, на опрокидывания потока не проверяют.
Конвективные кипящие экономайзеры с горизонтальными змеевиками, выполнение с учетом рекомендаций на застой и опрокидывание потока не проверяют. В элементах кипящих экономайзеров с паросодержанием на выходе
возможно появления пульсаций потока.
Во избежание перегрева труб кипящего экономайзера паросодержание в них не должно превышать 80%. Проверку следует производить для экономайзеров, имеющих средне паросодержание на выходе более 25%, а также для обогреваемых отводящих и подвесных труб и при сжигании сильношлакующих топлив.
Массовая скорость в кипящих экономайзерах должна обеспечивать безопасный температурный режим труб при номинальной и растопочной нагрузках. Для некипящих экономайзеров докритического давления и конвективных экономайзеров сверхкритического давления исходное значение массовой скорости потока должно предотвращать скопление газовых пузырей. Минимальная массовая скорость в разверенной трубе должна быть не менее
.















