151227 (732943), страница 2
Текст из файла (страница 2)
(7)
(R [см], m [вт/сек3/см2], v0 [см/сек], е [а*сек], В [в*сек/см2])
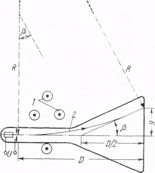
С помощью равенства (7) можно рассчитать то отклонение у, которое испытывает электродный луч в трубке Брауна при действии магнитного поля (например, магнитного поля земли). Как видно из рис. 4, для малых отклоняющих углов (малые у) справедливо соотношение
и
(8)
Если в трубке Брауна измерить отклонение у, то по соотношению (8) можно определить величину отношения е/m
(9)
Величина e/m имеет размерность см2/в*сек2, если в формулу для е/m подставить U0 (анодное напряжение в трубке Брауна) в вольтах, D (протяженность действия магнитного поля) в см и В в в*сек/см2. Магнитная индукция В может быть определена, например, по измерениям периода колебаний стрелки компаса.
Рис.4. Определение е/m с помощью электроннолучевой трубки, помещенной в магнитное поле земли.
1 - магнитное поле земли (индукция В); 2 - электронный луч.
Указанный метод измерений применяется и как «электронный» компас, так как величина отклонения у достигает максимума, когда ось трубки перпендикулярна к горизонтальной компоненте поля земного магнетизма, и тем самым перпендикулярна к направлению север - юг. (На магнитном полюсе показания будут ошибочными.) Для быстрых электронов отношение е/m может быть определено с помощью камеры Вильсона, помещенной в магнитное поле.
Литература
-
Достанко А.П. Технология интегральных схем.-Мн: Вышэйшая школа, 2002 - 206 с.
-
Гурский Л.И., Степанец В.Я. Проектирование микросхем.-Мн.: Навука i тэхнiка, 2001 - 295 с.
-
Гурский Л.И., Зеленин В.А., Жебин А.П., Вахрин Г.Л. Структура, топология и свойства пленочных резисторов.-Мн.: Навука i тэхнiка, 2007 - 250 с.
-
Гурский Л.И., Румак Н.В., Куксо В.В. Зарядовые свойства МОП-структур.-Мн.: Навука i тэхнiка, 2000 - 200 с.















