151122 (732923), страница 2
Текст из файла (страница 2)
Вывод. В этом опыте мы пропускаем через первую катушку ток, который создает магнитный поток и при движении второй катушки внутри первой, происходит пересечение магнитных линий, поэтому возникает индукционный ток При проведении эксперимента исследования явления электромагнитной индукции выявлено, что этот эксперимент помогает студентам понять:
причины возникновения ЭДС.
зависимость величины ЭДС от скорости перемещения магнита
зависимость направления ЭДС от направления движения магнита
Недостатком данного эксперимента является не точность измерений
В процессе исследования закона электромагнитной индукции на основе опытов Фарадея в виртуальном режиме были сделаны следующие выводы:
виртуальный режим помог понять:
причины возникновения индукционного тока;
от чего зависит направление и величина индукционного тока;
независимо, что перемещаем магнит или катушку возникает индукционный ток;
перемещение катушки, подключенной к источнику питания, внутри другой катушки, то же возникает индукционный ток;
Проведя исследования опытов Фарадея можно подвести итоги этой работы. Эти исследования дают возможность всем студентам, не зависимо от степени подготовки, понять причину возникновения индукционного тока и провести необходимые расчеты; более точно провести замеры и расчеты, используя знания по дисциплине "Информатика" построены графики.
3. Практическое применение явления электромагнитной индукции
3.1 Радиовещание
После того как было открыто электричество, его использовали в качестве "почтальона", предающего информацию с молниеносной быстротой.
Но ведь телефонные и телеграфные провода не протянешь за кораблём или за самолётом, за поездом или автомобилем. Перекинуть мост через пространство людям помогло радио. В переводе с латинского "радио" означает "излучать".
Первый кирпич в фундамент радиотехники, как мы уже знаем, заложил датский профессор Ганс Христиан Эрстед, который показал, что вокруг проводника с током возникает магнитное поле. Его соотечественник и последователь Джеймс Максвелл пришёл к выводу, что переменное магнитное поле, возбуждаемое изменяющимся током, создаёт в окружающем пространстве электрическое поле, которое в свою очередь возбуждает магнитное поле, и т.д. Взаимно порождая друг друга, эти поля образуют единое переменное электромагнитное поле - электромагнитную волну. Возникнув в том месте, где есть провод с током, электромагнитное поле распространяется в пространстве со скоростью света -300000 км/с. Максвелл утверждал, что волны света имеют ту же природу. Они отличаются только длиной. Видимый свет - это короткие волны, а электромагнитные волны- это волны большей длины. В 1888 г. их впервые смог получить и исследовать немецкий физик Рудольф Герц. Однако путей практического применения своего Генрих открытия он не нашел. Эти пути увидел Александр Степанович Попов. Опираясь на результаты опытов Герца, он создал прибор для обнаружения и регистрирования электрических "колебаний" - радиоприёмник.7 мая 1895 г. А.С. Попов сделал доклад на заседании Русского физико-химического общества в Петербурге и продемонстрировал в действии свои приборы связи. Это был день рождения радио. Первый радиоприёмник Попова имел очень простое устройство: батарея, электрический звонок, электромагнитное реле и стеклянная трубка с металлическими опилками внутри - когерер (от латинского слова "когеренция" - "сцепление".
Передатчиком служил искровой разрядник, возбуждавший электромагнитные колебания в антенне, которую Попов впервые в мире использовал для беспроводной связи. Под действием радиоволн, принятых антенной, металлические опилки в когерере сцеплялись, и он начинал пропускать электрический ток от батареи. Срабатывало реле, включался звонок, а когерер получал "лёгкую встряску", сцепление между металлическими опилками ослабевало, и они были готовы принять следующий сигнал.
Продолжая опыты и совершенствуя приборы, А.С. Попов медленно, но уверенно увеличивал дальность действия радиосвязи.
Через 5 лет после создания первого приёмника начала действовать регулярная линия беспроволочной связи на расстояние 40км.
Благодаря радиограмме, переданной по этой линии зимой 1900 года, ледокол "Ермак" снял со льдины рыбаков, которых шторм унёс в море.
Радио, начавшее свою практическую историю спасением людей, стало новым прогрессивным видом связи 20 века.
3.2 Магнитотерапия
В спектре частот разные места занимают радиоволны, свет, рентгеновское излучение и другие электромагнитные излучения. Их обычно характеризуют непрерывно связанными между собой электрическими и магнитными полями.
Однако при определенных условиях электрическая и магнитная составляющие становятся практически независимыми, и их можно рассматривать отдельно.
"Магнитотерапия" (лечение магнитным полем) и "магнитобиология" (биологическое воздействие магнитным полем) - термины, относящиеся к низкочастотному диапозону. Для лечения с помощью электромедицинских аппаратов используют постоянное магнитное поле (франклинизация), магнитное поле 10-40 мГц (индуктотерапия), электрическое поле 25-50 мГц (УВЧ - терапия). Отмечено, что при воздействии магнитным полем происходит изменение окислительно-восстановительных процессов и перекисного окисления липидов, перестройка в звеньях эндокринной системы. Противовоспалительный эффект действия магнитного поля связывают с изменением в свертывающей и противосвертывающей системах крови, улучшением микроциркуляции, а также выбросом гормонов. Магнитотерапия применяется в имплантологии и травматологии, т.к. ускоряет процессы регенерации тканей.
3.3 Синхрофазотроны
В настоящее время под магнитным полем понимают особую форму материи состоящую из заряженных частиц. В современной физике пучки заряженных частиц используют для проникновения в глубь атомов с целью их изучения.
Сила, с которой действует магнитное поле на движущуюся заряженную частицу, называется силой Лоренца.
Fл=qBvsin@
где B - индукция магнитного поля, то есть его силовая характеристика.
@ - это угол между направлением скорости и направлением индукции.
Но энергия частиц, испускаемых при естественном распаде радиоактивных веществ, относительно невелика. Поэтому возникла необходимость создания искусственных источников заряженных частиц высоких энергий – ускорителей.
3.4 Расходомеры - счётчики
3.4.1 Принцип измерения
Основан на применении закона Фарадея для проводника в магнитном поле: в потоке электропроводящей жидкости, движущейся в магнитном поле наводится ЭДС, пропорциональная скорости потока, преобразуемая электронной частью в электрический аналоговый/цифровой сигнал.
Особенности расходомеров SLON 1000, SLON 2000 и SLON 3000 и их класс точности
1. Расходомеры SLON 1000 - SLON 3000 предназначены для измерения объемного расхода и объема электропроводящих жидкостей с удельной электропроводностью не менее 10 мс/см. .
2. Гладкость внутренней облицовки расходометра позволяет избежать возникновения препятствия при измерении;
3. Измеряет не зависимости от давления, температуры, плотности и других особых характеристик измеряемых жидкостей;
4. Измеритель адаптирован к высокой изменчивости потока;
5. Во избежание высокого давления, внутренняя оболочка измерителя укреплена металлической сеткой, выполненная из материала FEP.
6. Преобразователь серии S надежен и легко в эксплуатации в своем классе; устранить его неисправности может даже н
7. Класс точности: 0,5%FS (по индивидуальным заказам возможен вариант 0,25% FS)
8. Выходные сигналы:
SLON 1000: 0 - 10мА или 4 - 20 мА;
SLON 2000 - 2-строчные жидкокристаллический индикатор состояния, 4-20мА, Rackbus RS 485
SLON 3000 - 4-строчные жидкокристаллический индикатор состояния, 4-20мА, Rackbus RS 485
Сертификат взрывозащиты: Eexia iiBT5
Диапазон измерения (м/s): 0.1 - 10m/s
Максимальный предел (м/s): 0.5 - 10m/s
Рекомендованный диапазон использования (м/s): 1-5 m/s
3.5 Электрические генераторы
3.5.1 Генератор постоянного тока
В режиме генератора якорь машины вращается под действием внешнего момента. Между полюсами статора имеется постоянный магнитный поток, пронизывающий якорь. Проводники обмотки якоря движутся в магнитном поле и, следовательно, в них индуктируется ЭДС, направление которой можно определить по правилу "правой руки". При этом на одной щетке возникает положительный потенциал относительно второй. Если к зажимам генератора подключить нагрузку, то в ней пойдет ток. После поворота якоря на некоторый угол щетки окажутся соединенными с другой парой пластин, т.е. подключаются к другому витку якорной обмотки, ЭДС в котором будет иметь то же направление. Таким образом, генератор вырабатывает электрический ток, и направление этого тока, протекающего через нагрузку, не изменяется. При подключении нагрузки к генератору и с появлением тока якоря, на валу возникает электромагнитный момент, направленный против направления вращения якоря. В режиме двигателя на зажимы машины подается постоянное напряжение, и по якорной обмотке идет ток. Проводники якорной обмотки находятся в магнитном поле машины, созданном током возбуждения и, следовательно, на них, согласно закону Ампера, будут действовать силы. Совокупность этих сил создает вращающий момент, под действием которого якорь будет вращаться. При вращении якоря в его обмотке наводится ЭДС, которая направлена навстречу току, и поэтому для двигателей она называется противо-ЭДС.
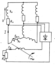
3.5.2 Синхронный генератор
На рис.13.2 показана конструктивная схема явнополюсной трехфазной синхронной машины, состоящей из статора 1, трехфазной обмотки статора 2, явнополюсного ротора 3, обмотки ротора 4, вала ротора 5, контактных колец б, щеток 7. Следует отметить, что обмотки статора и ротора имеют одинаковое число полюсов.
Постоянный ток обмотки возбуждения ротора создает основное магнитное поле машины. Магнитные линии потоков каждого полюса образуют замкнутые контуры. Распределение магнитной индукции в зазоре между полюсом ротора и статора синусоидально. Регулирование током возбуждения Iв можно осуществлять с помощью реостата Rр. При вращении ротора поток Фо вращается вместе с ним и пересекает обмотки статора. При этом в обмотках статора индуцируется трехфазная система ЭДС.
Действующее значение каждой фазной ЭДС - число витков фазной обмотки статора, kоб - обмоточный коэффициент.
Фазные ЭДС равны по значению и отстают друг от друга по фазе на угол.
Заключение
В процессе исследования закона электромагнитной индукции на основе опытов Фарадея в виртуальном режиме были сделаны следующие выводы:
Виртуальный режим помог понять:
причины возникновения индукционного тока;
от чего зависит направление и величина индукционного тока;
независимо, что перемещаем магнит или катушку возникает индукционный ток;
перемещение катушки, подключенной к источнику питания, внутри другой катушки, то же возникает индукционный ток;
используя знания по дисциплине "Информатика" построены графики
зависимости ЭДС:
от скорости движения магнита;
от величины магнитной индукции;
Технология программированного обучения предполагает получение студентами порций информации (текстовой, графической, видео-все зависит от технических возможностей) в определенной последовательности и обеспечивает контроль за усвоением данного материала
Список использованных источников
-
Основная:
-
Физика -учебное пособие для техникумов, автор В.Ф. Дмитриева, издание Москва "Высшая школа" 2004г;
-
Информатика-практикум по компьютерной технологии, авторы
-
О. Ефимова, М. Моисеева, Ю. Шафрин, издание 1997г;
-
Дополнительная:
-
Конспект-лекции по дисциплинам "Физика" и "Информатика";
-
Физика-учебник для 11 класса, авторы: Г.Я. Мякишев и Б.Б. Буханцев М. Просвещение, издание 2004 г.
Приложение. Алгоритм построения графиков в электронной таблице МS Excel
выделить ячейку А1;
ввести текстовое значение "h";
выделить ячейку А2;
ввести число "2,5";
выделить ячейку В1;
ввести текстовое значение "n";
выделить ячейку В2;
ввести число "7";















