150266 (732662), страница 3
Текст из файла (страница 3)
Розбирання більшості електричних машин починається з видалення пів муфти з вала за допомогою ручного або гідравлічного знімача.
Знімач з регульованим розкриттям тяг (Рис. 7, а), дозволяє знімати з валу пів муфти різних діаметрів. Розкриття та фіксування тяг відбувається за допомогою регулювальної гайки 2, що навернута на різьбу гвинта 1. Тягове зусилля, що створюється за допомогою ручного знімача являється складною операцією, що потребує значних фізичних зусиль, тому для демонтажу півмуфт, які не піддаються стягуванню, застосовують гідравлічний знімач.
Рис. 7. Знімачі для стягування (розпресовування) півмуфт і підшипників кочення з валів електричних машин
а – гвинтовий знімач з регульованим розкриттям тяг, б – гідравлічний знімач, в – знімач для стягування підшипників кочення захватом за підшипник, г - знімач для стягування підшипників кочення захватом болтами за кришки або капсули підшипника; 1 – черв’ячний гвинт з головкою, 2 – регулювальна гайка, 3 – тяги, 4 – майданчик, 5 – стійка, 6 – траверси, 7 – захвати, 8 – плунжерний насос, 9 – рукоятка штока насоса, 10 – пластинка зі штифтами, 11 – шпильки, 12 – плита, 13 – диск, 14 – корпус знімача
Гідравлічний знімач (Рис. 7, б), представляє собою встановлений на колесах майданчик 4 з двома стійками 5, на яких вертикально переміщується гідравлічний плунжерний насос 8. Щоб зняти півмуфту, встановлюють та закріплюють болтами на корпусі насоса траверси 6, між якими також болтами закріплюють захвати 7.
Догляд за підшипниками. для нормальної роботи двигуна його підшипники ковзання потрібно тримати у чистоті. Для цього кришки підшипників щільно закривають. Олива, що застосовується для змазування підшипників, не повинна вміщувати кислоту або смолу.
Для нормальної роботи підшипників з кільцевим змащуванням необхідно не менш двох разів за зміну перевіряти обертання кілець і чистоту оливи.
Перед заміною змазки підшипники промивають керосином, продувають повітрям, промивають тією маркою оливи що застосовується для даних підшипників, а після цього заливають свіжу оливу.
Якщо підшипники працюють нормально і не нагріваються, то огляд і заміна оливи здійснюється при чергових ремонтах, а також по мірі необхідності в залежності від стану змащування.
Після зборки підшипникових вузлів перевіряють легкість обертання ротора від руки а потім вмикають електродвигун та обертають його 15 хвилин вхолосту. Якщо стан підшипників нормальний , при прослуховуванні чутний рівномірний гул без стуків та ударів.
3.3 Ремонт колекторів
Натиснення окремих щіток на колектор не повинно відрізнятися більш ніж на 10% від середнього значення, інакше через щітки з більшим натисненням проходитиме значно більший струм, чим через всі останні. Це приводить до підвищеного їх нагріву, а також нерівномірного зносу колектора.
Під час роботи відбувається ослаблення нажимних пружин в щіткотримачах. Причиною значного ослаблення може бути струм, що проходить через пружину або поганому контакті наконечников струмопровідних проводів щітки з бракетом або їх обриві. Струм нагріває пружину і приводить до її відпалу.
Натиснення на щітку 3 (Рис. 8), пружиною, вимірюють динамометром 4, закріпленим за важіль 5 в тому місці, де він тисне на щітку. Між щіткою і колектором 1 прокладають лист паперу. Плавно натягуючи динамометр за гачок, помічають його свідчення в мить, коли папір може бути без зусилля витягнутий. Воно відповідатиме натисненню щітки на колектор, яке повинне бути витримано в межах, що рекомендуються для даної машини.
Рис. 8. Вимірювання зусилля натиснення на щітку
1 - колектор, 2 - палець щіткотримача, 3 - щітка, 4 - динамометр, 5 - важіль
Зазор h між щіткотримачем і коллектором впливає на стійкість щітки. При великих зазорах щітка перекошується і важко її ковзає в обоймі щіткотримача. У крупних машинах величину h витримують в межах 2- 4 мм, в машинах меншої потужності - від 1 до 2,5 мм.
Поверхня гнізда у щіткотримача повинна бути рівної і гладкої з ледве помітними слідами механічної обробки. Зазор між щіткою і стінкою обойми у напрямі дотичної до поверхні колектора повинен знаходитися в межах 0,1-0,25 мм (великі значення для великих розмірів щіток). Більший зазор приводить до перекосу щітки і утрудненого переміщення в радіальному напрямі, що погіршує її контакт з колектором. Перекіс особливо шкідливий для реверсивних машин, оскільки при зміні напряму обертання щітка нахиляється в протилежну сторону, що приводить до зменшення її поверхні прилягання до колектора. У аксіальному напрямі (по осі коллектора) допускається декілька більший люфт щітки в обоймі (0,2- 0,5 мм).
Послідовність операцій при обробці робочою поверхні колектора приведена на Рис. 9.
Глибокі подгари, кільцеві канавки, підвищене биття робочої поверхні усувають проточкою колектора, знімаючи мінімальний шар міді, необхідний для отримання рівної поверхні. Колектори малих і середніх машин проточують на токарних верстатах, колектори крупних машин - при обертанні якоря у власних підшипниках, застосовуючи спеціальні супорти, які встановлюють на траверсі або щиті, знявши частину щіткотримачів.
Рис. 9. Послідовність операцій при обробці робочої поверхні колектора:
1 - обточування, 2 - продорожуваніє, 3,8 - продування стислим повітрям, 4 - зняття фасок, 5 - шліфовка і поліровка, 6 - притирання щіток, 7 - чищення дрантям
Високу чистоту отримують остаточною обробкою поверхні діамантовими різцями при малій глибині, малих подачах (0,02- 0,05 мм/об) і високих швидкостях різання (200-100 м/хв). Частота обертання при обробці не повинна перевищувати номінальну частоту обертання машини, якір повинен бути відбалансований.
Після проточки колектор шліфують дрібнозернистою скляною шкіркою і полірують. Для шліфування застосовують пристосування, в якому шкірку закріплюють на увігнутій поверхні дерев'яної колодки. Пристосування встановлюють в супорті токарного верстата і пружиною притискують колодку до колектора.
Рис. 10. Правильне (а) і неправильное (б) продорожуваніє колектора
Шліфовку проводять також точильным бруском, встановлюючи його в супорті як різець. Цей спосіб застосовують для усунення неглубоких пошкоджень.
Ізоляцію між пластинами у міру зносу і проточок коллектора випилюють (продорожувають) на глибину h np (Рис. 10, а), знімаючи на краях пластин фаски. Цю операцію виконують при поточному ремонті спеціальною пилою. Глибина продорожуванія у малих машин складає від 0,5-0,8 мм, у середніх - 1-1,5 мм, у великих - до 2 мм. Видаляти ізоляцію на велику глибину недопустимо, оскільки в глибоких канавках скупчується щітковий пил, який може привести до замикання колекторних пластин.
Продорожування необхідне, щоб забезпечити контакт щітки з колектором, тому що міканіт твердіше за мідь і при зносі пластин виступатиме над робочою поверхнею. Не можна залишати міканіт у бічних стінок (Рис. 10, б), оскільки контакт щітки з коллектором порушуватиметься при невеликому зносі його поверхні.
Переносні пристрої для продорожуванняя дозволяють механізувати цей трудомісткий процес. Ізоляцію між пластинами видаляють дисковою фрезою, розташованою в робочій частині 4 (Рис. 11, а) пристрої. Фреза приводиться в обертання електродвигуном 1 з редуктором 6 через карданний або гнучкий вал. Кнопка 3 включення і відключення електродвигуна для зручності розміщена в правій рукоятці робочої частини, магнітний пускач 2 - на електродвигуні.
Робоча частина забезпечена метричною шкалою для установки дискової фрези залежно від товщини колекторної пластини, а також концентричним затиском, що дозволяє регулювати глибину продорожування. Ширина фрези підбирається в залежності з товщиною ізоляції між колекторними пластинами.
Рис. 11. Переносні пристрої для продорожуванія колекторів з приводом від електродвигуна (а) і з пневматичним приводом (б)
1 – електродвигун, 2 - магнітний пускач, 3 - кнопка, 4 - робоча частина, 5 - карданний вал, 6 - редуктор, 7 - рукоятка, 8 - упори, 9 - направляючий диск, 10- фрези, 11 - пневматична свердлильна машина; 12 – гайка
Перед початком роботи електродвигун заземляють і підключають до мережі. За допомогою каретки і рухомих опор встановлюють необхідну глибину продорожування і настроюють робочу частину відповідно до товщини колекторної пластини.
Першу ізоляційну прокладку продорожують вручну. Потім, узявши в руки робочу частину пристосування, ставлять її направляючим ножем в продороженну канавку, включають електродвигун і переміщають робочу частину уздовж колектора, продорожуючи другу ізоляційну прокладку. Натискаючи кнопку, зупиняють електродвигун, встановлюють ніж в тільки що вибрану фрезою канавку і продорожують наступну прокладку.
Переносний пристрій в 4 рази знижує витрати праці на продорожування колектора в порівнянні з ручним випилюванням ізоляції і набагато підвищує якість виконання цієї операції, тому воно знаходить широке застосування при ремонті електричних машин.
Продорожування за допомогою пристосування виконують в захисних окулярах, рукави одягу зав'язують на кистях рук. Фреза повинна обертатися за годинниковою стрілкою, якщо дивитися з боку лівої рукоятки. Напрям обертання вказаний на корпусі пристрою. Приступаючи до роботи, треба переконатися в правильності напряму обертання фрези і міцності її кріплення.
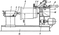
Рис. 12. Верстат-напівавтомат для продорожування колекторів
Для продорожуванія застосовують також пневматичніпристосування. Як привід в них може бути використана пневматична сверлилка 11 (Рис. 11, б), яку вбудовують непосредственно в робочу частину пристосування. Карданний вал при такій конструкції відсутній. Поряд з фрезою 10 на відстані, рівному товщині пластини, встановлюють направляючий диск 9. Упори 8 з текстоліту додають стійке положення пристосуванню при русі його уздовж колектора за допомогою рукояток 7. Гайки з накаткою 12 дозволяють переміщати упори для регулювання глибини урізування фрези. Першу прокладку продорожувают вручну, щоб встановити між пластинами направляючий диск.
При великому числі колекторних пластин трудомістку операцію по продорожуванню в умовах електроремонтного цеху виконують на спеціальних верстатах.
На рис. 12 представлений верстат-напівавтомат для колекторів 0 350-800 мм.
Список використаних джерел
-
Атабеков В. Б. Ремонт электрооборудования промышленных предприятий: Учебник для сред, проф.-техн. училищ. — 4-е изд., перераб. и доп. — М.: Высш. школа, 1979. — 256 с, ил. — (Профтехобразование. Энергетика).
-
Бондар В. М., Гаврилюк В. А., Духовний А. X. та ін. Практична електротехніка для робітничих професій: Пі-друч. для учнів проф.-навч. закладів з різноманіт. галузей пром.-сті та побут, обслуг.— К.: Веселка, 1997. — 191 с.
-
Егоров Г. П. и Коварский А. И.ЕЗО Устройство, монтаж, эксплуатация и ремонт промышленных электроустановок. Изд. 3-е, перераб. Учебник для профес.-технич. учебных заведений и подг. рабочих на произв. М., «Высшая школа», 1972 (I кв.) 352 с. с илл.
-
Кокорев А.С. Злектрослесарь по ремонту злектрических машин: Учеб. для СПТУ.
-
Кисаримов Р.А. Справочник електрика















