150174 (732623), страница 3
Текст из файла (страница 3)
Плоскохвилеводний оптичний хімічний сенсор чотирьохшарової конструкції [6,7,8]: підкладка з плавленого кварцу, що відіграє роль посередника для введення світла в хвилевід через торець посередника; полімерний хвилевід з поліметилметакрилата товщиною 0,920 ± 0,014 мкм; чуттєвий шар - полідиметилсилоксан функціоналізований катіонами брильянтового зеленого (рис.3.4).
Рис.3.4.Чотирьохшарова конструкція плоскохвильового оптичного хімічного сенсора.
Зразки для вимірювання й обладнання. В якості підкладки можна використовувати диски плавленого кварцу діаметром 40 мм і товщиною 4 мм із відшліфованою бічною гранню. Товщина полімерних хвилеводів має бути рівною 100, 20 і 0,920 ± 0,014 мкм, ширина - близько 5 мм і довжина - 40 мм. Товщина полідиметилсилоксан (ПДМС) - плівки, визначена за спектрофотометрической методикою, склала 0.22 ± 0.02 мкм.
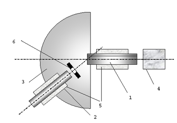
Вимірювальна система (рис.3.5) [9]. Джерело світла - твердотільний лазер з максимумом випромінювання 645 нм, фотоприймачі - ФЕП-106, спадання напруги на якому зчитувалось вольтметром У7-38, фотодіод ФД-256 і фотоприймач спектрофотометра СФ-46. Напруга живлення ФЕП: 1860 В від стабілізованого випрямляча ВР-22.
Рис.3.5. Вимірювальна система: 1 - зразок, 2- лазер, 3 - поворотний пристрій,
4 -фотоприймач, 5 - тримачі, 6 - діафрагма.
Для виявлення оптимального кута введення світла в зразок джерело світла закріплене на поворотному пристрої. Як аналітичний сигнал сенсора використана величина абсолютного сенсорного ефекту рівна різниці спадів напруги до і після вводу аміаку: ΔU = (U– U0 ); де U0 - значення фотовідгуку сенсора у відсутності аміаку, U - значення фотовідгуку сенсору в присутності аміаку.
Для дослідження сенсорних властивостей функціонального полімеру зразок поміщався у вимірювальну комірку і напускалась аміачно-повітряна суміш. Час повного циклу напуск-регенерація складав близько 18 хвилин (рис.3.6), що відповідає вимогам, пропонованим до засобів контролю повітря населених місць. Аналітичний сигнал (ΔU) зв'язаний з оборотним знебарвленням плівки чуттєвого шару, тобто зниженням його оптичної густини (А) у результаті взаємодії катіона брильянтового зеленого з молекулами аміаку (рис.3.7).
Рис.3.6. Повний цикл напуску аміачно-повітряної суміші.
Рис.3.7. Зміна спектру поглинання плівки ПДМС при взаємодії з аміаком.
Дослідження довгострокової стабільності сенсорних властивостей полімеру (16 місяців) (рис.3.8) показало стабільність роботи в плині перших 8 місяців (дрейф фонового сигналу (U0 - початкове значення фотовідгуку на повітрі) = 1%) [6]. Протягом наступних 8 місяців спостерігався ріст значення фотовідгуку сенсора на 50%, зв'язаний з поступовим знебарвленням барвника, що приводить до просвітління чуттєвої плівки ПДМС.
Рис.3.8. Часовий дрейф фонового сигналу сенсора.
Рис. 3.9. Кінетична залежність зміни аналітичного сигналу сенсора від концентрації аміаку в потоці аміачно-повітряної суміші.
На основі кінетичної кривої (рис.3.9) був побудований градуюровочний графік сенсора на аміак у діапазоні концентрацій 4-37 мг/м3 (рис.3.10) і розрахована межа виявлення, яка склала 1 мг/м.
Рис.3.9.Градуюровочний графік сенсора аміаку в макеті газоаналізатора.
Для подальших досліджень обрана плоскохвилеводна конструкція оптичного сенсора. Для збільшення чутливості аналізу був застосований тонкоплівковий полімерний хвилевід з поліметилметакрилата.
Визначений оптимальний кут введення світла в зразок, що відповідає максимумові інтенсивності вихідного з хвилеводу світла і рівний 360, причому як для різних фотоприймачів (дослідження проводилися на ФЕП-106, ФД-256 і фотоприймачі СФ-46) (рис.3.10), так і для різних товщин хвилеводів (рис.3.11).
Рис.3.10.Залежність інтенсивності світла, що виходить зі зразка, від кута його введення (при використанні трьох різних фотоприймачів).
Рис.3.11. Залежність інтенсивності світла, що виходить зі зразка, від кута його введення в торець підкладки (для різних толщин хвилеводів.
Отримано кінетичну криву зміни відгуку сенсора при напуску аміачно-повітряної суміші в діапазоні концентрацій 0,48 - 2.13 мг/м (мал.3.12) [6], на підставі якої побудований градуюровочний графік (мал.3.13) і розрахова межа виявлення аміаку сенсором Про = 0.02 мг/м3 в атмосферному повітрі, що говорить про можливості застосування сенсора для контролю аміаку у повітрі населених областей.
Для оцінки впливу інших газів - основних пріоритетних забруднювачів атмосфери (оксид вуглецю, сірководень, диоксид сірки) на аналітичний сигнал, були досліджені відгуки сенсора у відношенні перерахованих речовин. По отриманим даним побудовані градуюровочні графіки.
3.4.Волоконно-оптичний датчик іонізуючого випромінювання
Принцип дії датчика полягає в реєстрації світлового сигналу, що індукується в сцинтиляційному матеріалі іонізуючим випромінюванням і передається до фотоприймача по волоконному світловоду. Цим опто-волоконний датчик відрізняється від існуючих приладів, у яких сцинтилятор сполучений з фотоприймачем [10]. Переваги оптоволоконного датчика складаються в можливості розміщення прийомної апаратури поза зоною дії радіації й електромагнітних наведень. Мініатюрні розміри датчика роблять його дуже зручним для проведення вимірів з високою просторовою роздільною здатністю, причому у важкодоступних місцях, а також дозволяють створювати многоканальні системи.
За допомогою цього датчика можна досліджувати залежність корисного сигналу від гама поля і визначити величину сигналу стосовно радіолюмінісценції оптичного волокна (фону).
Конструкція датчика і розміри корпуса сцинтилятора (не більш 5 мм у діаметрі і 20 мм у довжину), визначилися з урахуванням передбачуваних вимірів [11] у спеціальних каналах реакторів типу ВВЄР і РБМК, а також у центральних гільзах тепловиділяючих зборок РБМК, призначених для розміщення датчиків енерговиділення.
Основним елементом датчика є радіаційно-стійке оптичне волокно із серцевиною з чистого кварцового скла, насиченого молекулярним воднем [12]. Захисне алюмінієве покриття волокна допускає нагрівання до 400 0С, не активується і не руйнується нейтронами. Випробовування на ядерному реакторі [13] показали, що такі волокна залишаються досить прозорими (наведене радіацією поглинання світла у видимому діапазоні не більш 0.5 дБ/м) при опроміненні до флюенса швидких (Е>0.1 Мев) нейтронів ~1018 н/см2 і гама дози ~ 20 МГр. Ще одна перевага цих волокон проявилася в багаторазово меншій радіолюмінісценції в порівнянні з іншими аналогічними зразками.
Для дослідів були взяті сцинтилятори з добре вивченими властивостями, а саме NaІ(Tl), CsІ(Tl), ZnS(Ag), p-терфенил у полістиролі і стильбен C14H12 [11]. Також була виміряна радіолюмінісценція (фон) відрізка, однорідно опромінюваного волокна довжиною 3,5 м, рівній "половині палива" РБМК.
Усі сцинтилятори виявили лінійну залежність корисного сигналу від потужності гама дози в діапазоні 0,03-200 Р/с (потужність поглиненої дози до ~ 2 Гр/с (Sі)). Оптична фільтрація сигналів (виділення за допомогою світлофільтрів спектрального інтервалу в районі максимуму світіння сцинтиляторів) дозволила підняти відношення сигналу до фону до ~ 100 для сцинтиляторів NaІ(Tl) і CsІ(Tl).
3.5. Датчик концентрації газу
На рис. 3.14 представлена структурна схема газового датчика [1]. Світло, випромінюване лазером або світлодіодом, поступає в середовище з вимірюваним газом через багатомодове оптичне волокно. З пройдених через газ світлових хвиль поглинатимуться тільки ті, які входять в спектр поглинання цього газу. Таким чином, подаючи (також за допомогою багатомодового оптичного волокна) пройдене через середовище з газом світло на світловий детектор, можна визначати вид газу і вимірювати його концентрацію. На мал. 3.15 показані робочі спектральні області світловипромінюючих приладів на основі AlGaAs, InGaAsP і світлоприймальних приладів на основі Si, Ge, а також спектр молекулярного поглинання для основних видів газів.
Подібні газові датчики можна використовувати для дистанційного нагляду за ступенем забруднення атмосфери (газами N2O2 , NH3, СН4 і ін.) і за концентрацією горючих газів (СН4, С3Н8 і ін.). Наприклад, реалізована система нагляду за концентрацією газу СН4 на відстані більше 20 км.
ВИСНОВКИ
В даній курсовій роботі проведено огляд основних питань, які стосуються волоконно-оптичних датчиків, а саме:
1) актуальність використання волоконно-оптичних датчиків;
2) їх основні характеристики і види оптичних волокон, які використовуються в сенсорних технологіях;
Розглянуто основні види інтерференційних волоконно-оптичних датчиків: торцевий волоконно-оптичний інтерферометр Фабрі-Перо, інтерферометр Маха-Цендера і багатомодовий інтеферометр.
Основну увагу звернуто на хімічні волоконно-оптичні датчики. Як приклад, описаний волоконно-оптичний сенсор для контролю аміаку в повітрі. А також дано інформацію про інші сенсори шкідливих хімічних елементів, наприклад, про волоконно-оптичний датчик іонізуючого випромінювання.
СПИСОК ВИКОРИСТАНИХ ДЖЕРЕЛ
1.Окоси Т и др. Волоконно-оптические датчики. Пер. с япон.- Л.:Энергоатомиздат, 1990. - 256 с.
2.Бусурин Б.И., Носов Ю.Р. Волоконно-оптические датчики. М.: Энергоатомиздат, 1990.
3. Мировицкий Д.И. Мультиплексированные системы волоконно-оптических датчиков // Измер. техника. 1992. № 1. С. 40-42.
4. Udd E. Applications of Fiber Optic Smart Structures // Opt. and Photon. News. 1996. Vol. 7, № 5. Р. 17-22.
5. Senior J.M., Moss S.E., Cusworth S.D. Multiplexing Techniques for Noninterferometric Optical Point-Sensor Networks // Fiber and Integr. Opt. 1998. Vol. 17, № 1. P. 3-20.
6.Зубков И.Л., Соборовер Э.И., Добротин С.А. Оптические химические сенсоры для контроля газовых сред // Материалы IV ВНТК "Методы и средства измерений", часть 1, январь 2002 г. - Н. Новгород: МВВО АТН РФ, 2002. С. 19.
7.Соборовер Э.И., Зубков И.Л. Оптический химический сенсор с тонкопленочным планарным волноводом для контроля газовых сред // Там же. С. 18.
8.Соборовер Э.И., Гундорин В.В. Исследование сенсорного эффекта в плосковолноводном оптическом химическом газовом сенсоре трехслойной конструкции // Датчики и системы. 2001. № 6. С. 23-28.
9. Seitz W.R. Fiber Optics Sensors.//Anal.Chem,1984. Vol. 86,№1. P.16A.
10.Акимов Ю.К. // Физика элементарных частиц и атомного ядра. 1994. т. 25. выпуск 1. с. 229-284.
11. Шевченко В.Г., Гарусов Ю.В., Роботько А.В., Комаров М.В. // Атомные электрические станции: Сб. ст. Вып.9 – М.: Энергоатомиздат, 1987. – с.87
12. Tomashuk A.L., Golant K.M., Dianov E.M. et al. // IEEE Transactions on Nuclear Science, 2000, V. 47, No. 3, Part 1, pp. 693-698.
13. А.В.Бондаренко, Кащук Ю.А., Красильников А.В., и др. // Теоретические и экспериментальные исследования, выполненные в 2003 году. Сб. трудов. Вып.3-Троицк, ОНТИ ГНЦ РФ ТРИНИТИ, 2004, с. 175-178.















