149895 (732432), страница 2
Текст из файла (страница 2)
где ρe – плотность заряда в диффузном слое;
E – напряженность электрического поля.
Профиль скорости при наличии электрического поля существенно отличается от профиля скорости при отсутствии движущихся сил в двойном электрическом слое.
При движении жидкости у границы раздела фаз в двойном слое возникает перенос зарядов - ток переноса. Этот ток компенсируется возвратным током проводимости. Взаимодействие тока с равномерным магнитным полем вызывает дополнительное движение жидкости вдоль направления движения.
При наложении скрещенных электрического и магнитного полей дополнительно возникает движение, обусловленное взаимодействием токов.
З
ависимость явлений переноса вблизи поверхности раздела фаз от свойств двойного слоя, с одной стороны, и возможность в известных пределах управлять движением и свойствами двойного слоя, с другой стороны – позволяют управлять процессами обмена между фазами и, в частности, интенсифицировать их. Большой эффект в интенсификации процесса следует ожидать при использовании двух жидких фаз. Действием электрического поля и магнитного поля можно заставить межфазную поверхность двигаться в желаемом направлении со значительной скоростью. Движение межфазной поверхности и прилегающих слоев приводит к интенсивному перемешиванию жидкости в каждой из фаз, что также способствует интенсификации обмена.
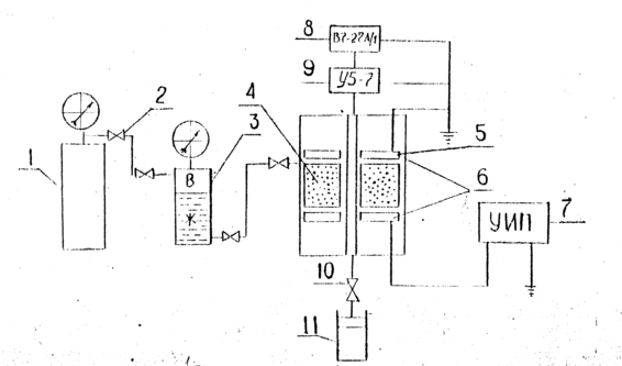
Рис. 2 Схема экспериментальной установки.
Комплекс экспериментов, связанных с исследованием электрокинетических явлений при фильтрации жидкости через пористую среду и воздействия электромагнитных полей на эти явления позволяет проводить разработанная экспериментальная установка (рис.1 – 2).
Установка включает в себя кернодержатель особой конструкции с пористой средой 4 и электродами 6, электрометрический усилитель 9 с цифровым вольтметром 8, баллон с воздухом 1, колонку 3 с исследуемой жидкостью, источник электрического поля 7, мерный цилиндр 11.
Г
лавным узлом в экспериментальной установке является кернодержатель специальной конструкции, который включает в себя (рис. 3): цилиндрический корпус 1, с центральной трубкой 2, между которыми установлен кольце образный образец пористой среды 3, зажатый между фторопластовыми шайбами 4 и герметизирующими втулками 5. Необходимый упор осуществляется крышками 6,
Рис.3 Кернодержатель для изучения электрокинетических явлений.
герметизация втулок производиться нефтестойкими кольцами 8, установленными в канавках, прижатыми сальниками 9. Для подачи жидкости в пористую среду служит кольцо 7, в котором имеются посадочные места для вентилей.
Для создания внешнего электрического поля в кольцевых выточках втулок установлены электроды 11, от которых отходят выводы 10 для подключения к источнику электрического поля, на корпусе и центральной трубке по окружности просверлена система отверстий, образующих своеобразную сетку, которые служат для равномерной подачи и выхода жидкости в пористой среде и эффективного отбора заряда из потока жидкости.
Размеры электродов 11 выбраны из соображений малости искажения линий напряженности электрического поля, и чтобы уменьшить вероятность пробоя, при больших напряжениях. Все это ведет к уменьшению возникающих нелинейных факторов.
Конструкция кернодержателя позволяет изменить высоту и толщину кольца образца пористой среды. Все это дает возможность исследовать электрокинетические явления в образцах пористых сред в большом интервале проницаемости. В качестве прибора, регистрирующего потенциал протекания и тока течения, используется электрометрический усилитель У5-7, обладающий большим входным сопротивлением и малыми токами утечки и позволяющий измерить постоянные и медленно меняющиеся токи положительно заряженных частиц от источников с большим внутренним сопротивлением, а также Э.Д.С.. Погрешность самого прибора составляет 4 % для Э.Д.С. и 6 % для токов.
Для повышения точности отсчета к выходу усилителя подключается вольтметр 8, типа В7-27. Источником электрического поля 7 служит универсальный источник питания УИП-1, позволяющий подавать стабилизированное напряжение на электроде, при малой величине пульсаций выходных напряжений. Для подачи жидкости в пористую среду использовалась 3-х литровая колонка высокого давления 3, которая заполнялась исследуемой жидкостью. Давление в колонке поддерживалось с помощью баллона 1. Вытекающая из кернодержателя жидкость собиралась в мерный цилиндр 11.
В качестве пористой среды в экспериментах использовался искусственный керн из огнеупорной керамики. Керн в виде кольца с тщательно прошлифованными торцами, зажимается между фторопластовыми шайбами с помощью герметизирующих втулок 5 и крышек 6. Вследствие достаточной эластичности фторопласта, керн вжимался в него, этим самым исключалось проскальзывание фильтрующей жидкости вдоль фторопластовой шайбы, которая одновременно служила для изоляции электродов от керна. Далее кернодержатель насыщался под вакуумом исследуемой жидкостью и подключался к установке. В качестве адсорбируемых жидкостей использовались дистиллированная вода и очищенное фильтрацией через селикагель и активированный сульфоуголь, трансформаторное масло.
Проницаемость пористой среды определялась для радиальной фильтрации по формуле
где η – вязкость жидкости,
Q – расход жидкости,
D – наружный диаметр керна,
d – внутренний диаметр керна,
h – высота керна,
∆p – перепад давления между входом и выходом пористой среды.
Как следует из теории Гельмгольца-Смолуховского, потенциал протекания описывается формулой
где ε – диэлектрическая проницаемость жидкости,
∆p – перепад давления,
ζ – электрический потенциал,
δ- удельная электропроводимость,
η – вязкость,
а ток течения
где Q – расход жидкости в единицу времени.
Сравнивая формулы (3.3) и (3.4) можно получить:
Как видно из этих формул, электрокинетические явления в насыщенных пористых средах можно изучать, измеряя потенциал или ток протекания. Для воды измеряется потенциал протекания, а для трансформаторного масла – ток течения.
Методика проведения экспериментов сводилась к измерению потенциала протекания или тока течения при различных расходах жидкости, зависящих от перепада давления, как без наложения, так и с наложением внешнего постоянного электрического поля.
В процессе эксперимента исследуемая жидкость из колонки 3 под давлением, создаваемым баллоном 1 поступила в кернодержатель и, пройдя через пористую среду, собиралась в мерном цилиндре 11.
При повышении напряжения на электродах, образуется электрическое поле, перпендикулярное потоку воды в пористой среде и которое, взаимодействуя с зарядами двойного электрического слоя в его диффузионной части, приводит к связыванию зарядов за счет электрических сил и, тем самым, приводит к уменьшению зарядов, выносимых потоком жидкости, и уменьшению потенциала протекания.
Уменьшение потенциала ведет к уменьшению электрокинетических сил, противодействующих движению, а, следовательно, расход постепенно увеличивается. Одновременно с этим происходит увеличение вязкости жидкости по квадратичному закону, в соответствии с формулой (3.3) происходит еще большее уменьшение потенциала протекания. Увеличение вязкости ведет к уменьшению расхода. Однако, по мере увеличения напряженности поля, происходит утолщение и диффузионной части за счет энергии внешнего электрического поля, к увеличению ζ – потенциала, а,
Подобная картина наблюдается и при исследовании тока течения и для трансформаторного масла. Разница заключается лишь в том, что ток течения описывается формулой (3.4) и увеличивается с перегибом кривой в области максимума расхода.
Таким образом, можно сделать вывод, что изменение напряженности внешнего электрического поля, перпендикулярного потоку можно управлять расходом жидкости и потенциалом, или током течения, а, следовательно, и свойствами двойного электрического слоя.
В данном разделе рассмотрена роль электрокинетических явлений при фильтрации жидкостей через пористые среды и влияние электромагнитных полей и различных факторов на эти явления. Разработанная экспериментальная установка позволила освоить методику исследования электрокинетических явлений в насыщенных пористых средах при наложении внешних электрических полей.
4.Электрокинетические явления
в нефтедобыче
Электрокинетические явления определяют многие особенности фильтрации жидкостей через пористые среды. Эти особенности, очевидно, связаны с электрофизическими свойствами, как пористой среды, так и насыщающей жидкости. Поэтому вопросы изучения роли электрокинетических явлений и возможности влияния на них внешними электрическими полями представляют большой интерес для нефтяной промышленности. При воздействии электрических полей на двойной электрический слой, показывает, что при движении жидкости вблизи межфазной поверхности в электрическом поле, возникает ряд явлений, из которых можно отметить некоторые моменты. В электролите внешнее электрическое поле вызывает движение ионов. В двойном слое существует местное преобладание ионов одного знака. Вследствие этого под действием внешнего электрического поля движение ионов происходит в одном направлении, что вызывает механическое перемещение жидкости. При движении жидкости у границы раздела фаз в двойном слое возникает перенос зарядов - ток переноса. Этот ток компенсируется возвратным током проводимости. Взаимодействие тока с равномерным магнитным полем вызывает дополнительное движение жидкости вдоль направления движения.
При наложении скрещенных электрического и магнитного полей дополнительно возникает движение, обусловленное взаимодействием токов. Зависимость явлений переноса вблизи поверхности раздела фаз от свойств двойного слоя, с одной стороны, и возможность в известных пределах управлять движением и свойствами двойного слоя, с другой стороны – позволяют управлять процессами обмена между фазами и, в частности, интенсифицировать их. Большой эффект в интенсификации процесса следует ожидать при использовании двух жидких фаз. Действием электрического поля и магнитного поля можно заставить межфазную поверхность двигаться в желаемом направлении со значительной скоростью. Движение межфазной поверхности и прилегающих слоев приводит к интенсивному перемешиванию жидкости в каждой из фаз, что также способствует интенсификации обмена. Этим самым мы можем сказать, что с помощью электрокинетических сил можно придать нефти не только направление, но и скорость течения.
17
















