Fullerens (732367), страница 3
Текст из файла (страница 3)
5. Оптические свойства фуллеренов
В общих чертах оптические свойства фуллеренов С60 представлены на рис. 6. Спектр инфракрасного поглощения содержит 4 «исторические» линии: по ним был впервые идентифицирован фуллерен в работе Крэчмера. Спектры видимой и УФ-областей содержат пики, соответствующие разрешенным оптическим переходам, а также экситонам. Коллективные возбуждения приводят к существованию двух типов плазмонов: пи и пи + сигма, соответствующих возбуждениям п-электронов или всей электронной системы в целом. Спектры комбинационного рассеяния содержат 2 дыхательные Аg-моды, соответствующие симметричным колебаниям всей молекулы и пентагонов, и 8 Hg-мод. В первом приближении УФ- и видимый спектры поглощения фуллеритов сохраняют характерные черты молекул в газовой фазе или в растворе.
Рисунок 6. Спектральная зависимость действительной и мнимой частей диэлектрической проницаемости пленок С60 при комнатной температуре.
В этом смысле фуллериты — типичные молекулярные кристаллы. Однако понижение симметрии и наличие кристаллического поля в фуллеритах оказывают влияние на правила отбора и на энергии межмолекулярных возбуждений (сдвиг и расщепление вырожденных электронных уровней). Оптика фуллеренов в одинаковой степени зависит как от внутримолекулярных,так и от межмолекулярных электронных процессов. В многочисленных работах начиная с 1991 г. измерялись спектры оптического поглощения, эллипсометрические спектры пленок и монокристаллов. В целом спектры оптического поглощения фуллереновых пленок можно описать, пользуясь понятиями, привычными
для аморфных полупроводников. Из положения края поглощения можно определить величину оптической запрещенной зоны, которая составляет 1.8—1.9 эВ для С60, 1.66 эВ для С70. Наблюдаются плавно спадающие зависимости в области энергий ниже фундаментальных переходов — так называемый «хвост» Урбаха, а также подзонное поглощение на дефектах. Измерения поглощения в видимой области в зависимости от температуры, гидростатического давления и магнитного поля показали, что структуры в области края поглощения обязаны своим происхождением экситонам.
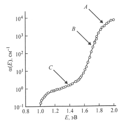
Характерные области края поглощения отмечены буквами А, С на рис. 8. В области А оптическая зона может быть найдена из уравнения:
a(E)hv ~(Е-Е0),
значения Е0 = 1.7 и 1.65 эВ были получены соответственно температур измерения 77 и 293 К.
Рисунок 7. Зависимость коэффициента поглощения пленкой С60 от энергии кванта в области края поглощения.
В области В край поглощения хорошо описывается экспоненциальной зависимостью Урбаха
а(Е)~a0ехр (Е-Е1)/Еu
где параметр Урбаха Еu составляет 30 и 37 мэВ для температур 77 и 293 К соответственно. Обычно присутствие урбаховского хвоста поглощения связывают со структурным несовершенством образцов, с наличием большого количества дефектов, вызывающих появление хвостов плотности состояний в запрещенной зоне. Урбаховский хвост в поглощении кристаллов обычно меньше, чем на пленках, однако сообщалось и об обратном. Это позволяет предположить, что причина появления хвостов поглощения может быть не связана со структурными несовершенствами. В области С при обеих температурах наблюдалось субподзонное поглощение на примесях. Край оптического поглощения и параметр хвоста Урбаха в области Т < 150 К не зависят от температуры, медленно меняются в области 150 < Т < 260 К и быстро при Т > 260 К. Подзонное поглощение увеличивается при длительной экспозиции пленок на воздухе, однако на наклоне хвоста Урбаха это не отражается. Следовательно, хвост Урбаха является не следствием интеркаляции кислорода, а свойством, присущим самому материалу С60. Температурная зависимость объясняется с точки зрения корреляции между плотностью электронных состояний, ориентационным разупорядочением молекул и структурным фазовым переходом. При высоких температурах, когда молекулы С60 приобретают возможность свободного вращения, активируются вращательные, либрационные и межмолекулярные колебательные степени свободы. Кроме того, активируются дополнительные фононные моды, появляющиеся вследствие флуктуации межмолекулярных состояний. В фазе свободного вращения усиливаются электрон-фононные взаимодействия. Вклад как термического, так и структурного разупорядочения в параметр хвоста Урбаха приводит к его быстрому росту при температуре выше 260 К.Схема электронных уровней С60 в твердотельном и молекулярном состояниях приведена на рис. 8.
Ниболее сильные переходы в оптическом спектре — зоны D, E + F и G, относящиеся соответственно к дипольно-разрешенным оптическим переходам hg, gg -> t1u, hu -> hg, hg, gg -> t2u. Зона D, отвечающая второму и третьему разрешенным переходам, существенно уменьшается в легированных фуллеренах из-за заполнения наинизшего состояния зоны проводимости, созданной молекулярными состояниями t1u. Молекулярная зона F расщепляется в твердом теле на F1 и F2 вследствие расщепления пятикратно вырожденных уровней hu (hg) на трехкратно и двукратно вырожденные уровни tu (tg), au (ag). Идентификация двух низших переходов hu -> t1u и hu -> t1g более сложна. Молекулярное состояние t1ghu^-1 представляет собой набор электронно-дырочных возбужденных состояний симметрии T1u, T2u, Hu, Gu.. Нижний разрешенный переход hu -> t1g в возбужденное состояние Т1u должен располагаться около 3 эВ, причем сила осциллятора должна составлять около 3 % от перехода при 3.5 эВ. В дополнение к этому переходу в этой же энергетической области должны наблюдаться фононно-индуцированные переходы сравнительной силы в возбужденные состояния Т2u, Нu, Gu, составляющие группу В. Группа А отнесена к электронно-дырочному состоянию t1ghu^-1, которое запрещено по четности в изолированной молекуле, но становится частично разрешенным из-за расщепления уровней. Группа гамма происходит от запрещенного молекулярного перехода hu -> t1u.. Эти переходы проявляются вследствие возбуждения нечетной колебательной моды, и высшие электронные состояния этой группы должны зависеть от ян-теллеровского искажения.
Рисунок 8. Схема энергетических уровней и возможных оптических переходов в пленках и растворах С60.
6. Проводимость.
При анализе экспериментальных данных по проводимости фуллеренов можно выделить следующие основные особенности: наблюдается полупроводниковая проводимость n-типа; значения активационных энергий Еа температурной зависимости проводимости сигма = сигма exp (-Eа/kT) существенно ниже значений половины запрещенной зоны и достигают их лишь при высоких температурах; при взаимодействии фуллеритовых пленок с кислородом проводимость падает на несколько порядков; проводимость существенно зависит от структуры пленок и у кристаллического материала выше, чем у аморфного.
Вследствие высоких значений сопротивления фуллерита в большинстве своем присутствуют измерения для температур от комнатной и выше (см. рис. 9). Для поликристаллических пленок значения активационной энергии и темновой проводимости при комнатной температуре составляют соответственно 0.3— 0.6 эВ и 10^-6 - 10^-8 (Ом.см)^-1. Для аморфных пленок эти значения лежат в интервале 0.5 - 1.1 эВ и 10^-7 - 10^-144 (Ом.см)^-1.
Рисунок 9. Температурная зависимость проводимости пленок С60. Стрелки показываю изменения направления температуры со скоростью 0.2 град/мин.
Сведения о транспортных параметрах фуллеренов довольно скудны. Из измерений фототока получены дрейфовые подвижности электронов 1.3*10^4 см2/(В*с) и дырок 2*10^-4 см2/(В*с), а также время рекомбинации 1.7*10^-6 с. Транспорные механизмы в пленках C60 изучались также с помощью эффекта поля. Из результатов видно, что С60 — полупроводник n-типа. В характеристиках полевых транзисторов наблюдается сильное расширение n-канала при пороговом значении напряжения 2 эВ. При комнатной температуре полевая подвижность и концентрация носителей заряда определены как 4.8*10^-5 см2/(В*с) и 5.6*10^14 см-3 соответственно. Наибольшее значение подвижности зарядов на границе раздела фуллерен—диэлектрик 2 *10^-3 см2/(В • с), причем значения сильно меняются от образца к образцу. Комплексная проводимость пленок С60 и С70 измерялась в. диапазоне частот 10—10^6 Гц при температурах 10—750 К. Высокочастотная диэлектрическая проницаемость e определена как 2.6 для С60 и 4.6 для С70. В случае С70наблюдалось туннелирование поляронов малого радиуса.
Проводимость и структура пленок. Существует сильная корреляция между кристаллической структурой пленок С60 и их оптическими и электрическими свойствами. Но найти этому объяснение не так просто. Поскольку молекулы связаны ван-дер-ваальсвыми связями, сама по себе дефектная кристаллическая структура не приводит к появлению оборванных связей. Требуется нарушение целостности самой молекулы. Однако известно, что с увеличением кристалличности пленок увеличивается их проводимость, причем активационная энергия падает. Неоднократно отмечалось, что чем выше температура подложки, на которую осаждались фуллеритовые пленки (что способствует их структурному совершенству), тем выше проводимость. Отжиг в динамическом вакууме сильно влияет на проводимость пленок C60, имеющих беспорядочную доменную структуру. У таких пленок проводимость при комнатной температуре составляет 6 • 10^-10(Ом • см)^-1. В температурной зависимости проводимости при температурах выше 423 К наблюдается активационное поведение, причем энергия активации растет с увеличением толщины пленки (0.8 и 1.0 эВ для разных толщин), но находится в строгом соответствии с величиной запрещенной зоны, полученной из спектров поглощения (1.63 и 2.08 эВ). При более низких температурах доминирует неактивационное поведение, причем его доля уменьшается вследствие отжига. Рентгенофазовый анализ показал, что при комнатной температуре ГЦК -фаза в пленках соседствует с гексагональной плотной упаковкой (ГПУ). При измерениях временной зависимости проводимости пленок при постоянной повышенной температуре обнаружены снижение содержания ГПУ-фазы и увеличение проводимости. Отжиг пленок при высоких температурах приводит к их упорядочению, уменьшению дефектных состояний в зоне и увеличению энергии активации.
Проводимость монокристалла на переменном токе пропорциональна температуре и частоте при температурах измерения ниже 150 К, что характерно для прыжков в локализованных состояния вблизи уровня Ферми. Выше 200 К наблюдаются быстрое возрастание проводимости и переход к термически активированному типу с энергиями активации 0.389 и 0.104 эВ выше и ниже некоторой температурной точки, что объясняется сосуществованием кристаллической и аморфной фаз. Частотная зависимость проводимости подчиняется степенному закону w^s(s = 0.8). Сходные результаты были
получены на пленках С60 и С70: при высокой температуре проводить не зависела от частоты, в то время как степенной закон наблюдался при низких температурах. Можно сделать вывод, что при повышении температуры преобладающий механизм меняется от















