240-1348 (732365), страница 3
Текст из файла (страница 3)
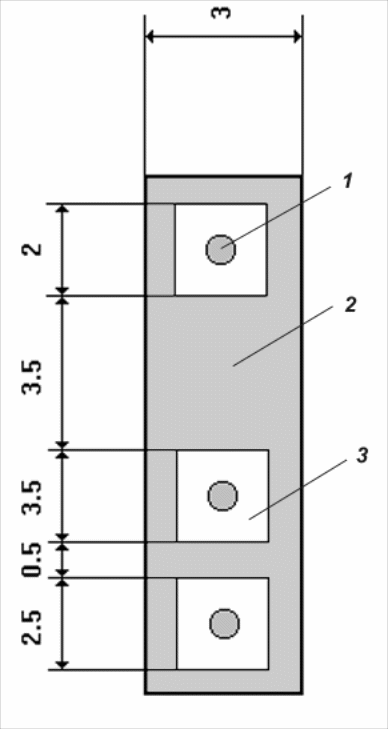
В результате были получены образцы, конфигурация которых представлена на рисунке 2.1.2.
| |
| Рис. 2.1.1. Механизм ионно-плазменного распыления нитрида алюминия в магнетронной распылительной системе. |
Рисунок 2.1.2. Конфигурация образца нитрида алюминия. (Размеры даны в миллиметрах)
1—контактол; 2 – пленка нитрида алюминия; 3 – алюминиевые контакты
2.2. Измерение вольт-амперных характеристик.
Измерения вольт-амперных характеристик проводились с помощью установки, электрическая схема которой приведена на рисунке 2.2.1. Установка состоит из следующих элементов:
-
Образец, помещенный в измерительную головку;
-
Регулятор напряжения;
-
Источник постоянного напряжения на базе источника постоянного тока Б5-50;
-
Вольтметр-электрометр универсальный В7-30;
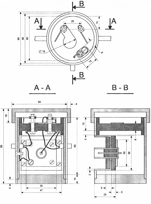
Исследуемый образец помещается в специально сконструированную измерительную головку (рис. 2.2.2.) Измерительная головка конструктивно состоит из двух частей: верхней и нижней.
Верхняя часть головки содержит контакты для подачи питания на образец и площадку для образца.
Нижняя часть служит как разветвитель входящих и выходящих проводов.
Как известно, уровень тока через фоторезистор на основе AlN очень низкий из-за большого удельного сопротивления материала, а это требует особых условий для измерения светового, а особенно темнового тока фоторезистора Необходимо свести к минимуму влияние внешних электромагнитных полей и токов утечки в измерительной головке. Защита от внешних электромагнитных полей обеспечивается экранировкой проводов, заземлением стального корпуса головки с защитными металлическими крышками. Для защиты от токов утечки используется фторопласт, который практически не дает токов утечки.
Для измерения уровня токов, в качестве токового прибора используется вольтметр-электрометр В7-30, диапазон измерения токов которого 10-15 — 10-7 А, а внутреннее сопротивление данного прибора на всех пределах измерения не превышает одного мегаома. Таким образом, во всем диапазоне измерения токов падением напряжения на приборе можно пренебречь.
ВАХ снимались при различных полярностях постоянного напряжения и при разной степени освещенности.
Рисунок 2.2.1. Электрическая схема установки для измерения вольт-амперных характеристик.
1 – источник ультрафиолетового излучения; 2 – измерительная головка с образцами; 3 – источник постоянного напряжения; 4 – электрометр.
Рисунок 2.2.2. Чертеж измерительной головки
2.3. Измерение спектральных характеристик.
Экспериментальная установка для снятия спектральных характеристик фоторезистора на основе нитрида алюминия собрана на базе монохроматора МДР-2. Рабочий диапазон спектра — 200-600 нм — обеспечивался дифракционной решеткой с числом штрихов 1200 на 1 мм. Для срезания спектров высшего и низшего порядков использовался светофильтр БС-5 в области спектра от 360 до 600 нм.
Блок-схема установки для измерения спектральной зависимости проводимости нитрида алюминия показана на рис. 2.3. Схема состоит из следующих элементов:
-
И — источник излучения;
-
Л1, Л2 — фокусирующие линзы;
-
Ф — светофильтр;
-
Щ — входная и выходная щели;
-
1 — монохроматор МДР-2, обратная линейная дисперсия 2 нм/мм;
-
2 — образец, помещенный в измерительную головку;
-
3 — вольтметр-электрометр В7-30;
-
4 — самописец.
Рисунок 2.3. Блок-схема установки для измерения спектральных характеристик.
Источником излучения, которое после некоторых преобразований попадает на образец, служит водородная лампа ДВС-25.
Для проектирования излучения на щель монохроматора служит двухлинзовый конденсатор с фокусным расстоянием 106 мм и световым диаметром 52 мм.
У входа и выхода монохроматора расположены соответственно входная и выходная щели, находящиеся на одной прямой. Щели монохроматора симметричные, с переменной шириной раскрытия в пределах от 0 до 4 мм с точностью до 0.01 мм. Перед образцом стоит линза для направленной фокусировки монохроматического света на образец.
2.4. Измерение зависимости фотопроводимости от интенсивности падающего излучения.
Экспериментальная установка для исследования зависимости фотопроводимости нитрида алюминия от интенсивности падающего излучения была собрана на основе вольтметра типа В7-30 и датчика мощности падающего излучения. Интенсивность падающего излучения варьировалась путем изменения расстояния от водородной лампы до измерительной головки с образцом.
Схема установки приведена на рисунке. 2.4.1., где
-
1 — источник излучения (водородная лампа ДВС-25);
-
2 — светофильтр БС-7;
-
3-- измерительная головка с образцом;
-
4 — линейка с делениями.
Для градуировки мощности падающего излучения была собрана установка, состоящая из датчика мощности падающего излучения и вольтметра типа Ф18. Излучение, пройдя через светофильтр, фиксировалось датчиком и вольтметром. Интенсивность излучения также регулировалась путем изменения расстояния между лампой и датчиком. Градуировочная таблица приведена ниже. Мощность излучения вычислялась по градуировочной формуле:
Рисунок 2.4.1. Схема установки для измерения зависимости фотопроводимости нитрида алюминия от интенсивности падающего излучения.
1 – источник ультрафиолетового излучения; 2 –светофильтр БС-7; 3 – измерительная головка с образцами; 4 – линейка.
Чтобы определить мощность излучения, которое создает фотопроводимость нитрида алюминия, измерения были проведены для двух случаев — при наличии фильтра и без него. Интенсивность излучения была рассчитана как их разность.
Таблица 2.4.1. Градуировочная таблица для снятия зависимости фотопроводимости нитрида алюминия от интенсивности падающего излучения.
| Расстояние от источника излучения, L, см | Показания вольтметра при наличии светофильтра U1, мкв | Показания вольтметра без светофильтра U2, мкв | Интегральная мощность излучения, (без светофильтра) мкВт | Мощность излучения, со светофильтром мкВт |
| 0 | 42 | 24 | 33,6 | 19,2 |
| 2.3 | 13 | 6 | 10,4 | 4,8 |
| 4.1 | 6.5 | 3.8 | 5,2 | 3,04 |
| 6.4 | 2.6 | 1.6 | 2,08 | 1,28 |
| 8.5 | 1.4 | 0.4 | 1,12 | 0,32 |
| 10.7 | 0.5 | 0.1 | 0,4 | 0,08 |
| 12.9 | 0.1 | 0.02 | 0,08 | 0,016 |
| 14.9 | 0.04 | 0 | 0,032 | 0 |
| 17 | 0.02 | 0 | 0,016 | 0 |
| 18.8 | 0 | 0 | 0 | 0 |
ГЛАВА 3. ОБРАБОТКА РЕЗУЛЬТАТОВ ИЗМЕРЕНИЙ
3.1. Вольт-амперные характеристики.
3.1.1. Темновая вольт-амперная характеристика
Темновая вольт-амперная характеристика нитрида алюминия была получена с помощью установки, описанной в главе 2. Напряжение изменялось в диапазоне от 0 до 100 В. Результаты для двух полярностей приложенного напряжения приведены в таблицах 3.1.1.1. и 3.1.1.2.
Как видно из графиков (рис. 3.1.1.1. и 3.1.1.2.), темновая вольт-амперная характеристика линейна, лишь при малых напряжениях наблюдается некоторая нелинейность, что объясняется поликристаллической структурой образца нитрида алюминия.
Из угла наклона прямого участка ВАХ можно рассчитать темновую проводимость образца AlN, а учитывая геометрию образца, можно рассчитать удельную проводимость.
l – длина образца; RТ – темновое сопротивление, рассчитанное из вольт-амперной характеристики ; D – ширина и h – толщина пленки нитрида алюминия.
Исходя из этих данных, можно определить удельную проводимость образцов.
Зная удельную проводимость материала и подвижность носителей заряда, можно рассчитать концентрацию носителей заряда в образце.
n – концентрация носителей заряда в материале; n – подвижность электронов. Согласно литературным данным, подвижность
[6].
Из результатов исследований видно, что удельная проводимость исследуемых образцов практически однородна по площади, и незначительно изменяется от образца к образцу, что указывает на хорошую воспроизводимость технологии.
Линейность вольт-амперных характеристик при больших напряжениях, а также тот факт, что они практически совпадают при изменении полярности прикладываемого напряжения, говорит о том, что алюминиевые контакты, нанесенные на поверхность образцов можно считать омическими.
Таблица 3.1.1. Результаты измерений темновых вольт-амперных характеристик образцов нитрида алюминия
| Образцы | Сопротивление Ом | Удельная проводимость, ом-1 м-1 | Концентрация носителей, м-3 |
| Образец №1 | 4.47 1014 | 0.26 10-8 | 0.116 1014 |
| Образец №2 | 6.19 1013 | 0.27 10-7 | 0.11 1014 |
| Образец №3 | 6.81 1013 | 0.243 10-8 | 0.1 1014 |















