KURSACH1 (732353), страница 3
Текст из файла (страница 3)
Индуктивности обычно не используются, т.к. схемы проектируют так, чтобы избежать их использования, однако, если все же возникает необходимость введения в схему отдельной индуктивности, на поверхность окисла кремния металлической спирали.
Диоды b и e – на основе коллекторного перехода имеют наибольшее обратное напряжение. На основе эмиттерного перехода (a, d) – имеют наибольшее быстродействие и наименьший обратный ток. На основе параллельного включения переходов (с) – наименьшее быстродействие и наибольший прямой ток..
Таким образом, с помощью транзисторов в микросхемах исполняются практически все необходимые радиоэлементы. Далее мы рассмотрим, где и как они применяются.
Оперативная память.
Оперативная память является полупроводниковым устройством, и выполнена в виде матрицы. Как легко догадаться, полупроводниковые запоминающие устройства, в отличие от вышеописанных – энергозависимы, т.е. нуждаются в постоянной подпитке энергией или обновлении. В самом примитивном подходе элемент памяти состоит из триггера (статическая память) или конденсатора (динамическая). Соответственно, элемент памяти хранит только один бит информации. Расположены они, как уже упоминалось, в виде матрицы, на пересечении строк и столбцов. Для обращения к нужному элементу памяти необходимо возбудить адресные шины (выходы) нужных строки и столбца, на пересечении которых находится необходимый элемент. На всех других адресных шинах должен быть сигнал нулевого уровня. Такая схема адресации называется двухкоординатной. Сигналы выборки формируются внешним либо внутренним дешифратором кода адреса.
Как было уже сказано, в элемент памяти записывается (или считывается с него) 0 или 1. Запись и считывание производится по информационным (разрядным) шинам, которые соединены с усилителями записи и считывания, которые в свою очередь, формируют сигналы с требуемыми параметрами. Поскольку для считывания и записи используется одни и те же разрядные шины, соединенные со всеми элементами памяти, то операции считывания и записи на каждый элемент памяти разделены по времени как между собой, так и между считыванием и записью в другие элементы памяти данной микросхемы.
Схема устройства статического ОЗУ
Для хранения четырехразрядного числа необходимо иметь 4 матрицы накопителя (понятное дело, что обычно используются восьмиразрядные числа, но описание его хранения слишком сложно для восприятия, хотя от четырехразрядного варианта отличается только лишь количеством элементов). Адресные входы матриц-накопителей соединяются параллельно и подключаются к дешифратору.
Так как матрица-накопитель одной рассматриваемой микросхемы содержит 16 элементов памяти, то при параллельном включении четырех таких микросхем получается запоминающее устройство, которое может одновременно хранить 16 четырехразрядных чисел (заметим в скобках, что современные устройства памяти оперируют 64-разрядными числами). Для адресации этих чисел необходимо иметь 16 различных адресных сигналов, что можно получить при четырехэлементном коде адреса. Например, при коде адреса 0000 сигналы единичного уровня появятся на шинах с номерами 1, которые на всех схемах выбирают элемента памяти с адресом 1.1. Таким образом, в первой схеме запишется 1й разряд числа, во второй – второй и т.д. Часть запоминающего устройства, предназначенная для хранения многоразрядного числа, называется ячейкой памяти.
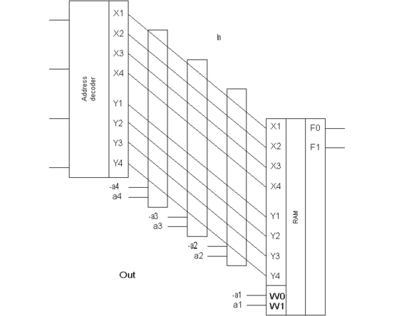
Статическое ЗУ
Как уже отмечалось, в статическом ЗУ роль элемента памяти выполняет триггер. Возьмем матрицу из 16*16=256 элементов, т.е. организация накопителя будет 256*1 бит. Для обращения к такому ОЗУ необходимо подвести к нему сигнал,. разрешающий работу (ВМС – выборка микросхемы), к информационным входу и выходу, и восьмиразрядный код адреса к адресным входа дешифраторов.
Дешифратор управляет ключами выборки строк и столбцов, которые, в свою очередь вырабатывают сигналы, соединяющий выбранный элемент памяти и шину ввода-вывода. Сигналом запись-считывание (ЗС) устанавливается режим работы микросхемы.
При поступлении единичного уровня сигналов ЗС и ВМС открывается схема ввода информации. Через шину ввода-вывода и открытый ключ выборки столбца информация через вход поступает на выбранный элемент памяти.
При нулевом сигнале ЗС и сигнале ВМС открывается схема вывода информации на выход. При отсутствии сигналов ЗС и ВМС выход микросхемы отключается от внешней шины.
Схема работы статической памяти.
Динамическое ОЗУ
Динамическому ОЗУ нужна периодическая перезапись (регенерация) информации для ее хранения. Возьмем, например схему с емкостью 4096*1 бит с матрицей 64*64=4096 элементов памяти. В ней необходимо иметь 64 усилителя считывания, и два шестиразрядных регистра для хранения кода адреса, дешифраторы строк столбцов с 64 выходами каждый, устройство ввода-вывода и устройство управления и синхронизации, которое будет формировать управляющие сигналы. Элементом память в данном случае будет конденсатор, который с помощью ключевой схемы на транзисторе будет подключаться к разрядной шине. При совпадении выходного сигнала дешифратора столбца и управляющего сигнала F3 открываются ключи выборки столбцов, шины ввода-вывода соединяются с выбранной разрядной шиной – производится считывание или запись информации.
Микросхема управляется четырьмя сигналами: кодом адреса, тактовым сигналом, выборки микросхемы и записи-считывания.
Сигналы адреса (выборка элементов памяти_ поступают на регистры строк и столбцов для выбора элемента памяти. Обращение к матрице по адресным входам разрешается тактовым сигналом. Код адреса после записи в регистрах дешифруется. Одновременно запускаются формирователи F1 и через него - F2, управляющие выбором строки. Также от F1 селектором строк разрядные шины подключается к конденсаторам опорных элементов. Из-за того, что собственная емкость шин больше, чем емкость запоминающего конденсатора, разность потенциалов между ними при их подключении друг к другу будет незначительна. Поэтому необходим весьма чувствительный усилитель считывания.
Сигнал F2 включает усилитель считывания и происходит регенерация информации во всех элементах памяти выбранной строки.
По сигналу ВМС запускается формирователь F3 и через него F4, которые коммутируют цеп вывода информации и шины ввода-вывода с разрядной шиной через транзисторные ключи. Информация считывается. С окончанием тактового сигнала все узлы микросхемы возвращаются в исходное состояние.
Поскольку динамической памяти необходима регенерация, число циклов которой будет равно число строк в матрице. Этот цикл идет когда нет разрешающего сигнала ВМС. Для этого цикла необходимы счетчик, коммутатор, триггер и генератор регенерации, синхронизированный тактовым сигналом.
Системная память: взгляд в будущее
До 2000 года в мир персональных компьютеров войдет несколько новых архитектур высокоскоростной памяти. В настоящее время, с конца 1997 года по начало 1998 основная память PC осуществляет эволюцию от EDO RAM к SDRAM - синхронную память, которая, как ожидается будет доминировать на рынке с конца 1997 года. Графические и мультимедийные системы в которых сегодня применяется RDRAM перейдет к концу года на Concurent (конкурентную) RDRAM. Итак, в период между 1997 и 2000 годом будут развиваться пять основных технологий:
SDRAM II (DDR);
SLDRAM (SyncLink);
RAMBus (RDRAM);
Concurent RAMBus;
Direct RAMBus.
График, приведенный ниже, приближенно демонстрирует время появления и
применения будущих технологий памяти.
Крайне сложно предсказать, на чем остановится прогресс. Все десять крупнейших производителей памяти, такие как Samsung, Toshiba и Hitachi, разрабатывающие Direct RDRAM, также продолжают развивать агрессивную политику, направленную на развитие альтернативных технологий памяти следующих поколений, таких как DDR и SLDRAM. В связи с этим образовалось любопытное объединение конкурентов. Тем не менее, несмотря на некоторую неизвестность, попытаемся дать общий обзор и объяснение того, что и где будет применяться в ближайшее время.
В первой части материала описываются причины, которые заставляют переходить к новым технологиям памяти. Во второй части статьи приводится описание шести основных технологий, их сходства и различия. Необходимость увеличения производительности системы памяти.
Быстрое развитие аппаратных средств и программного обеспечения привело к тому, что вопрос эффективности встает на первое место. Фактически, несколько лет назад, Гордон Мур, президент корпорации Intel, предсказал, что мощность центрального процессора в персональном компьютере будет удваиваться каждые 18 месяцев (Закон Мура). Мур оказался прав. С 1980 года до настоящего момента тактовая частота процессора Intel, установленного в персональном компьютере возрасла в 60 раз (с 5 до 300MHz). Однако, за то же время, частота, на которой работает системная память со страничной организацией (FPM), возрасла всего в пять раз. Даже применение EDO RAM и SDRAM увеличило производительность системы памяти всего в десять раз. Таким образом, между производительностью памяти и процессора образовался разрыв. В то время как процессоры совершенствовались в архитектуре, производство памяти претерпевало лишь технологические изменения. Емкость одной микросхемы DRAM увеличилась с 1Мбит до 64Мбит. Это позволило наращивать объем применяемой в компьютерах памяти, но изменения технологии в плане увеличения производительности DRAM не произошло. Короче говоря, скорость передачи не увеличилась вслед за объемом.
Что касается потребностей, то в следствии применения нового программного обеспечения и средств мультимедиа, потребность в быстродействующей памяти нарастала. С увеличением частоты процессора, и дополнительным использованием средств мультимедиа новым программным обеспечением, не далек тот день, когда для нормальной работы PC будут необходимы гигабайты памяти. На этот процесс также должно повлиять внедрение и развитие современных операционных систем, например Windows NT.
Чтобы преодолеть возникший разрыв, производители аппаратных средств использовали различные методы. SRAM (Static RAM) применялся в кэше для увеличения скорости выполнения некоторых программ обработки данных. Однако для мультимедиа и графики его явно недостаточно. Кроме того, расширилась шина, по которой осуществляется обмен данными между процессором и DRAM. Однако теперь эти методы не справляются с нарастающими потребностями в скорости. Теперь на первое место выходит необходимость синхронизации процессора с памятью, однако, существующая технология не позволяет осуществить этот процесс.
Следовательно, возникает необходимость в новых технологиях памяти, которые смогут преодолеть возникший разрыв. Кроме SDRAM, это DDR, SLDRAM, RDRAM, Concurrent RDRAM, и Direct RDRAM.
Шесть технологий памяти будущего. Определения
SDRAM
Synchronous (синхронная) DRAM синхронизирована с системным таймером, управляющим центральным процессором. Часы, управляющие микропроцессором, также управляют работой SDRAM, уменьшая временные задержки в процессе циклов ожидания и ускоряя поиск данных. Эта синхронизация позволяет также контроллеру памяти точно знать время готовности данных. Таким образом, скорость доступа увеличивается благодаря тому, что данные доступны во время каждого такта таймера, в то время как у EDO RAM данные бывают доступны один раз за два такта, а у FPM - один раз за три такта. Технология SDRAM позволяет использовать множественные банки памяти, функционирующие одновременно, дополнительно к адресации целыми блоками. SDRAM уже нашла широкое применение в действующих системах.
SDRAM II (DDR)
Synchronous DRAM II, или DDR (Double Data Rate - удвоенная скорость передачи данных) - следующее поколение существующей SDRAM. DDR основана на тех же самых принципах, что и SDRAM, однако включает некоторые усовершенствования, позволяющие еще увеличить быстродействие. Основные отличия от стандартного SDRAM: во-первых, используется более "продвинутая" синхронизация, отсутствующая в SDRAM; а во-вторых, DDR использует DLL (delay-locked loop - цикл с фиксированной задержкой) для выдачи сигнала DataStrobe, означающего доступность данных на выходных контактах. Используя один сигнал DataStrobe на каждые 16 выводов, контроллер может осуществлять доступ к данным более точно и синхронизировать входящие данные, поступающие из разных модулей, находящихся в одном банке. DDR фактически увеличивает скорость доступа вдвое, по сравнению с SDRAM, используя при этом ту же частоту. В результате, DDR позволяет читать данные по восходящему и падающему уровню таймера, выполняя два доступа за время одного обращения стандартной SDRAM. Дополнительно, DDR может работать на большей частоте благодаря замене сигналов TTL/LVTTL на SSTL3. DDR начала производиться в 1998 году.
SLDRAM (SyncLink)
SLDRAM, продукт DRAM-консорциума, является ближайшим конкурентом Rambus. Этот консорциум объединяет двенадцать производителей DRAM. SLDRAM продолжает дальнейшее развитие технологии SDRAM, расширяя четырехбанковую архитектуру модуля до шестнадцати банков. Кроме того, добавляется новый интерфейс и управляющая логика, позволяя использовать пакетный протокол для адресации ячеек памяти. SLDRAM передает данные так же как и RDRAM, по каждому такту системного таймера. SLDRAM начала производиться в 1999 году.
RDRAM















