OKG (732015), страница 5
Текст из файла (страница 5)
Следующей по интенсивности после линий 488 и 514,5 нм является линия 496 либо 476 нм, на которую приходится около 6% полной выходной мощности. При небольших превышениях тока над пороговым значением генерация происходит на переходе ^Р^то---••^-^м. Линия усиления имеет доплеровское уширение, и полная ширина спектра генерации достигает 10 ГГц, превышая ширину спектра Не-Ne ОКГ в 4-5 раз. Последнее объясняется, во-первых, тем, что рабочие частицы в аргоновой плазме имеют значительно большую скорость, чем атомы неона в смеси Не-Me, и, во-вторых, более высоким избыточным усилением (превышением усиления над потерями в резонаторе). Для обеспечения генерации на отдельных переходах из системы рабочих уровней электронных конфигураций Зр 4р и 3p-4s необходимо использование селективных элементов в ОКГ (призм, дифракционных решеток).
Оптический квантовый генератор на углекислом газе
Относится к группе газовых лазеров, в которых используются переходы между колебательно-вращательными состояниями молекул. В настоящее время осуществлена генерация на кодебательно-врашательных переходах многих молекул: СО , ti^O ,НуО , СО^ и т.д. Лучшие результаты получены с ОКГ на COq . Они являются самыми мощными из всех газоразрядных ОКГ, работающих в непрерывном режиме, и имеют высокий коэффициент полезного действия, достигающий 20 т 30%.
Р
ассмотрим механизм создания инверсии населенностей в ОКГ на углекислом газе. Инверсия наоеленностей в таких ОКГ осуществляется посредством газового разряда. Прежде чем рассматривать вопрос о механизме генерации, приведем некоторые данные о молекуле СО^ и ее уровнях. Молекула COn - линейная симметричная молекула. Она имеет три нормальных типа колебаний: валент-ное полносимметричное (^ ), деформационное ( ^ ) и валентное антисимметричное (^д) (рис.89). Деформационные колебания являются дважды вырожденными, так как колебания с одной и той же частотой могут происходить в двух ортогональных плоскостях, проходящих через ось молекулы. Колебательное состояние молекулы описывается тремя квантовыми числами и, , Vn и ^з • каждое из которых представляет число возбужденных квантов колебаний г>! ' ^2. • "^З • Соответствующие уровни обозначаются комбинацией квантовых чисел (^ ,и^ , v^ ). Квантовое число t , записываемое. в виде индекса, обусловлено двукратным вырождением деформационного -
колебания. Оно принимает значения ^"1^,0^-2,..., О для четных и, и I « Do, Uo-1,..., 1 Для нечетных и определяет значение момента количества движения Р^ = /г.^/(2Х), связанного с колебаниями в направленного вдоль оси молекулы. Уровни с Ь = 0 являются невырожденными, с Ь > 0 - дважды вырожденными. При и, > I вследствие ангармоничности колебаний СО^ вырождение снимается. На рис.90 дана схема нижних колебательных уровней молекул СОп .
Для эффективного заселения верхнего рабочего уровня молекул СО в в рабочую трубку ОКГ вводят азот..Так как Ng — двухатомная молекула, то она имеет только одну колебательную степень свободы. Ее колебательная энергия определяется квантами энергии, обусловленными колебаниями атомов вдоль оси молекулы. Соответственно колебательные уровни энергии молекулы азота описываются одним колебательным квантовым числом v . На рис.90 приведена также система нижних колебательных уровней молекул No. Весьма примечательно то, что энергия первого возбужденного колебательного уровня молекулы Nn почти равна энергии уровня (00°1) молекулы СОр . Разница энергии состояний (00°1) молекулы СОр и ( о =1) молекулы Nn составляет всего 0,0023 эВ.
Генерация в ОКГ на СО^ осуществляется на переходах (DO0!)-—(П^О) и (00°I) — (02°0). Наиболее интенсивная генерация идет на переходе (00°1) — (ГС°0) с длиной волны около 10,6 мкм, которая подавляет почти полностью генерацию на длине волны 9,6 мкм (00°1) -.(02°0).
Возбуждение верхнего рабочего уровня (00°1) обусловлено несколькими процессами. Основной процесс возбуждения связан с неупругими соударениями молекул N^ с СО^ , что ведет к резонансной передаче колебательной энергии от молекул азота к молекулам углекислого газа:
В газовом разряде электронные соударения приводят к эффективному образованию колебательно-возбужденных молекул Nn (v = I) (до 30% общего числа молекул Nn). Так как молекула азота состоит из двух одинаковых атомов, то ее дипольный момент равен нулю, поэтому дипольное излучение отсутствует и разрушение возбужденных колебательных состояний происходит только в результате столкновений. Вследствие почти полного совпадения уровней энергии первого колебательного уровня {и = I) молекул No и уровня (00 I) СОр соударения возбужденных молекул No с молекулами СОп , находящимися в основном состоянии, ведут к селективному заселению верхнего рабочего уровня (00 I) СО^ .
Существенную роль в заселении верхнего рабочего уровня играет резонансная передача колебательной энергии от молекул СО молекулам СОр . В газовом разряде благодаря диссоциации молекул СОо образуется значительное количество молекул СО , которые при соударениях с электронами интенсивно переводятся в колебательно-возбужденное состояние. Первый возбужденный колебательный уровень молекулы СО почти совпадает с верхним рабочим уровнем (00 Г) молекул СОр. Благодаря этому происходит процесс резонансной передачи колебательной энергии от молекул СО (так же, как от молекул Nn ) молекулам СОр:
Этот процесс - один из основных в заселении верхнего рабочего уровня ОКГ на чистом СОр .
Верхний рабочий уровень (00°1) дополнительно заселяется благодаря процессу неупругого соударения молекул двуокиси углерода и электронов:
со-(ооо) + ё — со (оо°<) + е . fc *•
Для работы ОКГ наряду с заселением верхнего уровня такое же важное значение имеет разрушение нижнего рабочего уровня. Релаксация нижнего лазерного уровня обусловлена столкновениями молекул СОо (10'0) с невозбухденными молекулами С0^( ООО):
С0^10°0) + СО^(ООО)-- CO^OI 'O+COg^O). (125)
Этот процесс идет с большой эффективностью, что связано с соответствием нижнему лазерному уровню (10°0) молекул СОр энергии почти вдвое большей, чем требуется для возбуждения колебательного уровня (01^0). В результате соударения молекул СОп (10°0) и СОп (000) приводят к перераспределению колебательной энергии между ними с возбуждением каждой на уровень (01 0). Переход молекул СОп из состояния (01 0) в основное состояние (000) обеспечивается столкновениями их с частицами постороннего газа. При этом энергия деформационных колебаний молекулы С0о_ (01 0) превращается в энергию поступательного движения со-ударяющихся молекул.
Значительное уменьшение времени релаксации уровней (01-0) и (10 0) и увеличение тем самый инверсии населенностей,а значит и мощности генерации вызывают гелий, водород, пары воды, которые вводят для этой цели в рабочую трубку ОКГ.
По устройству ОКГ на СОо не имеют принципиальных отличий от других газоразрядных генераторов. Однако они характеризуются конструктивными особенностями, обусловленными спектральным диапазоном и высокой мощностью излучения.
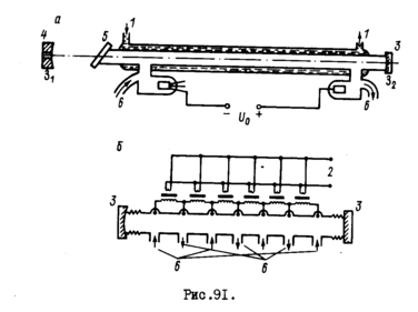
На рис.91 приведены схемы конструкций ОКГ на углекислом газе. В мощных СКГ длина разрядных трубок достигает нескольких метров, а диаметр - 70 -5-80 мм. Дальнейшему увеличению диаметра препятствует контрагирование столба газового разряда, которое наступает для смеси No-СОо при диаметрах, больших,чеп 40 мм, а на смесях Nn-CO-He при диаметрах, больших» чем 70* т80 мм. В ОКГ на СО^ используется принудительное водяное охла ждение трубок ( 1 на рис.91,а). 1%
Разряд осуществляют как на постоянном токе (см.рис.91, а), так и переменным напряжением промышленной частоты ( и на рис. 91.ff ). В длинных трубках для упрощения зажигания и поддержания разряда создают секции длиной 80+100 см, разряд в каждой из которых поддерживается независимо от других секций. Обычно используют источники с напряжением примерно 20 кВ и током, достигающим десятков и сотен миллиампер.
Применяют как внутренние (3), так и внешние зеркала(^> Пло-скопараллельные пластины брюстеровских окон (.5) газоразрядных трубок делают из NuCL , KCL , Ge , SL , -прозрачных в области 9+11 мкм. Используют зеркала с металлическими или интерференционными диэлектрическими отражающими покрытиями. Подложки зеркал для ОКГ небольшой мощности (порядка I Вт) делаются из кварца. Наилучшим материалом при высоких уровнях мощности для подложек зеркал и для брюстеровских окон является иртрай, представляющий собой прессованный поликристалл ZnSe . Для вывода излучения из ОКГ в зеркалах с металлическими отражающими покрытиями делается небольшое отверстие" - окно (диаметром несколько миллиметров). Коэффициент пропускания выходных зеркал с диэлектрическими покрытиями имеет величину 10 т 30%.
Разрад в рабочей смеси газов сопровождается диссоциацией и изменением исходного состава газа. Поэтому очень часто, особенно в мощных ОКГ, используется непрерывная прокачка газа (б) через разрядную трубку.
Рассмотрим основные характеристики ОКГ на COg . На рис.92 показана зависимость выходной мощности от силы тока разряда паи различных давленяях СОп для ОКГ с отпаянной трубкой длиной I м и диаметром 10 мм. Сначала мощность возрастает вместе с током, а затем падает. Такая зависимость объясняется конкуренцией двух факторов. Увеличение концентрации электронов, о одной стороны, ведет к возрастанию скорости возбуждения молекул СОп на уровень (00^1), а с другой,- повышает газовую температуру, что увеличивает ^ скорость разрушения антисимме-- тричных колебаний молекул.
Значительное увеличение мощности генерации достигается добавлением к СО^ азота.
Рис.93 иллюстрирует влияние введения азота в разрядную трубку на мощность и КПД ОКГ на СОп • При добавлении азота благодаря резонансной передаче колебательной энергии от молекул Nn антисимметричному типу колебаний СОо инверсия населенностей. а следовательно, и мощность растут. Однако по мере введения N^ повышается температура газа, что приводит к увеличению скорости релаксации уровня (00°1), уменьшению его заселенности, а также росту населенности нижнего лазерного уровня (Ю°0). Поэтому инверсия населенностей снижается и мощность падает.
Существенное влияние на энергетические характеристики ОКГ на COp-Nn оказывает введение в разрядную камеру гелия (рис.94)1 Гелий, обладая теплопроводностью, в несколько раз превышавшей теплопроводность СОв^ и Nn, снижает газовую температуру, что способствует увеличению инверсной населенности, а значит,и выходной мощности. Кроме того, с введением в разряд гелия воз
растает возбуждение колебательных уровней молекул СО- , Мд и СО . Однако при больших парциальных давлениях гелия в газовой смеси мощность генерации падает, так как уменьшается населенность верхнего лазерного уровня (00°!) из-за релаксации антисимметричных колебаний молекул СОр при столкновениях COn-He . Мощность генерации также повышается при введения в разряд паров воды.
Оптимальный состав рабочей смеси газов в ОКГ на СОр зависит от размеров разрядной трубки, температуры ее стенок, скорости прокачки смеси и т.д. Обычно используются смеси угле
кислого газа, азота и гелия в соотношении 1:1+5:3*8 при общем давлении порядка I03 Па. Удельная мощность генерации достигает I Вт на I см разряда газовой смеси. Типичный ОКГ на углекислом газе при длине разрядной трубки 200 см дает непрерывную мощность около 150 Вт. Увеличение длины разрядной трубки ведет к примерно пропорциональному росту мощности. Таким путем удается создать ОКГ на углекислом газе с выходной мощностью больше I кВт. На уникальной установке с длиной разрядного канала ВО м была получена мощность генерации около 9 кВт.*















