DIPLOM (731809), страница 2
Текст из файла (страница 2)
Ряд конденсорних лінз фокусує електронний пучок на зразок. Звичайно перша з них створює не збільшене зображення джерела електронів, а остання контролює розмір освітлюваної ділянки на зразку. Діафрагмою останньої конденсорної лінзи визначається ширина пучка в площині об'єкта. Зразок міститься в магнітному полі об'єктивної лінзи з великою оптичною силою – найважливішої лінзи ЗПЕМ, що визначається граничний можливий дозвіл приладу. Аберації об'єктивної лінзи обмежуються її діафрагмою так само, як це відбувається в фотоапараті чи світловому мікроскопі. Об'єктивна лінза дає збільшене зображення об'єкта (звичайно зі збільшенням порядку 100); додаткове збільшення, внесене проміжними і проекційними лінзами, лежить у межах величин від трохи меншої 10 до трохи більшої 1000. Таким чином, збільшення, яке можна одержати в сучасних ЗПЕМ, складає від 1000 до ~1 000 000. (При збільшенні в мільйон разів грейпфрут виростає до розмірів Землі.) Досліджуваний об'єкт звичайно поміщають на дуже дрібну сітку, вкладену в спеціального тримача. Тримач можна механічним чи електричним способом плавно переміщати вниз і вправо - уліво.
5.2 Зображення.
Контраст в ЗПЕМ обумовлений розсіюванням електронів при проходженні електронного пучка через зразок. Якщо зразок досить тонкий, то частка розсіяних електронів невелика. При проходженні електронів через зразок одні з них розсіюються через зіткнення з ядрами атомів зразка, інші – через зіткнення з електронами атомів, а треті проходять, не перетерплюючи розсіювання. Ступінь розсіювання в якій-небудь області зразка залежить від товщини зразка в цій області, його щільності і середньої атомної маси (числа протонів) у даній крапці. Електрони, що виходять з діафрагми з кутовим відхиленням, що перевищує деяку межу, уже не можуть повернутися в пучок, що несе зображення, а тому що сильно розсіюють ділянки підвищеної щільності, збільшеної товщини, місця розташування важких атомів виглядають на зображенні як темні зони на світлому тлі. Таке зображення називається світлопольним, оскільки на ньому навколишнє поле світліше об'єкта. Але можна зробити так, щоб електрична система, що відхиляє, пропускала в діафрагму об'єктива тільки ті чи інші з розсіяних електронів. Тоді зразок виглядає світлим на темному полі. Слабко розсіюючий об'єкт часто буває зручніше розглядати в режимі темного поля.
Остаточне збільшене електронне зображення перетвориться у видиме за допомогою люмінесцентного екрана, що світиться під дією електронного бомбардування. Це зображення, звичайно слабоконтрастне, як правило, розглядають через бінокулярний світловий мікроскоп. При тій же яскравості такий мікроскоп зі збільшенням 10 може створювати на сітківці ока зображення, у 10 разів більш велике, чим при спостереженні неозброєним оком. Іноді для підвищення яскравості слабкого зображення застосовується люмінофорний екран з електронно-оптичним перетворювачем. У цьому випадку остаточне зображення може бути виведене на звичайний телевізійний екран, що дозволяє записати його на відеоплівку. Відеозапис застосовується для реєстрації зображень, що міняються в часі, наприклад, у зв'язку з протіканням хімічної реакції. Найчастіше остаточне зображення реєструється на фотоплівці чи фотопластинці. Фотопластинка звичайно дозволяє одержати більш чітке зображення, ніж спостерігач простим оком чи записане на відеоплівці, тому що фотоматеріали, узагалі говорячи, більш ефективно реєструють електрони. Крім того, на одиниці площі фотоплівки може бути зареєстроване в 100 разів більше сигналів, ніж на одиниці площі відеоплівки. Завдяки цьому зображення, зареєстроване на фотоплівці, можна додатково збільшити приблизно в 10 разів без утрати чіткості.
5.3 Дозволяюча здатність.
Електронні пучки мають властивості, аналогічні властивостям світлових пучків. Зокрема, кожен електрон характеризується визначеною довжиною хвилі. Дозволяюча здатність ЕМ визначається ефективною довжиною хвилі електронів. Довжина хвилі залежить від швидкості електронів, а отже, від напруги, що прискорює; чим більше прискорює напруга, тим більше швидкість електронів і тим менше довжина хвилі, а виходить, вище дозволяюча здатність. Настільки значна перевага ЕМ у дозволяюча здатність порозумівається тим, що довжина хвилі електронів набагато менше довжини хвилі світла. Але оскільки електронні лінзи не так добре фокусують, як оптичні (числова апертура гарної електронної лінзи складає усього лише 0,09, тоді як для гарного оптичного об'єктива ця величина досягає 0,95), дозволяюча здатність ЕМ дорівнює 50–100 довжинам хвиль електронів. Навіть з настільки слабкими лінзами в електронному мікроскопі можна одержати межа дозволу біля 0,17 нм, що дозволяє розрізняти окремі атоми в кристалах. Для досягнення дозволяючої здатності такого порядку необхідне дуже ретельне настроювання приладу; зокрема, вимагаються высокостабільні джерела живлення, а сам прилад (який може бути висотою біля 2,5 м і мати масу в кілька тонн) і його додаткове устаткування вимагає монтажу, що виключає вібрацію.
-
РАСТРОВИЙ ЕЛЕКТРОННИЙ МІКРОСКОП. ЗАГАЛЬНІ ВІДОМОСТІ
Більш простим і універсальної для практичного застосування є скануючий і растровий електронний мікроскоп. РЕМ призначений для дослідження масивних об'єктів з дозволяючою здатністю, істотно більш низьким, ніж у ПЕМ, - від 50 до 200 А. У растровому електронному мікроскопі добре сфокусований електронний пучок розгортають за допомогою магнітної чи електростатичної системи, що відхиляє, по заданій площі на об'єкті дослідження. При взаємодії електронів пучка з об'єктом виникає кілька видів випромінювань – вторинні і відбиті електрони; електрони, що пройшли через об'єкт (якщо він тонкий); рентгенівське випромінювання. Кожне з цих випромінювань може реєструватися відповідним детектором, що перетворить випромінювання в електричні сигнали, що після посилення модулюють пучок електронно-променевої трубки (ЕПТ).
Розгорнення пучка ЕПТ проходить синхронно з розгорненням електронного зонда в РЕМ. Зображення об'єкта у відповідному випромінюванні спостерігається на екрані ЕПТ. Збільшення мікроскопа визначається відношенням розмірів областей сканування в РЕМ і ЕПТ.
Різноманіття областей застосування РЕМ зв'язане з різними механізмами взаємодії електронів із кристалічними твердими тілами.
Можливості РЕМ для вивчення рельєфу поверхні об'єкта ілюструє мал.5. Реєструєма детектором інтенсивність потоку розсіяних електронів залежить від того, у яке місце стосовно нерівностей поверхні зразка падає пучок у процесі сканування.
Крім розглянутого вище топографічного контрасту, у РЕМ часто спостерігають контраст сполуки. Цей контраст зв'язаний з тим, що коефіцієнт вторинної електронної емісії залежить від атомного номера елемента і, отже, від хімічного складу зразка в даній крапці.
Поряд з топографічним контрастом і контрастом сполуки в РЕМ використовують також і інші: кристалічний і магнітний. Методи створення дифракційних картин у РЕМ досить прості і дають велику інформацію про кристалічну будову і досконалість зразків. При дослідженні в растровому електроном мікроскопі магнітних зразків для доменів з різним намагнічуванням спостерігається контраст, обумовлений тим, що магнітні поля доменів у значній мірі впливають на траєкторії руху вторинних електронів.
-
РАСТРОВИЙ ЕЛЕКТРОННИЙ МІКРОСКОП. ТЕХНІЧНІ ВІДОМОСТІ
7.1 Застосування
Електронний растровий мікроскоп призначений для дослідження тонкої структури металів і сплавів у вторинних, відбитих і поглинених електронах, а також для дослідження поверхні зломів шляхом візуального спостереження і фотографування.
За допомогою електронного мікроскопа, використовуючи малі збільшення до 20X можна спостерігати великі площі поверхні, а також одержувати знімки окремих ділянок ушкоджень і зломів при 100000 кратному збільшенні.
Найбільш важливі області застосування:
1) аналіз експлуатаційних ушкоджень;
2) джерело інформації про внутрішню будову металу;
До можливостей мікрофотографії варто віднести:
а) виявлення ліній утоми;
б) спостереження водневої крихкості;
в) вивчення дефектів росту кристалів;
г) виявлення високотемпературної дислокації включень.
7.2 Принцип дії
Електронний промінь у виді тонкого пучка електронів (діаметр пучка 10 нм) обігає (сканує) зразок по рядках крапку за крапкою і синхронно передає сигнал на кінескоп. При влученні електронного променя в яку-небудь точку зразка відбувається вибивання з його матеріалу вторинних електронів і відбитих електронів.
Електронний зонд являє собою тонкий пучок електронів приблизно циліндричної форми, при впливі його на зразок збуджуються однаково малі плями електронного порушення. Цим порозумівається гарна глибина різкості зображення при растровій електронній мікроскопії.
Первинний електронний промінь (зонд) формується у вакуумному стовпчику (електронній гарматі) растрового електронного мікроскопа (мал.6). Електрони вилітають з розжарюваного катода, і прискорюються електричним полем напругою 1-50 кв. Промінь фокусується трьома електромагнітними конденсорними лінзами і за допомогою котушок, що відхиляють, сканується за зразком.
Випроменені зразком електрони викликають у сцинтилляторі світлові спалахи (фотони). Швидкі пружно розсіяні (відбиті) електрони з високою енергією без значного підведення енергії попадає в сцинтиллятор; вторинні електрони з низькою енергією при русі до сцинтиллятору одержують прискорення в результаті додатка електричного поля. Світлові промені залишають вакуумну камеру через світловод і в фотомножнику, що примикає до нього перетворюються у світлові імпульси. За допомогою останніх, об'єкт начебто висвітлюється сцинтиллятором, установленим на бічній стороні об'єкта, а спостереження ведеться з боку напрямку первинного електронного променя.
РОЗДІЛ ІІ. ПОСТАНОВКА ЗАДАЧІ
За допомогою електронного мікроскопа, використовуючи малі збільшення до 20X можна спостерігати великі площі поверхні, а також одержувати знімки окремих ділянок ушкоджень і зломів при 100000 кратному збільшенні.
Найбільш важливі області застосування:
1) аналіз експлуатаційних ушкоджень;
2) джерело інформації про внутрішню будову металу;
-
аналіз поверхні напівпровідникових матеріалів.
Для виконання дипломної роботи було поставлено таку задачу:
-
Вивчити будову та принцип роботи електронного мікроскопа.
-
Вивчити конструкцію та принцип роботи растрового електронного мікроскопа.
-
Провести юстировку електронно-оптичної схеми електронного мікроскопа.
-
Розробити схему сканування.
-
Виготовити пристрій для реєстрації електронів.
-
Розробити схему для реєстрації фотонів.
-
Приготовити металеві та напівпровідникові зразки для досліджень.
-
Провести дослідження поверхні зразків.
-
Оформити результати.
РОЗДІЛ ІІІ. ЕКСПЕРИМЕНТАЛЬНА ЧАСТИНА
В ході проведення експериментальної частини дипломної роботи були використані такі прибори:
-
Електронний мікроскоп TESLA BS500. Гарантована дозволяюча здатність якого 7
, коефіцієнт збільшення 500 – 100000 -
Підсилювач електрометричний У5-7. Гранична чутливість якого 10-10 А (V)
-
Циліндр Фарадея. (Виготовлений вручну)
-
Фотодіод
-
Генератор пилкообразних імпульсів
-
Самописець
П
ід час виконання дипломної роботи було проведено юстировку електронно-оптичної схеми електронного мікроскопа, розроблено схему сканування і виготовлено пристрій для реєстрації електронів.
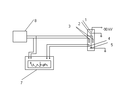
Мал. 7. Схема реєстрації вторинних електронів
1. – катод. 2. – анод. 3. – відхиляючі котушки. 4. – циліндр Фарадея. 5. – зразок. 6. – підсилювач електрометричний У5-7. 7. – самописець. 8. – генератор пилкообразних імпульсів
(мал.7). Розроблено схему для реєстрації фотонів(мал.8).
Мал. 8. Схема реєстрації вторинних електронів
1. – катод. 2. – анод. 3. – відхиляючі котушки. 4. – фотодіод. 5. – зразок. 8. – генератор пилкообразних імпульсів
Приготовлено металеві та напівпровідникові зразки для досліджень:
-
металева сітка з розміром клітини а = 0.25 мм.
-
кремнієва пластина з невеликими інородними включеннями ~0.5 мм.
-
кремнієва пластина з олов’яними електродами розташованими один від одного на відстані 3 мм.
Проведено дослідження поверхні зразків. Зразок (1) було досліджено за допомогою двох схем (мал.7,8), зразки (2) і (3) тільки за допомогою схеми, що реєструє електрони (мал. 7).
Отримані результати зображені на мал. 9, 10, 11, 12.
Мал.9. металева сітка з розміром клітини а = 0.25 мм. Досліджувана за допомогою циліндра Фарадея.















