148052 (730627), страница 3
Текст из файла (страница 3)
Полюсний розподіл (т) — це число пазів (z), що доводяться на полюс (р), тобто i = z/2р. Полюсний розподіл представляє також довжину частини кола (довжину дуги) розточування статора, що доводиться на один полюс, тобто г = ПD/2р. У двополюсних електричних машинах полюсні розподіли рівні 180 електричним градусам, в чотирьохполюсних — 90, в шестиполюсних — 60 і т.д.
Для того, щоб в обмотці машини утворилося необхідне число пар полюсів (р), необхідно з'єднати витки і котушки так, щоб були витримані певні відстані — кроки (у) між сторонами витків котушок, між самими котушками або їх групами.
Крок котушки (у) — це число пазових розподілів, укладених між центрами пазів, в які укладаються сторони витка або котушки. Крок котушки може бути діаметральним або укороченим.
Типовими альбомами називають зброшуровані стандартні листи, що містять відомості про конструкції і технічні дані електричних машин певних типів,
Діаметральним називають крок котушки (обмотки), рівний полюсному розподілу, тобто у = z/2р, а укороченим — крок котушки (обмотки), дещо менший діаметрального.
Одним з показників, що характеризують обмотку електричної машини змінного струму, служить число пазів на полюс і фазу (q). Це число показує, скільки котушкових сторін кожної фази доводиться на один полюс обмотки. Оскільки котушкові сторони однієї фази, що лежать під двома сусідніми полюсами обмотки, утворюють котушкову групу, те число q показує кількість котушок, з яких складаються котушкові групи даної обмотки. При числі фаз (т) q = z/2рт. Для трифазної обмотки q = z/3•2р =z/6р.
Обмотки електричних машин підрозділяються на петлеві, хвильові і комбіновані.
Петлеві обмотки найбільш поширені і застосовуються переважно як обмотки статорів, а хвильові — як обмотки фазних роторів асинхронних машин. Комбіновані (жаб'ячі) обмотки складаються з елементів петлевих і хвильових обмоток і застосовуються найчастіше як обмотки якорів електричних машин постійного струму.
За способом заповнення пазів обмотки електричних машин можуть бути як одношаровими, так і двошаровими. При одношаровій обмотці сторона котушки займає весь паз по його висоті, а при двошаровій — тільки половину паза; іншу половину цього паза заповнює відповідна сторона іншої котушки.
За способом виконання обмотки електричних машин ділять на всипні і протяжні. Всипні обмотки виконують при намотуванні з пазами, що напівзакривають; при цьому кожен дріт котушки окремо вкладають («всипають») в паз через його шліц. Протяжну обмотку виконують при ремонті електричних машин старих конструкцій із закритими пазами; при цьому кожен дріт обмотки протягують через весь паз. Способи укладання обмотки в пази залежать від форми пазів.
Пази статорів, роторів і якорів електричних машин можуть бути наступних типів:
- закритий паз, в який дроти котушки вводять з торця сердечника;
- паз, що напівзакриває, в який дроти котушки вкладають («вспипают») поодинці через вузький проріз паза;
- напіввідкритий паз, в який вкладають жорсткі котушки, розділені в кожному шарі на дві;
- відкритий паз, в який вкладають жорсткі котушки і утримують в ньому клинами з дерева або з різних ізоляційних матеріалів.
Р
ізні типи і форми пазів електричних машин показані на рис. 4
Мал. 4. Найпоширеніші типи і форми пазів електричних машин:
а — статорів, би — роторів і якорів; / — відкритий, 2 — 5 — напіввідкриті, 5 — 8 — що напівзакривають
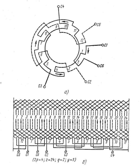
Мал. 5. Схеми двошарової трифазної обмотки:
а — торцевий, би — розгорненої
Обмотки електричних машин виконують, керуючись кресленням, на якому схема обмотки показана умовно і є графічним зображенням розгортки кола статора, ротора або якоря. Таку схему називають розгорненою. Розгорнені схеми можна застосовувати для зображення обмоток електричних машин всіх видів як постійного, так і змінного струму, проте в ремонтній практиці для двошарових обмоток статорів електричних машин змінного струму останнім часом застосовують переважно спрощені торцеві або кругові схеми, які відрізняються простотою виконання і більшою наочністю.
На мал. 5 а приведена торцева схема двошарової обмотки статора чотирьохполюсної машини, а на мал. 5, би — відповідна їй розгорнена схема.
Схеми обмоток звичайно зображаються в одній проекції. Щоб легко було розрізняти розташування котушок в пазах сердечника в схемах двошарових обмоток, сторони котушок в пазовій частині зображають двома рядом розташованими лініями — суцільної і пунктирної (штриховий): суцільна лінія позначає сторону котушки, укладену у верхню частину паза, а пунктирна — нижню сторону котушки, укладену на дно паза. У розривах вертикальних ліній указують номери пазів сердечника. Нижній і верхній шари лобових частин зображають відповідно пунктирними і суцільними лініями.
Стрілки на елементах обмотки, проставлені на деяких схемах, показують напрям э. д. з. або струмів у відповідних елементах обмотки в певний (один і той же для всіх фаз обмотки) момент часу.
Засади і кінці фаз обмотки статора позначають: почало 1-й фази — С/, 2-й фази — С2, 3-й фази — СЗ; кінець 1-й фази — С4, 2-й фази — С5, 3-й фази — Сб.
У схемі указується вид обмотки, а також даються визначальні її параметри: z — число пазів; 2р — число полюсів, у — крок обмотки по пазах; а — число паралельних гілок у фазі; т — число фаз; У (зірка) або ? (трикутник) — способи з'єднання фаз.
















