147628 (730527), страница 2
Текст из файла (страница 2)
Рис.3. Невзрезной стрелочный электропривод СП-6
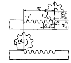
Рис.4. Кулачковый запирающий механизм
Электродвигатель 3, получая питание с поста управления или от местного источника постоянного или переменного тока, вращает первый из четырех каскадов зубчатых передач редуктора 5. Это вращение передается через диски фрикционной муфты последующим каскадам редуктора и главному валу б, который при переводе стрелки из одного крайнего положения в другое совершает один неполный оборот (280°). Главный вал связан с рабочим шибером 8 посредством кулачкового запирающего механизма, который представляет собой зубчатую передачу реечного типа (рис.4), ведущая шестерня 2 которой расположена на главном валу и имеет специальную форму двух крайних зубьев (зубья скошены, образуя кулачки). Аналогичную форму имеют два крайних зуба рабочего шибера 1. Поэтому в конце привода стрелки, когда скошенные зубья (шестерни главного вала и шибера) входят в соприкосновение, создается упор, препятствующий передвижению шибера и связанной с ним рабочей тяги стрелочной гарнитуры, остряки стрелки оказываются переведенными и запертыми от перемещения стрелочных остряков внутрь колеи. В сторону рамного рельса кулачковый механизм в запирающем положении обеспечивает возможность свободного движения рабочего шибера 8 (см. рис.3) на 12 мм во избежание разрушения привода при проходе поездов по стрелке. Факт запирания остряков кулачковым механизмом не отражает действительного положения стрелочных остряков, поскольку шибер и рабочая тяга, например, могут оказаться разъединенными до и во время перевода стрелки. Запирание должно контролироваться и происходить одновременно с фактическим приведением остряков в крайнее положение. Эти два события контролируются ножевым рычагом 1 (10) автопереключателя (рис.5, а) и скрепленным с ним переключающим рычагом 4 (7). Верхняя часть рычага 4 (7) снабжена роликом, который западает в вырез шайбы 11, насаженной на главный вал в месте сочленения его с редуктором, фиксируя конечное запирающее положение вала и кулачкового механизма. Но замыкание контрольных К контактов 3 (8) автопереключателя возможно, если одновременно в вырезы контрольных линеек прижатого и отведенного остряков западает клювообразный конец ножевого рычага 1 (10).
Рис.5. Схемы автопереключателя
Клювообразная форма конца рычага 1 (10), называемая часто зубом, обеспечивает возникновение зазора между ним и контрольной линейкой Л после его западания в ее вырез, что необходимо при работе привода в динамическом режиме, когда под действием ударных нагрузок при плотном прижатии этих элементов может произойти "срыв" контроля положения стрелки. Замыканию контрольных К предшествуют размыкание рабочих Р контактов 2 (9) и отключение тока электродвигателя. Для снижения коммутационных напряжений это переключение должно происходить по окончании перевода стрелки с большой скоростью. Поэтому переключающие рычага плюсового и минусового положений стягиваются пружиной 6. Контрольные контакты при переводе (рис.5,
6) стрелки должны размыкаться раньше, чем снимется запирание и остряки начнут двигаться. Эта задача решается в узле сочленения выходного каскада редуктора зубчатого колеса остряка с главным валом, где до начала вращения вала обеспечивается выталкивание ролика переключателя рычага 4 (7), в результате чего контакты 3 (8) размыкаются, а рабочие 2 (9) замыкаются. Таким образом, при переводе стрелки вращение зубчатого колеса выходного каскада редуктора передается на главный вал не сразу, а только при повороте колеса на определенный угол (46°), после чего происходит зацепление колеса с шайбой 5 вала. Этот угол определяет холостой ход привода, необходимый для разворота электродвигателя без нагрузки и переключения контактов из контрольного положения в рабочее. Стопорение от проворота главного вала в запертом положении обеспечивается в сторону рамного рельса кулачковым механизмом, а внутрь колеи - роликовым механизмом переключающего рычага автопереключателя.
Шибер отпирается в начале перевода стрелки, когда скошенный зуб шестерни кулачкового механизма после ее поворота на угол 20° своей боковой гранью начинает перемещать шибер. После поворота шестерни на 32° ее зубья входят в нормальное зацепление с зубьями шибера, и стрелка переводится. В конце перевода шибер останавливается, а шестерня, продолжая вращение, делает поворот еще на 16°, в результате чего скошенный зуб шестерни находит на скошенный зуб шибера, запирая остряки в другом положении.
В случае взреза стрелки шайба 5 и главный вал не проворачиваются, а контрольные линейки перемещаются и скошенной гранью выреза отведенного остряка клювообразный конец ножевого рычага 1 (10) выталкивается на поверхность линеек. Ножевой рычаг 1 (10) в этом случае занимает среднее положение, поскольку не произошел поворот шайбы 5 и переключающего рычага 4, контрольные контакты размыкаются. Ножевой 10 и переключающий 7 рычаги другого положения стрелки своего состояния в это время не меняют, рабочий контакт 9 остается замкнутым. При взрезе кулачковый механизм продолжает удерживать рабочий шибер, поэтому происходит сжатие и, как следствие, деформация (изгиб) рабочей тяги, если усилие взреза было направлено (зависит от положения стрелки в момент взреза) в сторону привода. В этом случае несущая способность рабочей тяги ниже прочности запирающего механизма. Если усилие взреза было направлено от привода, то несущая способность рабочей и межостряковых тяг выше прочности запирающего механизма. Поэтому, несмотря на некоторое растяжение и деформацию тяг, разрушается автопереключатель, например, лопаются подшипники главного вала или болты автопереключателя (возможно его смещение). Привод становится неуправляемым. Таким образом, при взрезе стрелки всегда ломаются различные узлы привода или гарнитуры без разъединения остряков и запирающего механизма, так как специальных ослабленных деталей в нем не предусмотрено. Считается, что взрез стрелки является чрезвычайным событием, требующим послевзрезного осмотра не только привода, но и стрелочного перевода.
















