147049 (730395), страница 4
Текст из файла (страница 4)
Відпрацьовані гази автомобільних двигунів як вторинні ресурси можна використовувати за трьома напрямами: джерела теплової енергії: носій компонентів (сажа та інші складові); джерела надлишкового тиску. Найширше використовують відпрацьовані гази як вторинний енергоресурс для підігрівання кузовів автомобілів-самоскидів при перевезенні вантажів, що змерзаються, у зимовий період; як пристрої-теплообмінники паливо подавальної апаратури газобалонних автомобілів; бортові підігрівачі дизельного палива; підігрівачі кабін, салонів і кузовів автомобілів; транспортні утилізатори для обігрівання кабін автомобілів, кузовів спец автомобілів; установки для гасіння локальних пожеж.
Одним із компонентів відпрацьованих газів дизельних двигунів є сажа. Невирішена технічна проблема дизельного двигуна — виокремлення сажі з відпрацьованих газів. Двигун викидає в атмосферу 5... 15 кг сажі на тонну спалюваного дизельного палива, причому верхня межа відповідає автотранспортним дизелям. Двигун автомобіля КамАЗ-5511 викидає 0,189...0,233 кг/год або 3,15...3,88 г/км сажі при швидкості 60 км/год. За рік ці викиди при добовому пробігу 300 км становлять 118 кг або 4,74 м3сажі.
У світовій практиці спостерігається новий підхід до вирішення проблеми видалення сажі з відпрацьованих газів. При цьому сажу розглядають як вторинний продукт (технічний вуглець) і шукають способи вловлювання її з метою подальшого використання для потреб шинної промисловості. Створення промислових високоефективних фільтрів для вловлювання дисперсних частинок з відпрацьованих газів дизелів сприятиме вирішенню найважливішого завдання — зниженню викиду токсичних речовин і вловлюванню сажі.
Двигун автомобіля за своєю конструкцією є також компресором, внаслідок чого відпрацьовані гази на виході з циліндрів при такті випуску мають надмірний тиск, тобто є джерелом енергії. Цю їх властивість можна використати в конструкціях різних пневматичних підіймачів, зокрема платформ вантажних бортових автомобілів. Регенерація відпрацьованих масел є основним напрямом їх рециркуляції, бо дає значну економію сировинної нафти — не відновлюваного природного ресурсу. Одним із напрямів повторного використання відпрацьованих нафтових масел є виготовлення на їх основі антикорозійних препаратів для захисту деталей автомобілів. Велике економічне та екологічне значення має раціональна організація на автопідприємствах збору, зберігання та повторного використання відпрацьованих нафтопродуктів.
Інтенсивний розвиток автотранспорту призводить до надмірного забруднення навколишнього середовища спрацьованими автомобільними покришками. Щорічно в країні виходить з експлуатації близько 60 млн. покришок, 50% яких не використовуються для вторинної обробки. До традиційних способів переробки відпрацьованих автопокришок належать відновлення накладанням нового протектора, регенерація гуми, подрібнення покришок з подальшим використанням кришки для виготовлення різних виробів. За кордоном і в Україні нагромаджений певний досвід використання спрацьованих покришок в цілому вигляді. Довговічність покришки у воді становить 1500-2000 років, в атмосфері — 50-60 років. їх широко застосовують у спорудах для захисту узбереж морів та рік від ерозії, штучних берегів водосховищ, водорізів, дамб. Покришки невеликих діаметрів застосовують в конструкції стрічкових транспортерів замість несучих металевих роликів. Здатність покришок зм'якшувати удари використовують при швартуванні, як основу їх застосовують при розвантаженні вантажів або у вигляді фундаменту для кріплення установок, що створюють вібрацію під час роботи. З покришок створюють бар'єри та огорожі автомобільних доріг, їх застосовують при будівництві аеродромів, злітних майданчиків. Ефективним вирішенням є використання утильних покришок у вигляді будівельних блоків для стін гаражів, майстерень, складів тощо. Армовані металокордом спрацьовані покришки використовують як паливо в обертових цементних печах. Теплотворна здатність покришок становить 30...35 мДЖ (8600 ккал/кг) проти 27...30 мДж (7300 ккал/кг) вугілля. Головним недоліком переробки спалюванням є ліквідація хімічно цінних речовин і негативний вплив на навколишнє середовище. Перелічені можливості вторинного використання утилізованих покришок в цілому вигляді не можуть бути визнані задовільними, бо в період зростаючого дефіциту та подорожчання енергії, особливого значення набувають способи отримання з покришок сировини та енергетичних ресурсів. Тому актуальним завданням є переробка покришок. Вона передбачає термічний і каталічний крекінг і пірол із, регенерацію, подрібнення, розкладання гуми під дією кисню, водню та інших хімічних реагентів.
7. Очищення води та повторне її використання
На автопідприємствах при експлуатації одного автомобіля утворюється в середньому 700... 1200 л забрудненої води за добу. Вона містить 800...3000 мг/л завислих речовин, 50...900 мг/л нафтопродуктів, ОДО... 15 мг/л тетраетил свинцю. Скидання у водойми або каналізацію рідин, які містять тетраетил свинець, абсолютно недопустиме, бо наявність 1 мг/л тетраетил свинцю у воді повністю вбиває все живе в навколишньому водному середовищі. За санітарними нормами в стічній воді допускається не більше 0,25...0,75 мг/л завислих речовин і 0,05...0,3 мг/л нафтопродуктів. В Україні нагромаджений багатий досвід з конструювання водоочисних сантехнічних і технологічних установок та організації реагентного очисного господарства.
Щоб вибрати метод хімічної обробки води та конструкції водоочисних сантехнічних установок, попередньо визначають забрудненість води тетраетил свинцем (ТЕС), потім кислотність, лужність рідини, необхідність нейтралізації, склад і концентрацію домішок. Остаточний метод очищення визначають залежно від конкретних умов експлуатації автомобілів. Сьогодні відомо більше 15 методів очищення забруднених вод від тетраетил свинцю. Розглянемо деякі з них. Тривале зберігання (20-30 днів) забрудненої води у відкритих водоймах — найпростіший метод, який дає 100%-й ефект очищення води та руйнування ТЕС. При цьому глибина шару води у водоймі, що очищується, не повинна перевищувати 3 м, обвалування і дно водойми забезпечують антифільтраційним покриттям.
Метод озонування — один із найпоширеніших. Вітчизняні заводи з цією метою випускають трубчасті озонатори (ПО = 2, ПО = 3, ПО = 5 та ін.) продуктивністю від 250 до 1000 г озону на годину. Такі установки за добу можуть очистити 100... 1000 м3 забрудненої води, що повністю відповідає витратам сучасних автопідприємств. Цей метод забезпечує високу якість очищення і повторне використання води. Скидання у водойми очищеної води зберігає життєдіяльність фауни та флори.
Флотаційний метод широко застосовують для очищення від завислих речовин і замутнених нафто насиченими сумішами мийно-стічних вод. Він ґрунтується на коагулюванні забруднених рідин з емульсованим повітрям і додаванням хімічних речовин-коагулянтів (залізний купорос, сірчанокислий амоній, хлористе залізо та ін.), які пришвидшують осідання домішок. Для підлуговування води додають вапно.
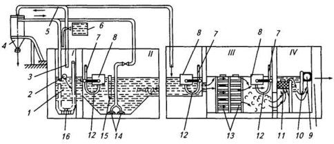
При проектуванні нових і реконструюванні діючих автопідприємств закладають очисні сантехнічні споруди механізованого миття автомобілів з гідроелеваторними та гідро циклонними установками і зворотним водопостачанням та частковою коагуляцією стоків. Принципова схема таких споруд зображена на рис. 7. 1 і 7.2. Забруднена вода після миття автомобілів надходить у приймальну камеру — брудоуловлювач, де відбувається випадання найбільших частинок і змішування з коагулянтом. З брудоуловлювача вода надходить у брудовідстійник, де випадають в осад найдрібніші завислі частинки і починається збирання нафтопродуктів саморегулюючими лотками бензо-, маслоуловлювачів. Завершується збирання нафтопродуктів у камері бензо-, маслоуловлювача після проходження пластинчастих контейнерів. Відстояна вода потрапляє в камеру об'ємом приблизно 26...38 м3, звідки насосами по зворотній системі трубопроводів подається на миття автомобілів для повторного використання. Поповнення зворотної системи водопостачання свіжою водою становить близько 10% загальних витрат. Гідроелеватори захоплюють осад із брудовловлювача, пропускають пульпу через гідроциклони, де відбувається зневоднення осаду до 30...60% вологості. Досвід експлуатації таких установок свідчить, що вони сприяють зменшенню у 10-15 разів потреби у свіжій воді.
Рис. 7.1. Водоочисна установка для повторного використання води:
І — приймальна камера; ІІ — брудовідстійник; III — бензомасловловлювач; IV — камера доочищення 1 — уловлювач; 2 — подавальна труба; 3 — труба до елеватора; 4 — гідроциклони; 5 — труби до гідроциклонів; 6 — бак дозатора коагулянта; 7 — масловивідна труба; 8 — лоток; 9 — водовідвідна труба; 10, 15 — перегородки; 11 — фільтр; 12 — шланг; 13 — пластинчастий конвеєр; 14, 16 — гідроелеватори
Все більш поширеним стає очищення стічних вод у системах зворотного водопостачання мийних установок зон чи постів щоденного(щозмінного) обслуговування шляхом заміни традиційних реагентів однокомпонентним коагулянтом, який отримують з відходів хіміко-фармацевтичної та анілінофарбової промисловості. В якості такого коагулянту використовують гідроксохлориди амонію (ГОХА), які можна вводити у стічні води безпосередньо через відстійники очисних споруд після незначних конструктивних удосконалень. Після оброблення ГОХА в умовах інтенсивного перемішування спостерігається швидке утворення пластівців та інтенсивне осідання коагульованої суміші. В статичних умовах осідання закінчується через 20...30 хв. залежно від дози коагулянту і його властивостей. Оптимальні дози коагулянту А12О3 становлять 50... 10 мг на 2 м3 стічної води. Ступінь очищення стічних вод — 95...99,5%. Вартість ГОХА, що виготовляється з відходів виробництва, в 2-3 разу нижча вартості традиційних коагулянтів (солей полівалентних металів, солей алюмінію або заліза,сульфату алюмінію у сполуці з поліакриламідом), що застосовуються.
Заслуговують особливої уваги різні малогабаритні автоматизовані очисні установки, виконані у вигляді одного блока (рис. 7. 3). Практика їх експлуатації свідчить про доцільність ширшого використання установок, які ґрунтуються на фізико-хімічному (реагентному) методі очищення із застосуванням коагулянтів. Стічна вода потрапляє в попередню камеру /, обладнану двома фільтрами грубого очищення з розміром комірки 0,7 мм, де відбувається частковий розподіл нафтопродуктів і великих домішок. Масла збираються в камері 1, а потім перекачуються в маслозбірник, а нафтопродукти у вигляді завислих частинок надходять разом з залишковими водами в реактор 2. Там вони поєднуються з необхідною дозою коагулянту, витісненого стисненим повітрям з місткості 3, і залишаються в стані спокою до відокремлення домішок від очищеної фракції. Місткість З є порційною і щоразу вміщує рівно стільки коагулянту, скільки необхідно для очищення об'єму стоків, що знаходиться в реакторі 2. Після розподілу шлам, що осів на дно, надходить у шламозбірник, а очищена фракція — на повторне використання.
Рис. 7.2. Схема установки для очищення стічних вод:
1 — камера попереднього очищення; 2 — реактор; 3 — електролізер для отримання коагулянту; 4 — джерело постійного струму
Застосовуються й інші конструкції установки, де місткість 3 є електролізером з пластинчастими алюмінієвими або сталевими електродами. В електролізері, оснащеному джерелом постійного струму 4 (випрямлячем для підзарядку акумуляторних батарей), відбувається напрацювання коагулянту із 5-7% розчину кухонної солі. Час електролізу залежить від необхідної дози коагулянту та визначається експериментально під час пусконалагоджування.
Для тих випадків, коли стоки містять додаткові домішки, які потребують обробки стічних вод дезінфектантами, матеріалом однієї з пластин електролізера, підключених до позитивної клеми випрямляча, є графіт. Газоподібний хлор, що виділяється під час напрацювання коагулянту, із герметично закупореного електролізера 3 пропускається через стоки в реакторі 2, а потім гіпохлор або коагулянт подається в камеру реакції. Відокремлення домішок від чистої фракції відбувається негайно, і домішки піднімаються у верхню частину реактора. Простота конструкції таких установок дає змогу встановлювати їх безпосередньо на автопідприємствах. Реагенти, які використовуються, дешеві та недефіцитні, тому ці установки є доступними навіть для невеликих автопідприємств. Ефективними та раціональними очисними спорудами, які застосовуються на автопідприємствах при очищенні стічних вод нафтопродуктів і завислих частин для повторного використання очищеної води, є очисні споруди з безнапірними гідроциклонами. Такі очисні споруди забезпечують добру якість очищення стічних вод від нафтопродуктів. Менш ефективним є очищення стічних вод від завислих частинок, тому такі очисні споруди вимагають удосконалення.
Розглянемо очисні споруди, зображені на рис. 7. 3. Забруднена вода після миття автомобіля потрапляє в канаву.













