146219 (729376), страница 2
Текст из файла (страница 2)
Третья стадия — при нагревании в интервале 350 — 500° С (температурные пределы зависят от качества угля). В течение этой стадии уголь интенсивно разлагается, образуется много летучих продуктов полукоксования — смол и газов. В их состав среди других веществ входят парафиновые углеводороды и фенолы. Ослабляются физические связи между макромолекулами, разрываются некоторые химические связи, твердые частицы диспергируются в плавкой массе — образуется пластическая масса. Это — стадия пластического состояния.
Четвертая стадия — при нагревании от 500 до 600° С. В течение этой стадии образуется незначительное количество смол и других летучих, происходит спекание и получается твердый полукокс. Это — стадия образования полукокс а.
Пятая стадия — при нагревании от 600 до 1000° С. В течение этой стадии образуется немного смол, моноциклические ароматические углеводороды и водород и заканчивается процесс образования кокса. Это — стадия образования кокса.
Возможность получения хорошего кокса зависит от протекания всех стадий, но главным образом от поведения угля в течение второй и третьей стадии.
Рисунок 5 – Схема коксовой печи
6 УЛАВЛИВАНИЕ
Огромное значение имеет оптимальный температурный режим охлаждения газа в первичных холодильниках для последующих процессов, улавливания аммиака, бензольных углеводородов и других химических продуктов коксования.
В зависимости от типа Применяемых холодильников — трубчатых с теплопередачей через стенку или непосредственного действия — различают две отличные друг от друга схемы первичного охлаждения газа. Обе эти схемы нашли широкое применение в практике отечественной коксохимической промышленности.
В последние годы в качестве типовой принимается схема первичного охлаждения коксового газа в трубчатых холодильниках, как более экономичная.
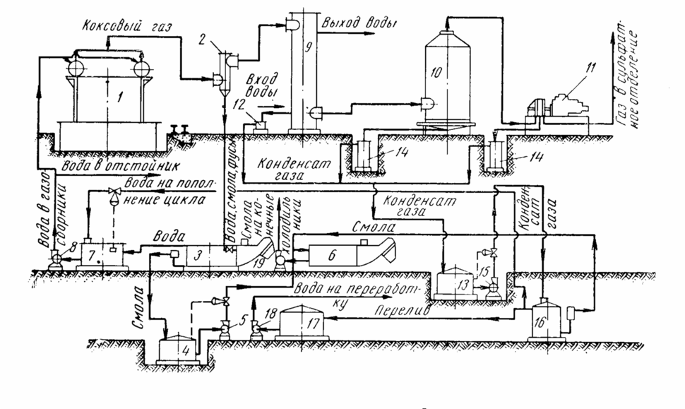
На рис. представлена технологическая схема первичного охлаждения коксового газа с применением трубчатых холодильников. По этой схеме коксовый газ, надсмольная вода, смола и Фусы из газосборников 1 отводятся по газопроводу в сепаратор 2, где коксовый газ отделяется от жидкой фазы. Для обеспечения необходимой скорости стекания жидкой фазы газопровод от газосборников до сепаратора укладывается с уклоном 10— 15 мм на каждый погонный метр.
Смесь надсмольной воды, смолы и фусов из сепаратора 2 поступает в механизированный отстойник-осветлитель 3, где из-за резкого уменьшения скорости жидкой фазы она расслаивается вследствие разности плотностей. Фусы, имеющие наибольшую плотность, оседают на дно осветлителя, откуда они непрерывно удаляются скребковым транспортером.
Смола, занимающая в осветлителе промежуточное положение, самотеком через регулятор уровня смолы (смолоотводчик) поступает в заглубленный промежуточный сборник 4, откуда насосом 5 откачивается в механизированное хранилище для смолы 6. Установка механизированных хранилищ емкостью 650 м3 обусловлена тем, что в смоле после осветлителя все еще содержится значительное количество фусов. Последние, оседая на дно хранилищ, удаляются также при помощи скребковых транспортеров.
Отстоявшаяся от смолы и фусов надсмольная вода из верхней части осветлителя поступает в промежуточный сборник 7, из которого насосом 8 подается в газосборники на орошение горя чего газа. Таким образом, надсмольная вода, подаваемая на орошение газооборников, находится в замкнутом цикле: газосборники -> осветлитель -> промежуточный сборник -> газосборники.
Коксовый газ из сепаратора 2 поступает в межтрубное пространство газовых холодильников 9 и охлаждается холодной технической водой, поступающей в трубное пространство холодильников. При температуре входящей охлаждающей воды 20— 25° С коксовый газ охлаждается до 25—30° С.
В связи с большим объемом газа на современных коксохимических заводах устанавливают несколько холодильников, включаемых параллельно или последовательно.
Из холодильников 9 коксовый газ поступает в электрофильтры 10. Охлажденный и очищенный от туманообразной смолы газ засасывается в нагнетатели 11, которые под давлением 1700— 2000 мм вод. ст. транспортируют газ непосредственно в сульфатное отделение.
Конденсат газа из межтрубного пространства холодильников стекает через гидрозатвор 12 в заглубленный промежуточный сборник 13. В этот же сборник через гидрозаторы 14 поступает также конденсат газа из машинного отделения и электрофильтров. Из сборника 13 конденсат газа насосом 15 'подается в отстойник 16, где вода и смола разделяется в результате разности их плотностей. Так как вода легче смолы, то при отстаивании она оказывается над смолой, поэтому и получила название надсмольной.
Рисунок 6 – Технологическая схема охлаждения коксового газа с применением трубчатых холодильников
-
ГАЗОВЫЕ ХОЛОДИЛЬНИКИ
Трубчатые холодильники нашли в последние десять-пятнадцать лет наибольшее применение на вновь построенных и реконструированных коксохимических заводах. Для первичного охлаждения газа устанавливались шестиходовые вертикальные трубчатые холодильники системы Гипрококса рис. поверхностью охлаждения 2100 м2. Производительность этого холодильника по газу равна 10—11 тыс. м*/ч газа, приведенного к нормальным условиям.
Газ движется в межтрубном пространстве, охлаждающая вода — в трубах. Так как коэффициент теплопередачи возрастает с увеличением скорости движения газа и воды, то для увеличения этих скоростей холодильник разделен вертикальными перегородками на шесть секций.
Холодильник по высоте разделен тремя горизонтальными перегородками, образующими нижнюю камеру для воды, среднюю — камеру охлаждения, заполненную трубами, и верхнюю камеру для перелива воды.
Газ вступает в межтрубное пространство камеры охлаждения и последовательно проходит из одной секции в другую. Вода поступает в нижнюю камеру, разделенную также на секции, и поднимается по трубам шестой по ходу газа секции (первой по ходу воды) вверх, затем сливается по трубам вниз и т. д. Таким образом, во всех шести секциях соблюден полный противоток движения газа и воды.
Для поддержания постоянной скорости движения газа и воды и, следовательно, постоянства коэффициента теплопередачи от газа к воде секции, по которым движется газ, имеют переменное сечение: наибольшее у первой по ходу газа секции и наименьшее у последней по ходу газа секции. Для воды, движущейся в противоточном направлении, наименьшее сечение труб в первой по ходу воды секции и наибольшее в месте выхода ее из холодильника. Весьма важным фактором, в значительной мере определяющим эффективность работы трубчатых холодильников, является скорость газового потока. Она, естественно, будет тем выше, чем больше нагрузка холодильника по газу. Поэтому лучшее охлаждение газа при меньшем расходе охлаждающей воды получается при последовательном прохождении газа через ряд соединенных друг с другом холодильников. Однако при этом резко возрастает сопротивление газовому потоку, т. е. разность разрежения газа до и после холодильников увеличивается.
-
РЕМОНТНО-МЕХАНИЧЕСКИЙ ЦЕХ
Ремонтно-механический цех состоит из шести основных участков;
-
склад сырья;
-
заготовительный участок;
-
участок механической обработки;
-
кузнечнопрессовый участок;
-
участок термообработки;
-
сборочный (котельно-сварочный) участок
РМЦ также обладает большим станочным парком, такие как:
-
подъёмно-транспортные машины «П» образные краны, кран-балки;
-
разделочное оборудование ножницы различного типа для отделения кусков проката;
-
сварочное оборудование;
-
токарно-фрезерное оборудование, для изготовления деталей тел вращения и для поверхностей в форме спиралей. Фрезерное оборудование для плоских, фасонных поверхностей;
-
расточное оборудование, для выполнения точно координированных отверстий;
-
оборудование для изготовления и обработки зубчатых колёс;
-
сверлильное оборудование
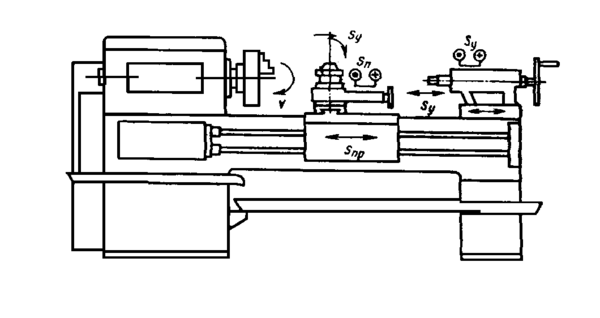
Рисунок 8.1 – Общий вид токарно-винторезного станка
Рисунок 8.2 – Общий вид токарно-карусельного станка
Рисунок 8.3 – Общий вид поперечно-строгального станка
Рисунок 8.4 – Общий вид горизонтально-расточного станка
Рисунок 8.5 – Общий вид вертикально-фрезерного станка
-
ЦЕХ РЕМОНТА КОКСОВОГО ОБОРУДОВАНИЯ
СЦРКО состоит из следующих участков:
-
Участок механической обработки;
-
Участок вентиляции;
-
Участок по ремонту компрессоров;
-
Слесарно-сборочный участок;
-
Участок вулканизации;
-
Участок гидравлики;
-
Склад готовой продукции;
-
Выездная бригада планово предупредительного ремонта
10 ТЕХНИКА БЕЗОПАСНОСТИ
После прибытия на предприятие и оформления документов студенты должны пройти вводный инструктаж по технике безопасности, при оформлении на работу - инструктаж на рабочем месте.
Основные правила техники безопасности и производственной санитарии заключаются в следующем.
На предприятие следует приходить здоровому и хорошо отдохнувшему. При появлении недомогания необходимо обратиться в больницу и обязательно поставить в известность руководителя практики. При длительной болезни необходимо сообщить на кафедру или в деканат.
Входить на территорию предприятия и выходить разрешается только через проходную с соблюдением пропускного режима в соответствующей одежде;
Одежда практиканта должна обладать защитными свойствами, обувь быть закрытой. Необходимо иметь головной убор.
По территории предприятия следует передвигаться только по установленным маршрутам, прислушиваясь к сигналам двигающегося транспорта. Особое внимание следует проявлять при переходе шоссейных и железных дорог, при переходе под навесами и крышами зданий, не следует наступать на крышки коммуникационных люков.
Запрещается проход через незнакомые цехи и участки. Нельзя заходить в незнакомые помещения.
В пределах цеха следует ходить по установленным проходам, остерегаясь движения работающих механизмов. Запрещается перелезать через конвейеры, ограждения, проемы, трогать провода, электрооборудование и прочие предметы.
Не следует проходить вблизи мест огневых работ, под технологическими трубопроводами.
Запрещается проходить мимо производственного оборудования в не застегнутой одежде, с висящими концами шарфов и прочих элементов одежды.
Следует тщательно готовить рабочее место, не допускать его захламления, пользоваться только исправным инструментом. При работе нельзя отвлекаться посторонними делами или разговорами.
Запрещается включать и выключать оборудование, снимать защитные приспособления, таблички, плакаты, указатели, если это не входит в круг служебных обязанностей.
При обнаружении неисправностей оборудования необходимо немедленно сообщить об этом непосредственно руководителю.
При любом несчастном случае или микротравмах (например, при попадании пыли в глаза) следует обращаться в здравпункт и сообщить руководителю практики.
Запрещается пить воду из не предназначенных для этого источников и принимать пищу в необорудованных местах.
Курение допускается только в специально оборудованных местах. Необходимо помнить телефоны здравпункта пожарной охраны и службы охраны труда предприятия.
ВЫВОДЫ
Во время учебной практики, проходящей на АКХЗ, я ознакомился со схемой управления предприятием и основными цехами завода.
На заводе я посетил: склад угля, цех углеподготовки, углеобогатительнуюфабрику, коксовый цех, цех улавливания, РМЦ, СЦРКО.
Ознакомился с новинками на производстве.
Прослушал курс по технике безопасности.
Узнал, какую продукцию выпускает завод. Я сделал вывод, что авдеевский коксохимический завод крупнейший в Украине.
ПЕРЕЧЕНЬ ССЫЛОК
Лейбович Р.Е. Технология коксохимического производства. М.: Металлургия, 1966. 360с.
Ткачв В.С., Остапенко М.А. Оборудование коксохимических заводов. М.: Металлургия, 1983, 360с.
Интернет. http://www.cci.donbass.com/mercury/N2001-1/avdeev.html
Интернет. http://www.akhz.com.ua/index.html
















