praktika (729210), страница 2
Текст из файла (страница 2)
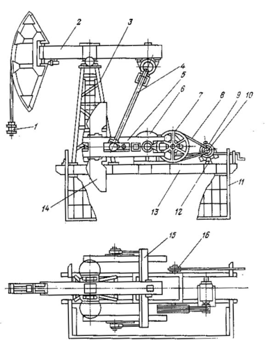
В ТПДН "Заполярнефть" применяются следующие станки-качалки отечественного производства: СК8-3,5-4000 и СКД8-3,0-4000 (рис. 2.2.). Из с
танков-качалок импортного производства применяются американские PF8-3,5-4000 производства фирмы LUFKIN.
Рис. 2.2. Станок-качалка типа СКД:
1 – подвеска устьевого штока; 2 – балансир с опорой; 3 – стойка;
4 – шатун; 5 – кривошип; 6 – редуктор; 7 – ведомый шкив; 8 – ремень;
9 – электродвигатель; 10 – ведущий шкив; 11 – ограждение;
12 – поворотная плита; 13 – рама; 14 – противовес; 15 – траверса;
16 - тормоз
Технические характеристики названных станков-качалок приведены в табл. 2.1, а технические характеристики редукторов, применяемых в данных станках-качалках, – в табл. 2.2. [2]
Т
аблица 2.1
Технические характеристики применяемых станков-качалок
| Характеристика | Типоразмер станка-качалки | ||
| СК8-3,5-4000 | СКД8-3,0-4000 | PF8-3,5-4000 | |
| Страна-производитель | Россия | Россия | США |
| Номинальная нагрузка (на устьевом штоке), кН | 80 | 80 | 80 |
| Номинальная длина хода устьевого штока, м | 3,5 | 3,0 | 3,5 |
| Номинальный крутящий момент (на выходном валу редуктора) кН*м | 40 | 40 | 40 |
| Число качаний балансира в минуту | 5-12 | 4-12 | 5-12 |
| Редуктор | Ц2НШ-750Б | Ц2НШ-750Б | PF8-3,5-4000 |
Таблица 2.2
Технические характеристики применяемых редукторов
| Характеристика | Типоразмер редуктора | |
| Ц2НШ-750Б | PF8-3,5-4000 | |
| Страна-производитель | Россия | США |
| Тип | Двухступенчатый цилиндрический | |
| Номинальный крутящий момент (на выходном валу), кН*м | 40 | 40 |
| Передаточное число | 37,18 | 37,18 |
| Масса, кг | 2735 | 2760 |
3
. ПРАВИЛА ЭКСПЛУАТАЦИИ СТАНКОВ-КАЧАЛОК
Для нормального функционирования станков-качалок проводятся следующие ежедневные работы:
-
проверка наличия скрипов, посторонних шумов, вибрации;
-
проверка состояния пальцев шатуна;
-
подтяжка верхних сальников до устранения пропусков нефти и газа, при необходимости – замена;
-
проверка состояния ремней, при необходимости – подтяжка или замена.
Еженедельно проверять уровень масла в редукторе.
3.1. Порядок установки станка-качалки
-
Построить или собрать фундамент под станок-качалку.
-
Фундамент под станок-качалку может быть монолитным железобетонным, сборным железобетонным и металлическим. При этом следует обратить внимание на выполнение безосадочного основания для обеспечения сохранения горизонтального положения фундамента и станка-качалки в процессе эксплуатации.
-
К месту установки должны быть доставлены составные части станка-качалки, согласно комплектности поставки.
-
Установку станка-качалки производить в следующей последовательности:
-
У
становить на фундамент раму в сборе с редуктором, кривошипами и электродвигателем. Перемещение рамы совместить ее продольную ось с продольной осью фундамента. При этом плоскость симметрии рамы должна проходить через центр скважины. Плоскость рамы должна быть горизонтальной. Допускаемые отклонения от горизонтальности: в поперечном направлении – 2 мм/м, в продольном направлении – 4 мм/м. Проверка горизонтальности должна производится с помощью брускового уровня в двух взаимно-перпендикулярных направлениях в начале и конце рамы. Для обеспечения горизонтальности рамы следует пользоваться стальными клиньями с последующей ликвидацией зазора между фундаментом и рамой. -
Прикрепить раму к фундаменту болтам, которые должны быть пропущены через обе полки продольных балок рамы.
-
Установить на раму стойку и закрепить ее болтами.
-
Произвести на подставке сборку балансира со следующими сборочными единицами:
-
-
траверсой с опорами и шатунами;
-
головкой балансира (с установкой упорного подшипника головки);
-
подвеской устьевого штока.
В подвеске устьевого штока канат должен выходить за нижнюю траверсу не более, чем на 30 мм. При этом концы его должны быть аккуратно обрублены и заделаны.
-
Поднять и установить балансир в сборе с указанными частями на стойку и закрепить корпуса подшипников опоры балансира к верхней плите стойки. В случае обнаружения перекоса балансира, устранить при помощи компенсационных прокладок под опору балансира.
-
Закрепить шатуны к корпусам подшипников пальца кривошипов.
-
П
роверить соединение плоскостей торцев ведущего и ведомого шкивов клиноременной передачи и крепление электродвигателя, надеть и натянуть клиновые ремни. -
Собрать и установить на уровне верхней плоскости фундамента площадку для обслуживания трансмиссии, тормоза и пускозащитной аппаратуры. При этом вход на площадку должен быть со стороны тормоза.
-
Заземлить станок-качалку, установить пускозащитную аппаратуру вблизи рукоятки тормоза и подключить ее к сети электроснабжения и к электродвигателю. При этом кривошипы должны вращаться по часовой стрелке, когда скважина находится слева от наблюдателя.
-
Привести с помощью электродвигателя кривошипы в горизонтальное положение, закрепить тормоз и установить на них противовесы, закрепить их болтами к кривошипам. Освободив тормоз повернуть с помощью электродвигателя кривошипы на 180, вновь закрепит тормоз, установить и закрепить противовесы с другой стороны кривошипов.
-
Произвести окончательную центровку балансира станка-качалки, передвигая корпуса подшипников его опоры при помощи установочных болтов. После этого закрепить крепежные болты корпуса подшипников опоры балансира и закрепить установочные болты. Проверить правильность центровки балансира.
-
Собрать и установить ограждения кривошипно-шатунного механизма клиноременной передачи.
5. При крайнем нижнем положении головки балансира расстояние между нижней траверсой подвески устьевого штока и устьевым сальником должно быть не менее 200 мм.
3
.2. Указания мер безопасности
Запрещается:
-
работа станка-качалки без ограждений кривошипно-шатунного механизма и клиноременной передачи;
-
производство работ по техническому обслуживанию и текущему ремонту без остановки станка-качалки;
-
нахождение под качающимся балансиром и его головкой;
-
проворачивание ведомого шкива (редукторного) вручную и торможение его путем подкладывания трубы, лома или других предметов. [3]
Перед пуском станка-качалки в работу следует:
-
обратить внимание на стопорение головки балансира с балансиром;
-
убедиться в том, что редуктор не заторможен, ограждения установлены и в опасной зоне нет людей.
До начала ремонтных работ или перед осмотром оборудования периодически работающей скважины с автоматическим, дистанционным или ручным пуском электродвигатель должен отключаться, а на пусковом устройстве вывешивается плакат "Не включать, работают люди!"
На скважинах с автоматическим и дистанционным управлением станков-качалок вблизи пускового устройства на видном месте должны быть укреплены щитки с надписью: "Внимание! Пуск автоматический!" Такая же надпись должна быть на пусковом устройстве.
Уровень шума работающего станка-качалки не должен превышать 90 дБ.
4
. ХАРАКТЕРНЫЕ НЕИСПРАВНОСТИ И МЕТОДЫ ИХ УСТРАНЕНИЯ
Наиболее часто встречающиеся или возможные неисправности станков-качалок и их редукторов перечислены в табл. 4.1.
Таблица 4.1
Характерные неисправности станков-качалок
и их редукторов и методы их устранения
| Наименование неисправности, внешнее проявление и дополнительные признаки | Возможная причина | Метод устранения |
| 1 | 2 | 3 |
| Расшатанность станка. Произвольное перемещение деталей относительно друг друга | Неправильно выполненный фундамент. Неправильно выполненный монтаж станка-качалки. Ослабление болтов крепления стойки редуктора к реме и рамы к фундаменту. | Проверить и исправить места неправильной сборки. Закрепить все болтовые соединения, установить контргайки. Постоянно следить за состоянием крепления. |
| Вибрация станка. | Значительное превышение числа качаний и нагрузки на устьевой шток. Неуравновешенность станка. | Режим работы станка установить согласно рекомендуемой области применения и технической характеристике станка. Проверить и уравновесить станок. |
П
родолжение таблицы 4.1
| 1 | 2 | 3 |
| Проворачивание пальца в кривошипе. Периодический скрип | Ослабление затяжки пальца в отверстии кривошипа. Несовпадение лыски на пальце с бугром кривошипа. Износ пальца и втулки. | Затянуть гайку и контргайку. Собрать правильно крепление пальца. сменить их. |
| Ослабление соединения шатуна с траверсой. | Износ соединения. | Заменить изношенную деталь. |
| Задевание шатунов за кривошипы или противовесы. Периодический стук. | Балансир неправильно установлен или не отрегулирован весь станок. | Отцентрировать станок: отрегулировать балансир до совпадения его оси с продольной осью станка. |
| Смещение корпуса подшипника опоры траверсы. Ослабление болта в корпусе подшипника траверсы. | Наличие зазоров между корпусом подшипника и упорами балансира. Неплотное прилегание гаек и болтов к опорным поверхностям. | Вставить прокладки необходимой толщины и приварить их. Затянуть гайки. В случае взаимного смещения осей гнезд и отверстий под болты в корпусе подшипника гнезда расширить. |
| Нарушение соединения кривошипа с ведомым валом редуктора. | Ослабление креплений дифференциальной стяжки кривошипа. | Затянуть дифференциальную стяжку. |
| Нарушение соединения оси балансира с балансиром. | Ослабление болтов и наличие зазоров между осью опоры балансира и упорными планками на балансире. | Установить прокладку для устранения зазоров, затянуть гайки. |
| Ослабление соединения балансира с колонной штанг. Проскальзывание устьевого штока или канатов в зажимах подвески. Обрыв отдельных проволок каната. | Несоответствие размера каната и устьевого штока размерам плашек. Износ зубьев плашек. Износ каната. | Заменить соответствующие плашки и канат. Заменить плашки. Заменить канат. |
П
родолжение таблицы 4.1
| 1 | 2 | 3 |
| Неисправная работа подшипников качения станка-качалки. Шум в подшипниках. | Недостаточная смазка. Износ или поломка подшипников. | Соблюдать требования по смазке. промыть соляровым маслом подшипники. осмотреть и заменить поломанный или изношенный подшипник. В случае преждевременного выхода из строя проверить нет ли перекосов. |
| Периодические удары в передаче. | Поломка одного или нескольких зубьев зубчатых колес. Попадание какого-либо предмета в зацепление. | Заменить поломанные и парные с ними зубчатые колеса. очистить картер редуктора от поломанных зубьев и посторонних предметов и сменить масло. |
| Негерметичность корпуса редуктора по разъему. Подтеки масла из плоскости разъема редуктора. Пульсации крышки корпуса по разъему. | Ослабление болтов крепления корпуса и крышки редуктора. Отсутствие герметизирующей пасты по линии разъема. | Затянуть болты крепления. Снять крышку корпуса, покрыть плоскость разъема герметизирующей пастой. В случае отсутствия герметизирующей пасты разрешается покрыть краской. |
Л
ИТЕРАТУРА
-
Бочарников В.Ф., Анашкина А.Е. Сквозная программа практик. Методические указания для студентов специальности 17.02 "Машины и оборудование нефтяных и газовых промыслов" очной и заочной форм обучения. – Тюмень: ТюмГНГУ, 1998. – 23 с.
-
Бухаленко Е.И., Вершковой В.В., Джафаров Ш.Т. Нефтепромысловое оборудование: справочник. – М.: Недра, 1990. – 559 с.
-
Манвелян Э.Г. Техника безопасности при эксплуатации нефтяных скважин. – М.: Гостоптехиздат, 1963. – 156 с.
становить на фундамент раму в сборе с редуктором, кривошипами и электродвигателем. Перемещение рамы совместить ее продольную ось с продольной осью фундамента. При этом плоскость симметрии рамы должна проходить через центр скважины. Плоскость рамы должна быть горизонтальной. Допускаемые отклонения от горизонтальности: в поперечном направлении – 2 мм/м, в продольном направлении – 4 мм/м. Проверка горизонтальности должна производится с помощью брускового уровня в двух взаимно-перпендикулярных направлениях в начале и конце рамы. Для обеспечения горизонтальности рамы следует пользоваться стальными клиньями с последующей ликвидацией зазора между фундаментом и рамой.
роверить соединение плоскостей торцев ведущего и ведомого шкивов клиноременной передачи и крепление электродвигателя, надеть и натянуть клиновые ремни.
родолжение таблицы 4.1














