TPS-4_1 (729153), страница 2
Текст из файла (страница 2)
1) штамповую обработку,
2) бесштамповую обработку.
При штамповой обработке на машине используют специальный инструмент - штамп (отсюда и происходит название). С помощью штампа можно получать изделия одинаковых размеров. При бесштамповой обработке на машине используют универсальный деформирующий инструмент, позволяющий получать различные размеры изделий одинаковой формы (круглый, квадратный, прямоугольный пруток, лист, ленту). К операциям штамповой обработки относят:
1) операции холодной листовой штамповки,
2) операции холодной объемной штамповки,
3) операции горячей (листовой и объемной) штамповки. При операциях листовой штамповки исходная заготовка из листового металла и в процессе пластического деформирования ее толщина не меняется или изменяется незначительно. При операциях объемной штамповки размеры исходной заготовки значитально изменяются по трем направлениям. Основными операциями бесштамповой обработки являются:
1) прокатка,
2) волочение. Операции холодной листовой штамповки делятся на три основные группы:
1) разделительные,
2) формообразующие,
3) комбинированные.
К разделительным операциям листовой штамповки относят: отрезку, разрезку, обрезку, вырезку, надрезку, просечку, вырубку, пробивку, зачистку и калибровку и др.
При разделительных операциях происходит отделение полное (отрезка, разрезка, обрезка, вырезка, вырубка, пробивка, зачистка, калибровка) или частичное (надрезка, просечка) металла от исходной заготовки.
Результатом этих операций являются или готовые детали или заготовки, используемые для последующей обработки.
К формообразующим операциям относят: гибку, вытяжку, отбортовку, обжим, формовку и др.
При формообразующих операциях исходная плоская заготовка деформируется в пространственную деталь. При этом плоская заготовка или локально (гибка, отбортовка, обжим, формовка) или полностью (вытяжка) деформируется.
К комбинированным операциям относят - различные комбинации одновременно выполняемых в одной или нескольких позициях штампа различных операций.
Операции холодной объемной штамповки: выдавливание, высадка, чеканка и калибровка, накатка резьб и зубчатых колес и др.
4.3. Материалы, применяемые в холодной штамповке
В холодной штамповке применяют разнообразные как металлические, так и неметаллические материалы. Наиболее широко применяют следующие металлы и их сплавы: железо, медь, алюминий, магний, цинк, никель, титан; обрабатывают штамповкой и менее распространенные металлы и их сплавы: молибден, тантал, кобальт, бериллий, цирконий, золото, серебро, платину и др.
Неметаллические штампуемые материалы разделяют на две группы. К первой группе относят: бумагу, картон, прессшпан, кожу, фетр, войлок, резину и прорезиненную ткань, хлопчатобумажные и шерстяные ткани и другие прокладочные материалы. Ко второй группе относят конструкционные, электроизоляционные и теплоизоляционные материалы: 1) слоистые пластмассы - текстолит, гетинакс, стекло- текстолит, асботекстолит, фибра, древеснослоистые пластики и др.,
2) блочные пластмассы - органическое стекло, целлулоид, винилласт, поливинилхлорид, полиэтилен, 3) асбестовые изделия - бумага асбестовая, картон асбестовый, гидроизол, паронит, асбометалличес- кое армированное полотно, 4) слюда и миканиты: слюда (мусковит, флагонит, биотит), миканиты (коллекторный, прокладочный, формовочный и гибкий).
Номенклатура марок материалов и сортамент (форма и размеры) установлены соответствующими Гостами. Наиболее распространенными являются различные сортаменты черных и цветных металлов в виде листов, лент, полос, круглых, квадратных и шестигранных прутков. В последние годы созданы новые листовые материалы стальные и алюминиевые листы, покрытые цветной пластмассой толщиной 0,36 мм.
Технологические свойства металла для штамповки характеризуют: механические характеристики, химический состав, структура и величина зерна, анизотропия, точность размеров заготовок.
Механические свойства металла характеризуют в основном: а)прочностными показателями-пределом текучести (бт , пределом прочности бв , б) пластическими показателями - относительным удлинением д и относительным сужением. В зависимости от условий работы назначения и технологии штамповки к штампуемому материалу
предъявляют определенные механические и технологические
требования. При разделительных операциях металлы с высоким пределом текучести дают чистый срез; для формообразующих операций (гибки, вытяжки) желателен низкий предел текучести - это способствует уменьшению упругой деформации после штамповки. Особенно это важно для операций гибки, где большой объем упругодеформируемого металла. Вытяжка листового металла успешно протекает при большом относительном удлинении (δ>28%) и малом отношении предела текучести к пределу прочности - бт/бв<0,65. Выбранный материал должен также обеспечивать возможность выполнения последующих технологических операций отделки, сборки и т.д.
Химический состав сильно влияет на механические свойства материала. Для регламентирования механических характеристик к химсоставу для штампуемых сталей предъявляют жесткие требования.
Структура в большой степени влияет на механические свойства материала. В сталях структурное состояние углерода (феррит, перлит, цементит) определяет пригодность к штамповке. Наиболее благоприятна для штамповки структура феррита или структура феррита и зернистого перлита.
Величина зерна и однородность его оказывают большое влияние на штампуемость. Неоднородность зерна вызывает неравномерную деформацию объема металла и является причиной разрывов при вытяжке. Рекомендуют величину зерна 0,026-0,057 мкм, при величине зерна менее 0,018 мкм сталь хуже деформируется - при вытяжке возникают трещины и гофры, при гибко значительное пружинение. При разделительных операциях качество поверхности скола определяется величиной зерна, при вытяжке и гибко ухудшение шероховатости тем больше, чем больше величина зерна.
Анизотропия увеличивает количество операций при вытяжке при гибко увеличивает минимальную величину радиуса гибки, при вырубке - пробивке уменьшает точность размеров.
Точность размеров заготовки оказывает влияние на точность изготовления деталей.
4.4. Холодная листовая штамповка
Виды заготовок. Для листовой штамповки используют заготовки в виде листа, полосы, ленты или профилей различного поперечного сечения: труба, уголок, двутавр и т.д.
Раскрой материала. Раскрой материала - это способ расположения деталей (заготовок) в ленте, полосе или на листе с целью рационального использования исходного материала.
Раскрой полосы (ленты). В зависимости от требований по точности различают три типа раскроя: а) с отходами перемычками, б) с частичными отходами, в) без отходов.
Раскрой с отходами (рис.7a) применяют для изготовления деталей повышенной точности (8-13 квалитет), а также для деталей сложной конфигурации, раскрой с частичными отходами (рис.7б) и без отходов (рис.7в) применяют для простых по форме деталей низкой точности. Перемычки между деталями и краем определяют по таблицам в зависимости от толщины и конфигурации детали. Применяют по указанным схемам однорядный и многорядный раскрой. Нужную ширину полосы (ленты) получают путем резки листа (рулона) на полосы (ленты).
Раскрой листа (ленты). При раскрое листа нужно стремиться к получению целого числа полос, длина которых равна шагу подачи. Предпочтительным является продольный раскрой (рис.8а) увеличивающий производительность труда за счет меньшего количества заправок полос в штамп. Для уменьшения отхода по некратности длины полосы применяют поперечный и комбинированный раскрой листа (рис.8б,в). При раскрое ленты следует предусматривать у краев припуск 2-3 мм для удаления смятых при транспортировке торцов.
Рациональным считается раскрой, для которого получают наибольший коэффициент использования материала
N=(n*Fд)/B*A
где n - число деталей в полосе или ленте,
Fд - площадь детали, мм2, B,A - ширина и длина полосы, ленты или листа, мм.
Разделительные операции
Общие сведения.
Различают разделительные операции: 1) со значительной шириной отделяемого металла (более двух толщин) - резка, вырубка, пробивка, вырезка, надрезка и др., и 2) операции с небольшой шириной отделяемого металла (менее 0,5 толщина - зачистка, калибровка. Механизмы разделения в этих случаях различны.
Первая группа операций применяется для разделения листов и лент с целью получения деталей или заготовок для последующей штамповки. Вторая группа операций - с целью отделки - повышения качества деталей
Резка. Механизм разделения операций резки, вырубки, пробивки и др. одинаков. Процесс резания - деформирования заготовки протекает в три этапа:
1) упругая и начало пластической деформации,
2) пластическая деформация, сопровождающаяся пластическим врезанием ножей в материал заготовки,
3) разделение металла, происходящее после исчерпания пластической деформации путем скола.
При упругой деформации (1 этап) происходит упругое сжатие и изгиб, свободные концы заготовки при этом поворачиваются на некоторый угол. При пластической деформации (2 этап) врезаются ножи в разделяемый металл, качество поверхности разделения при этом зависит в значительной мере от качества задней поверхности ножей. После исчерпания пластической деформации металла наступает сдвиг (скол) металла (3 период). У режущих кромок ножей образуются трещины скола металла. Эти трещины располагаются под некоторым углом к направлению движения ножей. Для качественного среза они должны встретиться.
Следовательно, для обеспечения качественного среза между ножами должен быть определенный зазор Z Опытные данные показывают, что величина зазора должна быть в пределах Z = (0,05-0,20)S (S - толщина металла).
Шероховатость поверхности среза соответствует Ra = 2,5-0,32 мкм, шероховатость поверхности скола - Rz = 16,0-20,0 мкм (рис.9д).
рис. 9
Напряжения и деформации в плоскости листа распространяются вдоль линии резки по обе стороны примерно на полосе шириной около одной толщины металла (рис.10).
Из этих данных следует, что при ширине отрезаемой полосы или ленты равной или менее двух толщин поперечное сечение будет значительно искажено.
Под действием силы резания возникает опрокидывающий момент, поворачивающий лист. Для предотвращения поворота листа применяют прижим.
Основные технологические параметры кроме зазора, точности и шероховатости поверхности - усилие и работа резки; они определяются по формулам:
p=бв*s*L н/(кгс) (2)
A=(p*s*a)/1000 нм(кгс) (3)
где бв - предел прочности разрезаемого металла н/м2 (кгс/мм2),
S - толщина металла (мм), L - периметр резки (мм), a - коэффициент, равный 0,5-0,6.
Усилие и работа необходимы для подбора оборудования (ножниц).
Для резки листового металла применяют различные типы ножниц: 1) ножницы с параллельными прямыми ножами, 2) ножницы с наклонными прямыми ножами, 3) ножницы с многодисковыми ножами, 4) ножницы с парнодисковыми наклонно поставленными ножами и др. (рис.9а-г), а также штампы.
Ножницы с параллельными, наклонными и многодисковыми ножами применяют для прямолинейной резки; ножницы с парнодисковыми наклонными ножами - для криволинейной резки и вырезки по замкнутому контуру. Ножницы с параллельными и наклонными ножами применяют для резки листов, ножницы с многодисковыми ножами - для резки лент. Для выбора ножниц усилие рассчитывают по формулам:
а) для ножниц с параллельными ножами - по формуле (2)
б) для ножниц с наклонными ножами
P=(1/2)*(бв*S2)/tgL (4)
в) для многодисковых ножниц
*
P=0,4*m*(бв*S2)/tga
где бв - предел прочности материала, н/м2(кгс/мм2),
S - толщина материала, мм, L - угол наклона ножей, град, α (альфа) -угол захвата материала дисками, град, м - число пар ножей.
Точность резки по ширине зависит от толщины и ширины отрезаемой заготовки; более высокая точность резки на штампах, затем на многодисковых ножницах, затем на параллельных ножницах и наиболее низкая - на ножницах с наклонными ножами. Точность резки на ножницах определяется по справочным таблицам в зависимости от ширины и толщины разрезаемого металла. Ориентировочно она оценивается 12-14 калитетом точности.
Технологические требования (технологичность). 1) Ширина отделяемой части металла должна быть или равна двум толщинам материала.
2) Точность резки по ширине - 12-14 квалитет. Она уточняется по справочнику в зависимости от применяемого оборудования и толщины материала.
3) Шероховатость поверхности среза по толщине неоднородна - от Rz = 160-20 мкм в зоне скола до (Ra = 2,5-0,32 мкм в зоне среза. Вырубка и пробивка. При вырубке и пробивке происходит отделение металла по замкнутому контуру; при вырубке отделенная часть - является деталью, при пробивке - отходом. Схема процесса показана на рис.11
Механизм разделения со всеми его особенностями не отличаются ничем от механизма разделения при резке. Напряжения пластического деформирования распространяются на величину равную (0,6-0,7) толщины металла (рис.10), как и при резке.
В отличие от резки изгибающий момент при вырубке - пробивке приложен по замкнутому контуру к заготовке, находящейся внутри и вне контура резки, что приводит также к изгибу вырубаемой и пробиваемой заготовки - детали. При равномерном сопротивлении изгибу, что достигается соответствующим расстоянием от контура резки до края заготовки (перемычке), получают нормальное качество поверхности разделения. При малой перемычке ча6ть металла втягивается в зазор между режущими кромками и в этом случае, как и при большом зазоре, получают заусенцы. Под действием изгибающего момента обе части заготовки получают остаточный прогиб, для получения плоской детали необходима дополнительная операция плоскостной правки. Величина зазора здесь также влияет на качество разделения. При нормальном зазоре Z = (0,05-0,20)S получают наилучшее качество поверхности разделения - в зоне среза параметр шероховатости Ra = 2,5-0,32 мкм, в зоне скола параметр шероховатости Rz= 80-20 мкм, при увеличенном зазоре шероховатость поверхности разделения такая же как и при нормальном зазоре, и кроме этого возникает заусенец; при уменьшенном зазоре поверхности скола не могут соединиться и поэтому параметр шероховатости ниже Rz =320 мим в зоне двойного скола - среза (рис.12). Точность размеров при вырубке - пробивке зависит от толщины материала, формы и размеров заготовки.
Точность круглого контура находится в пределах 11-14 квалитета. Для конкретных условий уточняется по справочнику. Так как заготовка в процессе вырубки-пробивки прогибается, то применение прижима заготовки увеличивает точность размеров.
Усилие и работа, необходимые для выбора оборудования определяют по формулам (2) и (3).
Для выполнения операций вырубки-пробивки используют механические - кривошипные прессы. Прессы могут быть оснащены устройствами для автоматической подачи ленты или полосы, автоматическими устройствами выталкивания детали из верхней и нижней части штампа, для удаления отходов и деталей под действием сил веса изготовляют прессы с наклоняемой станиной.
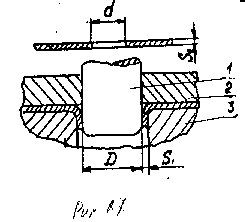
Основной инструмент для вырубки и пробивки - штамп, который устанавливается на пресс. Размеры штампа должны вписываться в рабочее пространство пресса - размеры стола пресса и быть не более наименьшего расстояния от ползуна пресса до стола. Типовая конструкция штампа для серийного и массового производства деталей без прижима изображена на рис. 13 Любой штамп состоит из следующих основных деталей: 1 - формообразующих деталей - пуансона (1), матрицы (2), П - деталей ориентирующих заготовку относительно рабочих деталей
- направляющих (3) или фиксатора,
Ш - деталей ориентирующих рабочие детали друг относительно друга- направляющих колонок (4) и направляющих втулок (5),
1У - деталей, снимающих отход или заготовку с пуансона - съемника (6),
У - корпусных деталей штампа - верхней плиты (7), нижней плиты
(8),
У1 - деталей, обеспечивающих крепление штампа к прессу - хвостовика (9), прижимных планок, прокладки, болтов с гайками, УП - крепежных деталей для крепления всех деталей в штампе -винтов,
штифтов, болтов и др.
Технологичность деталей, получаемых вырубкой и пробивкой определяется прочностью рабочих частей штампа и технологическим процессом штамповки.
1. Плоские детали должны иметь простую конфигурацию, острые углы, узкие прорези и выступы снижают стойкость штампов и усложняют их изготовление.
2. При применении цельных матриц, вырубка с перемычками, пробивке выполнять плавное сопряжение пересекающихся элементов контура детали (рис.14a). Минимальные радиусы сопряжения углов: при α>90° R=(0,25-0,35)S , при a<90° R=(0,5 - 0,6)S - для металлов, для неметаллических материалов эти радиусы больше из-за малой прочности штампуемого материала.
3. При составных матрицах и при безотходной штамповке пересекающиеся элементы контура не сопрягают.
4. Минимальные размеры отверстий, пробиваемые в штампах нормальной конструкции: круглых d=(1-1.5)S , квадратных a = (0,9-1,4)S , прямоугольных b = (0,7-1,2)S , овальных c = (0,6-1,1)S для сталей в зависимости от прочности ( бв = 50-70 кгс/мм2) (рис. 14б).
5. Для пробивки отверстий диаметром до 1/3S , применяют специальные штампы.
6. Минимальные расстояния между раздельно пробиваемыми отверстиями круглой и прямоугольной формы a1>(1-1,2)S (рис.14в).
7. Минимальное расстояние между пробиваемым отверстием и ранее полученным контуром детали a2>(0,7-0,9)S (рис.14в).
8. Минимальное расстояние между одновременно пробиваемыми отверстиями равно двум-трем толщинам металла. *
9. Точность размеров определяется в зависимости от толщины штампуемого металла и конфигурации детали, для круглых контуров она находится в пределах 11-14 квалитета.
10. Шероховатость поверхности среза по толщине неоднородна: в зоне среза Rа = 2,5-0,32 мкм, в зоне скола - Rz=80-20 мкм. Технологический маршрут вырубки*пробивки:
а) вырубка - укладка полосы в штамп и установка ее до упора, вырубка детали, удаление детали из штампа (и подача полосы на шаг),
- галтовка (для снятия заусенцев),
- рассортировка деталей и абразивов,
- контроль,
б) пробивка - укладка заготовки в штамп,
- пробивка детали,
-удаление детали из штампа,
- контроль.
Чистовая вырубка и пробивка
Чистовую вырубку и пробивку применяют для исключения недостатков вырубки-пробивки: получения перпендикулярности поверхности среза плоскости детали, устранения прогиба, получения шероховатости поверхности с параметром Ra = 2,5-0,32 мкм и точности 6-9 квали-
тета.
Зачистка
Зачистка и калибровка применяются для тех же целей, что и чистовая вырубка и пробивка, т.е. достижения перпендикулярности поверхности среза плоскости листа, шероховатости Rа = 2,5-0,32 мкм, точности 8-9 квалитета. Зачистка (калибровка)производится на ранее полученных вырубкой (пробивкой) заготовках. В этом случае после правки с обрабатываемой поверхности снимают небольшой слой материала - припуск.
Зачистка выполняется по наружному или внутреннему контуру заготовки. Минимальная величина припуска на зачистку равна зазору между пуансоном и матрицей при вырубке или пробивке (рис.15). Зачистку применяют для деталей с периметром до 300 мм и толщиной до 10 мм. Зачистка выполняется за один проход для деталей толщиной менее 5 мм с плавным очертанием наружного контура. Многократную зачистку применяют для деталей толщиной более 5 мм и для деталей со сложной конфигурацией наружного контура независимо от толщины. Качество зачистки зависит от величины припуска и распределения его по периметру, а при многократной зачистке от распределения по переходам.
Применяют также зачистку обжатием в матрице с заваленными кромками, припуск в этом случае составляет 0,04-0,06 мм.
Формообразующие операции
Гибка. Гибка - это формообразующая операция, при которой изменяется кривизна в одном или нескольких участках заготовки.
Изменение кривизны может происходить только при переменных деформациях по толщине; эти переменные деформации вызваны переменными напряжениями по толщине. Гибка производится под действием силы, момента или одновременно силой и моментом. Наиболее часто используется гибка силой (рис.16а).
Исследование процесса гибки показывает, что по толщине напряжения и деформации не только постепенно изменяются, но и различны
по знаку: в участках, прилегающих к матрице, возникают растягивающие напряжения и деформации растяжения, а участках, прилегающих к пуансону, напряжения и деформации сжатия, что приводит к изменению поперечного сечения (рис.16б). Между этими участками находятся слои с напряжениями и деформациями равными нулю. В общем случае, слои нулевых напряжений и деформаций (нейтральные слои) не совпадают. Практическое значение имеет положение нейтрального радиуса деформаций, определяемого по формуле
r1=r+x*s (6)
где r - радиус пуансона, S - толщина металла, x - коэффциент смещения нейтрального от серединного слоя, определяемой в зависимости от отношения r/s , при r/s = 0,5 x=0,3 при r/s = 10, x=0,5. В дальнейшем r1 используется для определения размеров заготовки.
В процессах гибки большое значение имеет радиус гибки. Величина его ограничивается минимальным радиусом. Минимальный радиус гибки определяется из условия отсутствия разрушения металла в зоне растяжения. Минимальная величина этого радиуса зависит от пластических свойств материала и толщин заготовки. Для материалов средней пластичности ( δ = 15-20%) минимальный радиус гибки (пуансона) ориентировочно равен 0,5 * Для конкретных материалов (условий*) уточняется по таблицам. Чем более пластичный металл, тем меньше минимальный радиус гибки и наоборот. Минимальный радиус гибки зависит и от расположения линии гибки относительно направления проката (расположения волокон макроструктуры); при параллельных линию гибки и направлении проката - минимально допустимый радиус больше, чем при взаимноперпендикулярном расположении направления проката и линии гибки, когда получают наименьшую величину минимально допустимого радиуса гибки. При промежуточной величине угла наклона линии гибки к направлению проката надо брать промежуточные значения радиуса гибки, пропорциональные величине угла. Для предупреждения образования отпечатков на полочках детали необходимо назначать на кромках матрицы, по которым втягивается материал, радиус не менее трех толщин.
Так как напряжения и деформации по толщине неодинаковы по величине и знаку, то на основе закона о разгрузке, происходит уменьшение растянутой части, и увеличение размера сжатой части заготовки. Это приводит к упругому изменению угла гибки - пружинению, приводящему к уменьшению угла гибки (рис.17). Одновременно происходит и увеличение радиуса гибки.
Пружинение зависит от относительной величины радиуса пуансона r/s , материала детали, угла гибки и других факторов. Величина пружинения для данных условие гибки постоянна. Величина пружинения может быть уменьшена путем сжатия (правки) детали в штампе. При радиусах гибки менее r/s<2 изменение радиуса по величине незначительно и поэтому его не учитывают.
Растягивающие и сжимающие напряжения и деформации гибки вследствие закона о дополнительных напряжениях, возникают и в прямолинейных участках, прилегающих к криволинейным, распространяются на расстояние до двух толщин материала от линии сопряжения криволинейного участка с прямолинейным. Усилие гибки V образной детали определяют по формуле:
P= бв*(B*s2)/(r+s) (7)
где B - ширина летали.
Для других форм детали определяют усилие по соответствующим формула в справочниках.
Размеры заготовки рассчитывают исходя из развертки детали на плоскость. Как известно при гибке изменяется длина волокон в криволинейных участках, а прямолинейные остаются по длине до и после гибки неизменной длины. Поэтому деталь разделяют на прямолинейные и криволинейные участки (рис.18),
определяют их длины и суммируют для получения общей длины развертки. Длины прямолинейных участков определяют по данным чертежа, длины криволинейных участков по длине нейтрального волокна деформации:
lkpi=(п*r1*a)/180
длина развертки равна
где - сумма длин прямолинейных участков, - сумма длин криволинейных участков,
r1 - радиус нейтрального волокна деформации формула (6) n,k - число прямолинейных и криволинейных участков.
Оборудование Для выполнения операции гибки используют кривошипные прессы. В условиях массового производства используют специализированные прессы, а также специальные гибочные прессы - универсально-гибочные автоматы. Эти автоматы увеличивают производительность в десятки раз.
Оснасткой для гибки является штамп. Конструкция штампа для гибки содержит элементы, известные по конструкции штампа для вырубки-пробивки.
Технологичность деталей получаемых гибкой
1. Радиус гибки пуансона не должен быть менее допустимого минимального для данного материала.
2. Радиус матрицы не менее трех толщин.
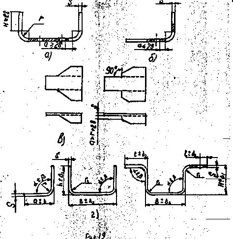
3. Длина отгибаемой части полочки должна быть не менее двух толщин (рис.19а), если отгибаемая часть короче рекомендуемой величины, то ее изготовляют более длинной, а затем обрезают по высоте.
4. Расстояние от края отверстия до линии сопряжения полочки с радаусом должано быть не менее двух толщин (рис.19а). При меньшем расстоянии пробивку отверстия делают после гибки или предусматривают на перегибе отверстие (рис.19а) для предупреждения
искажения ранее полученного отверстия.
5. При одновременной двуугловой (четырехугловой) гибке длина линии гибки противоположных полочек не должна резко отличаться, так как под действием сил трения может изменяться высота полочки.
6. Угол между линиями гибки и контура домен быть равен 90˚ для предупреждения деформации полочек под действием сил трения (рис.19в).
7. Простановка размеров и допусков на чертеже детали: наиболее технологичны детали у которых координаты центров отверстий заданы от края полочки (рис. ), в этом случае пробивку отверстий совмещают с вырубкой заготовки, при другой схеме простановки размеров отверстия пробивают в отдельном штампе после гибки для обеспечения заданной точности; допуски на линейные размеры задают симметричные.
Вытяжка. Вытяжкой называют процесс превращения плоского заготовки в полое изделие, или - процесс превращения полой заготовки в полое изделие меньшего диаметра и большей высоты. Различают вытяжку с утонением стенок и без утонения стенок, а также комбинированную вытяжку.
При обычной вытяжке толщина стенок детали гложет быть больше исходного толщины заготовки. При вытяжке с утонением толщина стенок получаемой детали меньше толщины стенок заготовки. При обычной вытяжке основная деформация происходит за счет значительного изменения диаметра заготовки, при вытяжке с утонением - за счет
изменения толщины заготовки. При комбинированной вытяжке происходит деформирование заготовки и за счет изменения диаметра и за счет уменьшения толщины заготовки одновременно.
В зависимости от температуры штампуемого металла различают холодную вытяжку и вытяжку с подогревом. Под термином "вытяжка" подразумевают холодную вытяжку без утонения. В процессе вытяжки получают детали круглого и других (произвольных) поперечных сечений: квадрат, прямоугольник, овал и др.
Рассмотрим процесс вытяжки на примере изготовления круглой детали (рис.20). В этом случае круглая заготовка втягивается в зазор Z между матрицей и пуансоном под действием силы Р; при этом диаметр заготовки уменьшается и высота изделия увеличивается за счет сжатия заготовки в окружном направлении и растяжения в радиальном направлении; дно растягивается в окружной и радиальном направлениях. При некоторых условиях под действием сжимающих напряжений теряется устойчивость фланца-кольцевой части заготовки. Это приводит к образованию гофров, препятствующих втягиванию заготовки в зазор и приводящих к разрыву заготовки - браку. Для предупреждения образования гофров вводят прижим (рис. 20а), прижим осуществляют с давлением q = (0,1-0,3 кгс/мм2) 0,01-0,03 Мн/м2.
Процесс деформирования при вытяжке характеризует отношение среднего радиуса деуали к радиусу заготовки - коэффициент вытяжки; предельная величина коэффициента вытяжки
m=r/R3=0,5-0,7 (10)
при этом отношение высоты полученной детали к диаметру H/d<0,7-0,6.
Если необходима большая высота детали полученное полое изделие подвергают последующей вытяжке: второй, третьей и т.д. При этом предельная суммарная величина коэффициента вытяжки может достигать m = 0,25, а отношение высоты детали к диаметру до
8-10. Необходимость прижима. Прижим на первой операции нужен, если
(S/D3)*100<2 (11)
прижим на последующих операциях нужен, если
(S/dn-1)*100<1,5 , а mn<0,78 (12)
Усилие прижима определяют по формуле
Pnp=q*Fnp (13)
где q - давление прижима , Fnp - площадь прижима .
Втягивание материала в матрицу возможно лишь наличии определенных радиусов на пуансоне или матрице, так как при радиусах равных нулю процесс вытяжки переходит в процесс вырубки. При вытяжке рекомендуют назначать:
радиус матрицы : rm=(4-8)S (14)
радиус пуансона: rn=(0,7-0,8)rm
Для уменьшения сил трения при вытяжке заготовки смазывают смазками, назначаемыми в зависимости от марки металла заготовки.
Усилие вытяжки определяют по формуле (наибольшее)
Pв=бв*п*d (15)
Общее усилие определяют с учетом прижима
P=pв+pnp (16)
При вытяжке одновременно можно формовать на дне небольшие рельефные впадины и выступы, деталь может быть без фланца и с фланцем.
Особенности формы
При вытяжке вследствие анизотропии материала открытый торец детали получается по высоте не одинаковым , а наружный диаметр фланца не круглым . Поэтому необходим припуск для обрезки. Толщина детали по высоте также не одинакова у верхнего торца от 1 до 1,3 толщины у дна - 0,85So , толщина дна уменьшается до 0,95So (рис.21)
Размеры заготовки определяют из условия равенства поверхности заготовки поверхности детали с учетом припуска на обрезку; для круглой детали:
Fзаг=FДЕТ+F; D3=1,13(Fзаг)1/2 (17)
Зазор между матрицей и пуансоном принимается равным (1-1,3)So в зависимости от коэффициента вытяжки.
Штампы для вытяжки имеют те же, что и при вырубке - пробивки, основные элементы.
Вытяжка с подогревом. При обычной вытяжке за один переход получают высоту (0,6-0,7)d. При вытяжке с подогревом можно за один переход получить высоту, равную (1,3-2,3)d. Способ используется для вытяжки заготовок главным образом из цветных сплавов (алюминиевых, магниевых, титановых). Сущность процесса заключается в том, что материал в очаге деформации нагревается (рис.22) и тем самым уменьшается его предел текучести а в зоне сформировавшейся части детали металл охлаждается для увеличения механических характеристик.
Температура нагрева в очаге деформации должна быть выше температуры рекристаллизации с тем, чтобы материал не получал упрочнения. Вытяжка делается на
гидропрессах или на тихоходных (12-20ход/мин) механических прессах.
Вытяжка с утонением. Вытяжка с уточнение отличается от рассмотренной выше вытяжки тем, что при этом процессе уменьшается толщина стенки полого изделия, а диаметр остается почти неизменным, высота детали значительно увеличивается. Зазор между матрицей и пуансоном в этом случае меньше толщины заготовки (рис.23).
Сущность процесса. Усилие от пуансона передается донышку, при этом начинает уменьшаться толщина стенки за счет нормальных сил возникающих со стороны конической части матрицы и пуансона, тангенциальных сжимающих сил и еще сил трения на матрице и пуансоне.
Важно отметить, что сила трения на пуансоне направлена вниз и способствует разгрузке опасного сечения, так как материал в очаге деформации под действием сдвигающих напряжений частично при движении пуансона вытесняется вверх относительно движения пуансона (двигающегося вниз).
Для получения большей степени деформации (U=(Fo-F)/Fo) вытяжку ведут через две или три матрицы. Для вытяжки с утонением применяют все деформируемые материалы.
Вытяжка с утонение нашла широкое применение в промышленности, особенно в приборостроении для изготовления заготовок сильфонов - упругих чувствительных элементов системы автоматики.
Вытяжка с утонением по сравнением с обычной вытяжкой имеет следующие преимущества:
1.Не требует применения сложных штампов и прессов.
2.Число вытяжных операций может быть меньше для получения заданной высоты по сравнением с обычной вытяжкой.
3.Качество металла в вытянутой стенке лучше.
Особенность деталей заключается в том, что толщина донца в (5-10) раз толщины стенок.
Точность при вытяжке нужно рассматривать для каждого параметра отдельно:
а) Точность по диаметру,
б) Точность по толщине стенок,
в) Точность по высоте.
Эти параметры в значительной степени определяются степенью точности инструмента. С учетом всех факторов достигаемая при вытяжке точность по диаметру может соответствовать 6-9 квалитету; по толщине - 6-11 квалитету; по высоте - ниже 16 квалитета.
Качество наружной поверхности зависит от качества поверхности матрицы: внутренней - определяется частотой поверхности исходного материала и пуансона; шероховатостью по наружной поверхности - Ra=0,63-0,16 мкм.
Комбинированная вытяжка. При комбинированной вытяжке за один переход существенно уменьшается диаметр заготовки и толщина (рис.24). Так как при обычной вытяжке значительная разнотолщинность стенки по высоте (до 0,85S у дна и до 1,3S у верхнего торца), то в начальный момент происходит только обычная вытяжка и вытяжка с уточнением. При комбинированной вытяжке создается благоприятная схема напряженного состояния, при которой обычная вытяжка разгружает наиболее нагруженное сечение вытяжки с уточнением. Это позволяет с получением высоких качественных показателей увеличить производительность в 2-3 раза.
При комбинированной вытяжке получают заготовки 6-9 квалитета, точности по диаметру , 6-11 квалитета точности по толщине стенки, шероховатость - Ra=0,63-0,16 мкм.
Технологичность деталей полученных вытяжкой.
1.Радиус рабочей кромки матрицы rm=(4-8)S, пуансона
rn=0,7rm. Сопряжение дна со стенкой без радиуса можно получить путем калибровки или при штамповке весьма толстых заготовок с D3/S>20 , m>0,7.
2.В первую очередь операцию вытяжки можно получить отношение высоты детали (H) к диаметру (d) не более H/d<0,6 (m=0,5); для получения большей высоты необходимы последующие переходы.
Наиболее экономично изготовлять более высокие детали с большей точностью и лучшим качеством поверхности комбинированной вытяжкой, при которой за одну операцию можно получить в зависимости от принятых степеней деформации относительную высоту детали до 1,5-2,5.
3. Избегать глубоких вытяжек с широким фланцем (Dф>3d при h>2d) , требующих большого количества операций.
4.Конфигурация деталей должна быть простой: дно - плоское или слегка выпуклое в наружную сторону, фланец - плоский, боковые поверхности цилиндрические, конические; Вместо конических с малым углом конусности предпочтительнее цилиндрические поверхности.
5.Размеры деталей следует проставлять так : высоту-от дна детали, радиусы закруглений между дном и стенкой - по внутренней поверхности, радиус закругления между фланцем и стенкой - по наружной поверхности, размеры выступов по высоте лучше проставлять между дном и ступенью снаружи.
6.Допуски на диаметры выпуклых деталей следует устанавливать не выше 12-13 квалитета точности.
7.Точность поперечного сечения деталей при комбинированной вытяжке соответствует 6-9 квалитету точности, большая точность относится к деталям, полученным с большой степенью деформации по диаметру.
8.Шероховатость поверхности деталей полученных комбинированной вытяжкой и вытяжкой с утонением соответствует Ra=1,25-0,16 мкм; при обычной вытяжке шероховатость на 1-2 интервала параметра шероховатости ниже исходной.
Формовка.
Формовка - процесс изменения формы заготовки за счет местных деформаций. К формрвке относятся операции:
1.рельефная формовка,
2.отбортовка отверстий,
3. закатка борта,
4. раздача,
5. обжим,
6. правка.
Рельефная формовка - операция, которая обеспечивает получение на заготовках ребер жесткости различной формы (рис.25). При рельефной формовке листового материала деформирование происходит за счет двухосного растяжения (растяжения в плоскости листа), при этом материал значительно утоняется (50%).
Допустимая степень деформации определяется по формуле:
E=(l-lo)/l0<0,75δ = 15-18% (18)
где lo и l -длина элемента до и после деформации операции, δ - относительное удлинение материала при растяжении.
Отбортовка . Различают отбортовку отверстий и отбортовку наружного контура.
Отбортовка отверствий - процесс формоизменения листовой заготовки, при котором у отверстия получают борт (рис.26).
При деформировании наблюдается растяжение в тангенциальном (окружном) направлении и уменьшение толщины материала. Степень деформации определяется коэффициентом отборки:
Kот=d/D
При (S/D)*100=2 , Kот=0,75 при сверлении отверстия и Kот=0,8 при пробивке.
Допустимая степень деформации в значительной степени зависит от:
1) качества поверхности отверствия,
2)относительной толщины материала ,
3) материала и его состояния ,
4)формы рабочей части пуасона.
Чем меньше трещин на поверхности отверствия, чем меньше Kот.
У сверленных отверствий Kот меньше, чем пробитных. У пробитной детали Kот значительно изменяется в зависимости от положения блестящего пояска относительно матрицы. Если блестящий поясок будет в зоне наибольших деформаций, то Kот меньше, чем при положении шероховатой части в зоне наибольших деформаций.
Высота борта определяется как и при гибке (приближенно). Это возможно благодаря тому, что материал утоняется. Наибольшая толщина у края борта определяется выражением (на основе постоянства объема)
S1=So*(Kот)1/2 (20)
Разновидности отбортовки: отбортовка с утонением.
Отбортовка с утонением выполняется для получения более высоких буртов. При отбортовке с утонением одновременно с образованием бурта толщина стенки уменьшается.
Отбортовка наружного контура - это в сущности процесс неглубокой вытяжки. К этому процессу относятся все характерные особенности вытяжки: напряженное состояние, деформации и возможность гофрообразования.
Раздача - представляет собой процесс увеличения периметра поперечного сечения трубчатой исходной заготовки (рис.27).
Наименьшая толщина стенки прближенно определяется выражением
S1=So*(d/d1) (21)
Соотношение Kр=d/d0 называют коэффициентом раздачи, который может достигать величины 1,6 при S/d=0,15 и угле а=20 грд. (рис.27).
Обжим - процесс уменьшения периметра поперечного сечения краевой части полой заготовки (рис.28).
При обжиме в заготовке возникают тангенциальные сжимающие напряжения, в результате чего уменьшается периметр и уменьшается толщина заготовки. Увеличение толщины заготовки у края можно определить из выражения, полученного на основе условия постоянства объема:
S
об=So√(D/d) (22)
В процессе обжима вертикальная часть детали имеет сжимающие напряжения, под действием которых она может получить потерю устойчивости. Для предупреждения потери устойчивости и увеличения коэффициента обжима
Kоб=D/d (23)
применяют подпор наружный, внутренний и одновременно оба.
Коэффициент обжима для мягкой стали:
| без подпора | подпор наружный | подпор внутренний и наружный |
| 0,7-0,75 | 0,55-0,6 | 0,3-0,35 |
Правкой называют операцию, при которой происходит увеличение точности формы детали.
При операциях отрезки или вырубки, гибки и пробивки материал в очаге деформации и вблизи него находится под действием изгибающего момента. Этот изгибающий момент нарушает плоскостность полученных деталей, за счет удлинения волокон на одной и укорочение волокон на другой сторонах детали. Операция правки заключается в том, сделать все волокна одинаковой длины по толщине металла (кроме зон гибки в гнутых деталях. Достигается это на штампах (рис.29). Штампы для правки могут иметь:
плоские (гладкие) плиты,
точечные плиты,
вафельные плиты.
Шаг между выступами точечных и вафельных плит должен быть равен: t=(0,5-0,9)S, давление правки от 50 до 300 мн/м2 (от 5 до 30 кГ/мм2). Плиты должны быть массивными с тем, чтобы при правке они не прогибались.
Комбинированная штамповка.
Для получения производительности труда (в 3-10 раз), уменьшения количества штампов и прессов в месте штамповки по отдельным операциям применяют комбинированную штамповку. Комбинированная штамповка заключается в одновременном выполнении нескольких операций в одном штампе. Существует три способа комбинирования операций холодной штамповки: последовательный, совмещенный и последовательно-совмещенный (рис.30).
Отличие этих вариантов состоит в последовательности и месте выполнения операций. При последовательном способе все операции выполняются одновременно в последовательном штампе на разных позициях, причем число переходов соответствует числу позиций. При совмещенном способе все операции выполняются одновременно в одной и той же позиции штампа совмещенного действия. При последовательно-совмещенном способе для одновременного выполнения всех операций требуется позиций в инструменте меньше, чем операций. Этот способ представляет комбинацию из первых двух.
Для выполнения технологических процессов используется материал в виде полосы или ленты. Использование полосового или ленточного материала позволяет в значительной мере механизировать и автоматизировать процесс штамповки. Ширина полосы при наличии вытяжки в комбинированной штамповке принимается несколько больше, чем это необходимо для получения детали с той целью, чтобы можно было иметь перемычки между отдельными операциями для перемещения всех полуфабрикатов на следующую позицию.
При выполнении формоизменяющих операций в ленте (полосе) часто требуется специальная подготовка ленты (выполнение прорезей, вырубки промежутков) для облегчения процесса деформирования материала.
Выбор способа штамповки определяется рядом факторов:
1.точностью изготовления детали (особенно получения соосности),
2.технической культурой инструментального производства,
3.конструкцией детали и пр.
В зависимости от сложности и размеров детали комбинированная штамповка может быть однорядная и многорядная.
Точность комбинированной штамповки определяется точностью отдельных элементов контура детали и точностью взаимного расположения этих элементов. Точность отдельных контуров детали определяется точностью используемого способа. Точность взаимного расположения отдельных элементов контура определяется способом комбинированной штамповки: при совмещенной штамповке - точностью взаимного расположения пуансонов и матриц; при последовательной - точностью взаимного расположения пуансонов и матриц и точностью оринтеровки (базирования) полуфабриката (заготовок) на каждом переходе, обычно она соответствует 12-14 квалитету.
Штамповка в условиях мелко серийного производства.
При мелкосерийном производстве изготовляют от 3-5 до 20-10000 штук деталей.
Использование в мелкосерийном производстве штампов серийного производства, стоящих до 200-300 руб., экономически невыгодно и увеличивает срок изготовления новых деталей (штамп серийного производства изготовляют ориентировочно один месяц).
Для быстрого освоения новых изделий (опытных образцов) с минимальными производственными затратами в условиях мелкосерийного производства применяют два способа: штамповку на упрощенных штампах и на универсальных штампах.
К штамповке на упрощенных штампах относят штамповку: а) на пинцетных штампах, б) на литых штампах, в) на штампах с использованием полиуретана, взрывчатых веществ, импульсного магнитного поля, взрыва газовых смесей, электрогидравлического эффекта и др.
Пинцетные (листовые) штампы (рис.31) используют как для индивидуальной, так и групповой штамповки деталей. Их применяют для вырубки - пробивки, иногда для гибки, отбортовки, рельефной формовки.
Литые штампы изготовляют из алюминиевоцинковых сплавов и используют для гибочных, вытяжных, формовочных работ. Такие штампы допускают многократное восстановление. Рекомендуют их армировать стальными вставками в наиболее изнашиваемых местах.
Универсальные штампы требуют первоначально больших затрат на изготовление, чем такого же назначения штампы серийного производства; однако они быстро окупаются, так как используются для штамповки большой номенклатуры деталей. По конструктивному оформлению они подобны штампам серийного производства, однако, имеют некоторое отличие.
Универсальные штампы используют для двух видов штамповки: 1)поэлементной и 2)групповой штамповке.
Сущность метода поэлементной штамповки заключается в том, что контур детали, разделенный на простейшие элементы (прямые, кривые, окружности и др.) образуется последовательной штамповкой при помощи набора универсальных штампов, установленных на прессах. Обязательным условием эффективного использования штамповки является нормализация элементом геометрических форм штампуемых деталей.
Последовательность изготовления детали показана на рис.32.
Порядок операций должен так назначаться, чтобы последующие операции не вызывали изменения положения уже изготовленного элемента контура относительно базы.
Точность взаимного расположения элементов контура детали при последовательной штамповке соответствует 12-14 квалитету.
Сущность групповой штамповки состоит в том, что, сгруппированные по технологическим признакам детали (вытяжки, пробивки, и т.д.) обрабатываются на групповых штампах, которые представляют собой штампы состоящие из двух основных частей, блока и комплекта быстросменных наладок. Блок, включающий плиты, направляющие элементы и элементы крепления штампа и зажима наладок, закрепляется постоянно на прессе. Быстросменные наладки, выполняющие функции ориентировки заготовки и формирования детали (вырубки, гибки, вытяжки и т.д.) можно быстро (за несколько минут) заменять и таким образом переналаживать штамп на выполнение другой операции.
0>0>0>0>90>2>2>1>













