KERAM_SV (729016), страница 2
Текст из файла (страница 2)
Измельчение материалов. Исходные материалы, синтезированные химические соединения (иногда и спеченный керамический материал) в виде кусков различных размеров с различными физическими свойствами размельчают механическим путем (дробят и размалывают). Сначала производят грубое дробление на щековых дробилках до размера частиц 10-15 мм. (рис. 2а), а затем среднее до размера частиц 1 мм. и мелкое дробление - на бегунах, валковых и конусных дробилках (рис. 2,б,в) или на конических мельницах (рис. 2,г). Измельченный материал просеивают через металлические сита и пропускают через магнитный сепаратор для отделения ферромагнитных примесей. Частицы, не прошедшие через сита, возвращаются для повторного дробления. Измельченный материал поступает для повторного мелкого помола, обычно совмещаемого со смешиванием компонентов. Часто помол осуществляется с добавлением воды (поэтому его в отличие от сухого называют мокрым или шликерным) в шаровых мельницах (рис. 2,д) а жидкую керамическую массу называют шликером. Шаровая мельница - это вращающийся цилиндрический барабан, футерованный внутри керамическими плитками, по которым перекатываются керамические шары.Работа шаровой мельницы основана на дробящем действии падающих шаров и на истерании шарами зерен метериала. Рекомендуют соотношение материала, шаров и воды 1:2:1. Это обеспечивает наименьшую продолжительность помола.
РИС. 2
Щековая дробилка.
Бегуны.
Валковая дробилка.
Кроме того применяют вибровращательные мельницы (амплитуда колебаний 3 - 4 мм. при частоте вращения до 3000 об./мин.), обеспечивающие меньшее загрязнение измельчаемого материала материалом мелющих тел. Наиболее производительным оборудованием являются аттриторы - шаровые мельницы с неподвижным вертикально расположенным цилиндром, внутри которого расположены стержни, перемещающие вверх измельчаемый материал и шары.
Конусная дробилка.
Шаровая дробилка
Для окисной высококачественной керамики используют более экономически выгодный химический метод получения керамических порошков - метод одновременного осаждения нерастворимых осадков.
Смесь исходных материалов получают: 1) смешиванием тонкодисперсных компонентов; 2) одновременным тонким измельчением и смешиванием исходных компонентов; 3) химическим методом.
Все измельченные керамические массы по технологическим особенностям разделяют на три группы: 1) пластичные массы - материалы, в шихте которых содержится значительное количество глинистых веществ; 2) малопластичные массы - материалы с малым количеством глинистых веществ; 3) непластичные массы - материалы из безглинистой шихты. Состав шихты определяет в значительной мере технологию приготовления массы к формованию. Для обеспечения возможностей бездефектного формирования при подготовке шихты необходимо малопластичные и непластичные массы сделать пластичными. С этой целью в керамическую массу вводят пластифицирующие добавки после выполнения мелкого помола.
Контроль помола и перемешивания. Важной характеристикой помола является равномерность химического состава в единице объема соответствующих компонентов. Распределение компонентов смеси по объему определяется с помощью химического или рентгенографического анализа.
Наибольшее распространение в производстве керамических изделий получили пресс-порошки, литьевые шликеры и пластичные формовочные массы. Эти массы отличаются друг от друга содержанием пластификаторов. При малом содержании пластификаторов 3 - 10% получают пресс-порошки, при 7-20% содержании пластификаторов - пластичные формовочные массы и при большем содержании пластификаторов (до 40%) - литьевые шликеры.
Получение формовочных материалов
Приготовление литейных шликеров. Шликер представляет собой суспензию, состоящую из тонкоизмельченного порошка (твердой фазы) и пластифицирующе-связующих веществ (жидкой фазы). В зависимости от состава и особенностей жидкой фазы различают нетермопластичные, термопластичные шликеры и шликеры на основе каучука.
Жидкой фазой нетермопластичных шликеров является вода и органический растворитель (спирты, четыреххлористый углерод и др.).
Нетермопластичный шликер получают двумя путями: 1) путем раздельного и 2) путем совместного приготовления жидкой и твердой фаз. При раздельном приготовлении фаз в процессе измельчения твердой фазы в порошок добавляют поверхностно-активные вещества (например кремнийорганическую жидкость ГКЖ около 0.05% от массы сухого порошка для предупреждения комкования частиц в процессе помола и после него и сокращения времени помола.Затем приготовляют жидкую фазу воды (которую дистиллируют или конденсируют) или органический растворитель (готовят нужную концентрацию поливинилового спирта, четыреххлористого углерода и др.) и перемешивают жидкую с твердой фазой, одним из указанных способов. При совместном приготовлении жидкой и твердой фазы их подвергают помолу и перемешиванию одновременно в смесителях и мельницах.
Для предотвращения разложения и химического взаимодействия компонентов смеси и др. явлений их подвергают предварительному обжигу.
Приготовление термопластичных шликеров. Исходные элементы - твердую и термопластичную фазу подготавливают раздельно. Подготовка твердой фазы аналогична подготовке твердой фазы для нетермопластичных шликеров. Поверхностно-активные вещества вводят в порошок во время тонкого измельчения до соединения его со связующим. Затем нагревают термопласты до 80 - 90 ОС и при непрерывном перемешивании в него вводят порошок твердой фазы до получения необходимой вязкости шликера. Причем сначала вводят мелкозернистые порошки, а затем крупнозернистые. Порошок твердой фазы перед введением в термопласт нагревают до температуры 150 ОС.
В процессе перемешивания раздельным способом в керамической массе остаются пузырьки воздуха. Для удаления воздушных пузырьков подогретую массу подвергают обработке в вакуумных мешалках, что улучшает литейные свойства и качество керамики.
Качество шликера контролируют по текучести (вязкости), устойчивости, загустеваемости и др. параметрам. Вязкость, величина обратная текучести, определяется вискозиметром по количеству шликера вытекшего через калиброванное отверстие при нормальной и рабочей температурах в определенное время. Загустевание шликера определяют также вискозиметром по отношению времен истечения определенного количества шликера, выдержанного 1 мин., 30 мин. После приготовления. Устойчивость шликера определяется количеством осадка после суточной выдержки.
Приготовление пластичных масс. Эти массы представляют собой тестообразные смеси порошков и пластифицирующих материалов. Пластичная масса содержит твердую и жидкую фазу. Твердую фазу получают после предварительного обжига (синтеза) и измельчения. Жидкой фазой является смесь воды и глинистых материалов или смесь воды и поливинилового спирта и др. Пластичные массы с большим содержанием глинистых материалов приготовляют по шликерной технологии. Шликер в этом случае является исходным полуфабрикатом и последующая обработка его для получения пластичной массы направлена на уменьшение количества в нем жидкой фазы - обезвоживание. Обезвоживание производится путем сушки или механического выжимания на сушильном технологическом оборудовании: фильтр-прессах, мембранных насосах и др. Сушка выполняется в специальных сушильных установках с лампами инфракрасного излучения. В обоих случаях при обезвоживании получают определенную влажность массы. Затем полученную массу обрабатывают на вакуум-прессах с целью выравнивания влажности и удаления воздуха из массы. Пластичные массы, не содержащие глинистых веществ или содержание их в небольшом количестве приготовляют по бесшликерной технологии: смешивают твердую фазу и жидкую фазу в обычных мешалках или мельницах, т.е. раздельно подготавливается твердая и жидкая фазы, а затем смешивание сухого порошка со связкой в смесителе. В заключение выполняется вакуумирование и контроль на влажность, пластическую прочность, однородность. Влажность оценивают отношением массы подготовленной к формованию к массе такого же материала после сушки. Пластическая прочность характеризует величину напряжения, которую выдерживает масса при статической нагрузке. Однородность массы определяют визуально: по появлению расслоений, пор, трещин, изменению цвета подкрашенной массы в разных участках при растяжении.
Приготовление пресс-порошков. Твердой фазой являются порошки, полученные после предварительного обжига (синтеза) и последующего измельчения (грубого, среднего и тонкого). Для прессования эти порошки превращают в более грубодисперсную массу с особыми свойствами, обеспечивающими получение после формования изделия с определенными механическими свойствами. Более крупные частицы получают с помощью объединения мелких частиц связующим веществом (жидкой фазой). Жидкой фазой обычно являются водные растворы и эмульсии поливинилового спирта, карбоксиметилцеллюлозы и т.п.
Для производства пресс-порошка обычно используют шликер либо после операции мокрого помола, либо после частичного обезвоживания. Наилучший способ получения пресс-порошка из шликера это гранулирование и сушка порошка в распылительных сушках, позволяющих изготовлять порошок стабильной гранулометрии и влажности непосредственно из шликера. Процесс сушки протекает быстро (5-30 сек.), легко регулируются, изменяются в необходимом направлении качественные показатели готового продукта. При этом получают пластифицированные пресс-порошки с требуемой влажностью.
Из частично обезвоженной массы пресс-порошок получают путем продавливания этой массы через сита и сушки. Эти процессы выполняют в специальных установках.
-
Формование керамических изделий
Основы процесса формования. Процесс оформления изделий из пластичных керамических масс основан на способности их к пластическому течению без нарушения сплошности под действием внешних сил и сохранении полученной формы.
Свойства пластичности керамической массы придают глинистые материалы (глина, каолины, бентониты) или специальные вещества - пластификаторы. Применение глинистых веществ в приборной керамике ограничено 13-26%, что объясняется нежелательным снижением диэлектрических свойств керамики.
При смачивании водой глинистые материалы образуют тестообразную массу с характерными пластично-эластичными свойствами. В основе этих свойств лежит целый ряд сложных физико-химических явлений.
Пластичные глинистые керамические массы представляют собой сложную систему, состоящую из твердой фазы (мелкодисперсных минеральных компонентов) и жидкой фазы (рис.3). Высокодисперсные системы такого типа образуют сплошные связанные структуры (являются структурированными). Они имеют пространственную сетку, основанную силами сцепления атомов, ионов, молекул или коллоидных частичек. Такие структуры имеют характерные структурно-механические свойства: упругость, прочность, пластичность. Это и дает возможность оформлять изделия механической обработкой. Пластичность и текучесть таких систем объясняется существованием между частичками компонентов твердой фазы прослоек жидкости, обеспечивающих скольжение частичек друг относительно друга и способствующих восстановлению связи после прекращения движения. Частички глинистых материалов керамической массы взаимодействуют с водой в результате чего на их поверхности образуются гидратные оболочки особой структуры с ориентацией молекул воды и необычайно высокой вязкостью. Наиболее прочно с глинистой частичкой связан первый слой (рис. 3 поз. 2 - адсорбционная вода), имеющий плотную упаковку. Дальнейшие слои, обладая определенной подвижностью, образуют диффузионный слой (рис.3 поз.3)., который слабо связан с частичками глинистого вещества. Свободная влага (рис. 3 поз. 6), обусловлена поверхностным натяжением и капиллярным давлением.
РИС. 3
Структура керамической массы.
1-глинистые частицы,2-адсорбированная вода,3-диффузионная вода,4-воздух,5-тве- рдая частица,6-свободная влага.
Безглинистые керамические массы получают пластические свойства при введении в них специальной добавки - пластификатора, которая должна смачивать порошок (обязательное условие). Физико-химические процессы, происхсдящие при образовании пластичной массы из безглинистого минерального порошка, в целом аналогичны таковым для глинистых керамических масс.
Пластичные глинистые массы хорошо формируются (различными способами), а пластичные безглинистые массы формируются плохо (в основном выдавливанием через мундштук).
Способы формования. В производстве наиболее часто формование изделий выполняют следующими способами: прессованием, шликерным литьем, формованием из пластичных масс, прокаткой.
Выбор способа формования определяется техническими, экономическими и технологическими факторами, главными из которых являются форма, размер и точность детали, количество изготовляемых деталей и технологические свойства применяемых масс.
Прессование заключается в получении изделия из сыпучей массы под действием внешнего давления. Различают следующие виды прессования: 1) полусухое изостатическое, 2) мокрое прессование, 3) гидростатическое, 4) горячее.
При прессовании различают ряд стадий процесса. В начальной стадии прессования гранулы порошка свободно перемещаются в направлении движения прессующего пуансона, заполняя крупные поры. Частицы не испытывают заметной деформации. Воздух при этом частичо удаляется.
На второй стадии прессования за счет выжимания связки и пластической деформации увеличивается контакт между частицами. При этом возможно удаление, защемление и сжатие воздуха. На третьей стадии наблюдается упругая деформация частиц. В последнюю стадию частицы хрупко разрушаются и наблюдается наибольшее уплотнение и упрочнение системы.
Отпрессованное изделие при удалении из формы упруго расширяется. Упругое расширение объясняется расширением воздуха, упругими деформациями частиц, расклинивающим действием связки, возвращающейся в межчастичные промежутки. Продольное (в направлении сжатия) расширение составляет 1-8%, поперечное 1.25-0.1продольного. Упругое расширение уменьшает плотность, приводит к возникновению внутренних напряжений и даже трещин.
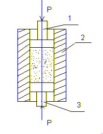
Полусухое статическое прессование. Производится из порошкообразной массы в стальных прессформах на гидравлических прессах. Давление прессования от 30 до 150 мн/м2 (300-1500 кгс/см2). Для уменьшения давления прессования в порошкообразную массу вводят органический пластификатор (связку). Для получения равномерной плотности по высоте применяют двустороннее прессование (рис. 4).















