Kursovaya (728823), страница 2
Текст из файла (страница 2)
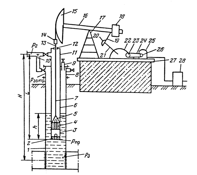
При ходе плунжера вниз всасывающий клапан закрывается, а нагнетательный клапан открывается, и жидкость из цилиндра переходит в подъёмные трубы. При непрерывной работе насоса уровень жидкости в НКТ повышается, жидкость доходит до устья скважины и через тройник переливается в выкидную линию.
-
Эксплуатационная колонна;
-
Всасывающий клапан;
-
Цилиндр насоса;
-
Плунжер;
-
Нагнетательный клапан;
-
Насосно-компрессорные трубы;
-
Насосные штанги;
-
Крестовина;
-
Устьевой патрубок;
-
Обратный клапан для перепуска газа;
-
Тройник;
-
Устьевой сальник;
-
Устьевой шток;
-
Канатная подвеска;
-
Головка балансира;
-
Балансир;
-
Стойка;
-
Балансирный груз;
-
Шатун;
-
Кривошипный груз;
-
Кривошип;
-
Редуктор;
-
Ведомый шкив;
-
Клиноременная передача;
-
Электродвигатель на поворотной салазке;
-
Ведущий шкив;
-
Рама;
-
Блок управления.
Схема штанговой скважинно-насосной установки (УШГН).
рис 1.
Описание работы насоса.
Скважинные штанговые насосы предназначены для откачивания из нефтяных скважин жидкости обводнённостью до 90 %, температурой не более 1300С, содержанием сероводорода не более 50 г/л, минерализирующей воды не более 10 г/л.
Скважинные насосы представляют собой вертикальную конструкцию одинарного действия с неподвижным цилиндром, с подвижным металлическим плунжером и шариковыми клапанами; спускаются в скважину на колонне насосно–компрессорных труб и насосных штанг.
Скважинные насосы изготавливаются следующих типов:
-
НВ1 – вставные с замком наверху;
-
НВ2 – вставные с замком внизу;
-
НН – не вставные без ловителя;
-
НН1 – не вставной с захватным штоком;
-
НН2 – не вставной с ловителем.
Выпускаются насосы следующих конструктивных исполнении:
по конструкции (исполнению) цилиндра:
5 – с толсто стенным цельным (безвтулочным) цилиндром;
С – с составным (втулочным) цилиндром;
по конструктивным особенностям, определяемым функциональным назначением (областью применения):
Т – с полым трубчатым штоком, обеспечивающим подъём жидкостью по каналу колонны трубчатых штанг;
А – со сцепляющим устройством (только для насосов типа «НН»), обеспечивающим сцепление колонны насосных штанг с плунжером насоса;
Д 1 – одноступенчатые, двух плунжерные, обеспечивающие создание гидравлического низа;
Д 2 - одноступенчатые, двух плунжерные, обеспечивающие двухступенчатое сжатие откачиваемой жидкости (насосы исполнении Д 1 и Д 2 – одноступенчатые, одноплунжерные);
по стойкости к среде:
без обозначения – стойкие к среде с содержанием механических примесей до 1,3 г/л (нормальные);
И – стойкие к среде с содержанием механических примесей более 1,3 г/л (абразивостойкие).
В условном обозначении насоса, например НН25А-44-18-15-2, первые две буквы и цифры указывают тип насоса, следующие буквы – исполнение цилиндра и насоса, первые две цифры диаметр насоса, последующие – длину хода плунжера в мм. и напор в метрах, уменьшенные в 100 раз и последняя цифра – группу посадок.
Вставные скважинные насосы закрепляются в насосно-компрессорных трубах на замковой опоре типа ОМ, в условное обозначение, в которое входит: тип опоры; условный размер опоры; номер отраслевого стандарта.
Скважинный штанговый насос – гидравлическая машина объемного типа, где уплотнения между плунжером и цилиндром достигается за счёт высокой прочности их рабочих поверхностей и регламентируемых зазоров. В зависимости от размера зазора (на диаметр) в паре «цилиндр-плунжер» выпускают насосы четырёх групп посадок.
Цилиндры насосов выпускают в двух исполнениях:
ЦБ – цельный (без втулочный), толстостенный;
ЦС – составной из набора втулок, стянутых внутри кожуха переводниками.
В зависимости от назначения и области применения скважинных насосов плунжеры и пары «седло-шарик» клапанов выпускаются различных конструкций, материальных исполнении и различными видами уплотнений их рабочих поверхностей.
Плунжеры насосов выпускают в четырёх исполнениях:
П1Х – с кольцевыми канавками, цилиндрической расточкой на верхнем конце и с хромовым покрытием наружной поверхности;
П2Х – то же, но без цилиндрической расточки на верхнем конце;
П1И – с кольцевыми канавками, цилиндрической расточкой на верхнем конце и упрочнением наружной поверхности напылением износостойкого порошка;
П2И – то же, без цилиндрической расточкой на верхнем конце.
Пары «седло-шарик» клапанов насоса имеют три исполнения:
К – с цилиндрическим седлом и шариком из нержавеющей стали;
КБ – то же, с седлом с буртиком;
КН – с цилиндрическим седлом из твёрдого сплава и шариком из нержавеющей стали.
Конструктивно все скважинные насосы из цилиндра, плунжера, клапанов, замка (для вставных насосов), присоединительных и установочных деталей. При конструкции насосов соблюдается принцип максимально возможной унификации указанных узлов и деталей для удобства замены потребителем изношенных деталей и сокращения номенклатуры потребных запасных частей.
Скважинные насосы исполнения НСВ1 предназначены для откачивания из нефтяных скважин маловязкой жидкости с содержанием механических примесей до 1,3 г/л и свободного газа на приёме насоса не более 10 %.
Насос состоит из составного цилиндра исполнения ЦС, на нижний конец которого навёрнут сдвоенный всасывающий клапан, а на верхний конец – замок, плунжера исполнения П1Х, подвижно расположенного внутри цилиндра, на резьбовые соединения которого навинчены: снизу – сдвоенный нагнетательный клапан, а сверху – клетка плунжера.
Для присоединения плунжера к колонне насосных штанг насос снабжен штоком, навинченным на клетку плунжера и закрепленный контргайкой. В расточке верхнего переводника цилиндра расположен упор, упираясь на который, плунжер обеспечивает срыв скважинного насоса с опоры. Клапаны насосов комплектуются парой «седло-шарик» исполнения КБ или К.
Скважинный насос спускается на колонне насосных штанг в колонну НКТ и закрепляется в опоре.
Принцип работы заключается в следующем. При ходе плунжера вверх в межклапанном пространстве цилиндра создаётся разряжение, за счёт чего открывается всасывающий клапан и происходит заполнение цилиндра. Последующим ходом плунжера вниз межклапанный объём сжимается, за счёт чего открывается нагнетательный клапан и поступившая в цилиндр жидкость перетекает в зону над плунжером. Периодические совершаемые плунжером перемещения вверх и вниз обеспечивают откачку пластовой жидкости и нагнетания ее на поверхность.
Конструктивно скважинные насосы состоят из цельного цилиндра исполнения ЦБ с всасывающим клапаном, навинченным на нижний конец. На всасывающий клапан навинчен упорный ниппель с конусом. На верхнем конце цилиндра расположен защитный клапан, предотвращающий осаждение песка в цилиндре при остановке насоса.
Внутри цилиндра подвижно установлен плунжер исполнения П1Х с нагнетательным клапаном на нижнем конце и клеткой плунжера на верхнем конце. Клапаны насосов комплектуются парой «седло-шарик» исполнения К или КБ. Для присоединения плунжера насоса к колонне насосных штанг насос снабжен штоком, навинченным на клетку плунжера и закреплённый контргайкой.
В расточке верхнего переводника цилиндра расположен упор. Насос спускается в колонну НКТ на колонне насосных штанг и закрепляется в опоре нижней частью при помощи ниппеля упорного с конусом. Такое закрепление насоса позволяет разгрузить от пульсирующих нагрузок. Это обстоятельство обеспечивает применение его на больших глубинах скважин.
Скважинные насосы исполнения НСН1 предназначены для откачивания из малодебитных, относительно неглубоких скважин маловязкой жидкости с содержанием механических примесей до 1,3 г/л и свободного газа до 10 % по объёму.
Конструктивно скважинные насосы состоят из составного цилиндра исполнения ЦС с седлом конуса на нижнем конце, в конусной расточке которого размещен всасывающий клапан. Внутри цилиндра подвижно расположен плунжер исполнения П1Х с навинченным на нижний конец наконечником, а на верхний конец – нагнетательным клапаном.
На всасывающий клапан навинчен захватный шток, располагающийся внутри плунжера.
Насосы диаметром 29, 32 и 44 мм. снабжены штоком для соединения колонны насосных штанг с плунжером, а у насосов диаметром 57 мм плунжер привинчивается к насосным штангам резьбой на нагнетательном клапане.
Длина хода плунжера насосов исполнения НСН1 составляет 900мм.
Принцип работы насоса НСН1 аналогичен принципу насоса НСВ1, однако цилиндр насоса НСН1 спускается на колонне НКТ, а плунжер с клапанами – на колонне насосных штанг. При подъёме штанг головка захватного штока упирается в наконечник плунжера и обеспечивает извлечение соединенного с ним всасывающего клапана для слива из колонны НКТ.
рис 2.
Процесс бурения скважины.
Скважина 890 заложена согласно технологической схемы разработки терригенной пачки нижнего карбона Турнейского пласта Павловского месторождения утверждённой Центральной комиссией по разработке нефтяных месторождений. Скважина пробурена с целью эксплуатации залежей нефти Павловского месторождения Тунейского пласта.
Описание процесса освоения скважинны.
Устье скважин оборудовано арматурой тип.
ЭТГр БЗ 65х140 №419. Арматура опрессована. Герметична.
25 июня 1989 года в скважине проведена кумулятивная перфорация ПКС-80 в интервале 1476,0-1492,0 м.(-1231,5-1247,5) всего сделано 288 отверстий.
В скважину спущены 73 мм. НКТ до глубины стоп – кольца.
Скважина освоена компрессором.
73 мм. НКТ спущено 154 трубы мерой 1458,45м.
В скважине в интервале перфорации сделана соляно – кислотная обработка с сульфатом аммония. За 2 часа, при Р=100 атм. закачено 12 м3. В процессе обработки давления колебалось от 150 до 90 атм. Скважина освоена компрессором. Получена нефть. Силами ЦНИПРА снята кривая восстановления давления до и после кислотной обработки.
29 августа скважина предана НДУ «Чернушканефть».
Павловка Турнейский пласт.
| Рнас (кгс/см2) | 105 |
| Пластовая температура (0С) | 25 |
| Объёмный коэф. нефти (ед.) | 1,101 |
| 9 | |
| 0,824 | |
| Рпл. начал. (кгс/см2) | 154 |
| Газовый фактор | 46 |
| Газосодержание нефти (м3/т) | 46 |
| Пористость (доли ед.) | 0,1 |
| Рзаб. в доб.скважинах | 70 |
| 0,912 | |
| 113,6 | |
| 1,64 | |
| 1,181 | |
| Продуктианость (г/сМПа) | 0,35 |
| Проницаемость (Д) | 0,111 |
| Гидропроводность (МПас) | 1,12 |
| Пьезопроводность (см2/с) | 119 |
| Содержание: Серы (%) | 2,79 |
| Смол (%) | 18,98 |
| Парафина (%) | 3,01 |
3.2 Анализ добывных возможностей
скважин № 890, 893, 894,895, 896.















