135721 (722559), страница 2
Текст из файла (страница 2)
2.2 Схемы включения люминесцентных ламп.
Люминесцентные лампы могут включаться в электрическую сеть по стартерной или бесстартерной схемам зажигания.
При включении ламп со стартерной схемой зажигания (рис. 5) в качестве стартера применяют газоразрядную неоновую лампу с двумя ( подвижными и неподвижными) электродами.
Рис. 5. Стартерное зажигание люминесцентной лампы:
а – схема, б – общий вид стартера; 1 – дроссель, 2 – лампа,
3 – стартер.
Включают люминесцентную лампу в электрическую сеть только последовательно с балластным резистором, ограничивающим рост тока в лампе, и таким образом предохраняющим её от разрушения. В сетях переменного тока в качестве балластного резистора применяют конденсатор или катушку с большим индуктивным сопротивлением – дроссель.
Зажигание люминесцентной лампы происходит следующим образом. При включении лампы между электродами возникает тлеющий разряд, тепло которого нагревает подвижный биметаллический электрод. При нагреве до определенной температуры подвижный электрод стартера, изгибаясь, замыкается с неподвижным, образуя электрическую цепь, по которой протекает ток, необходимый для предварительного подогрева электродов лампы. Подогреваясь, электроды начинают испускать электроны. Во время протекания тока в цепи электродов лампы разряд в стартере прекращается, в результате подвижный электрод стартера остывает и, разгибаясь, возвращается в исходное положение, разрывая электрическую цепь лампы. При разрыве к напряжению сети добавляется ЭДС. Самоиндукции дросселя и возникший в дросселе импульс повышенного напряжения вызывает дуговой разряд в лампе и её зажигание. С возникновением дугового разряда напряжение на электродах лампы и параллельно соединенных с ними электродах стартера снижается на столько, что оказывается недостаточным для возникновения тлеющего разряда между электродами стартера. Если зажигание лампы не произойдет, то на электродах стартера появиться полное напряжение сети и весь процесс повториться.
2.3 Схемы включения ламп ДРЛ.
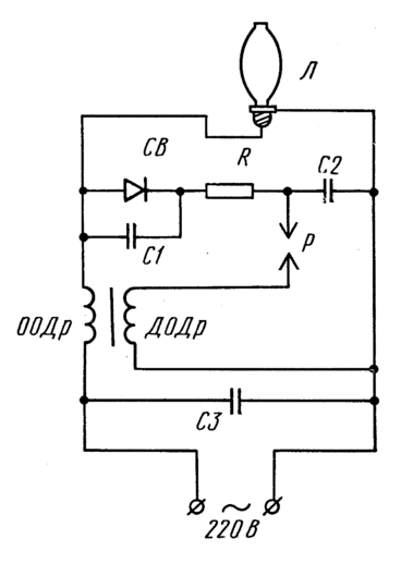
Лампы ДРЛ включают в электрическую сеть переменного тока напряжением 220В. Через поджигающее устройство, при помощи которого осуществляется зажигание лампы импульсом высокого напряжения ( рис. 6)
Поджигающее устройство состоит из разрядника Р, селенового выпрямителя (диода) СВ, зарядного резистора R и конденсаторов С1 и С2. Основная обмотка дросселя в схеме служит для предотвращения резкого возрастания тока в лампе, а так же стабилизации её режима горения.
Зажигание ламп происходит так. При включении лампы ток, проходя через выпрямитель СВ и зарядный резистор R, заряжает конденсатор С2. Когда напряжение на конденсаторе С2 достигнет примерно 220В, происходит пробой воздушного промежутка разрядника Р и конденсатор С2 разряжается на дополнительную обмотку дросселя, в результате чего в основной обмотке дросселя создается повышенное напряжение, импульсом которого и зажигается лампа Л . Для защиты выпрямителя от импульса высокого напряжения служит конденсатор С1, Конденсатор С3 необходим для устранению помех радиоприемнику, создаваемых поджигающим устройством при зажигании лампы.
3.0 Эксплуатация осветительных установок.
Ни одна осветительная установка, как это следует из многочисленных обследований, не может оставаться эффективной, если за ней не будет обеспечен регулярный и хороший уход. Старение ламп и связанное с этим снижение их светового потока, накопление пыли и грязи на отражающих и рассеивающих поверхностях светильников и лампах, а также постепенное ухудшение отражающих свойств поверхностей помещений и оборудования – все это способствует потере светового потока и постепенному уменьшению уровня освещенности.
Старение источников света является неизбежным, степень же загрязнения светильников и поверхностей помещений и оборудования может контролироваться, а при хорошо организованной эксплуатации последствия загрязнения могут быть сведены к минимуму.
Правильная организация эксплуатации осветительных установок должна предусматривать: тщательную приемку осветительных установок после окончания монтажных работ и после капитальных ремонтов, своевременную смену ламп и чистку светильников, планово-предупредительный осмотр и ремонт светильников и электрической сети.
3.1 Замена ламп и чистка светильников.
Сохранность условий освещения, создаваемых осветительной установкой в процессе эксплуатации, зависит от ухода за ней и в значительной степени от своевременности замены источников света и содержания в чистоте осветительных приборов.
Самый простой и, сожалению, наиболее часто применяемый метод замены – это индивидуальный метод замены ламп, когда лампы заменяются по мере сгорания. Недостатком этого является длительное использование потерявших свою эффективность ламп и связанное с этим снижение освещенности, создаваемой осветительной установкой.
Очень важной, необходимой и трудоемкой частью работ по эксплуатации осветительных установок является периодическая очистка колб ламп и отражающих, рассеивающих и других поверхностей и деталей светильников от накопляющейся на них пыли и грязи.
Частота чистки светильников зависит от многих факторов и в первую очередь от среды освещаемого помещения. Так, светильники в цехах металлургического завода нуждаются в большей частоте обслуживания, чем установленные в коридоре больницы. Точно так светильники в шлифовальной мастерской должны чиститься чаще, чем светильники в зале заседания, расположенном в том же здании.
Количество чисток, определенные главой II-А, 9-71 СНиП «Искусственное освещение. Нормы проектирования» по количеству пыли, дыма и копоти, содержащихся в воздушной среде помещений и наружных пространств, указаны в табл.1
Количество чисток светильников.
(табл.1)
| Освещаемые объекты | Кол-во чисток не менее |
| Производственные помещения, в воздушной среде которых содержаться пыль, дым и копоть в количествах: | |
| 10 мг/м3 и более | 2 раза в месяц |
| От 5 до 10 мг/м3 | 1 раз в месяц |
| Не более 5 мг/м3 | 1 раз в 3 месяца |
| Вспомогательные помещения с нормальной воздушной средой и помещения общественных и жилых зданий | 1 раз в 3 месяца |
| Площадки промышленных предприятий, в воздушной среде которых содержаться пыль, дым и копоть в количествах: | |
| Более 5 мг/м3 | 1 раз в 3 месяца |
| До 0,5 мг/м3 | 1 раз в 6 месяцев |
| Улицы, площади, дороги, территории общественных зданий, жилых районов и выставок, парки, бульвары | 1 раз в 6 месяцев |
3.2 Приспособления для обслуживания светильников.
Особые трудности для эксплуатации осветительных установок вызывает обслуживание светильников, как правило, установленных на значительной высоте от пола (земли). Выполнение работ по замене источников света и загрязненных частей, участвующих в образовании светотехнической схемы светильников, зависит от наличия приспособлений или устройств для доступа к ним. Для этой цели в зависимости от высоты установки светильников могут быть использованы : приставные лестницы или стремянки, передвижные и самоходные телескопические и шарнирно-телескопические вышки, спускные устройства, подвесные и мостовые грузоподъемные краны, стационарные светотехнические мостики, автомашины с корзинкой или площадкой на раздвижной телескопической или шарнирно-телескопической вышке.
Приставные лестницы и стремянки. «Правилами технической эксплуатации электроустановок потребителей» обслуживание осветительных установок с этих устройств допускается при высоте подвеса светильников, не превышающей 5м, не менее чем двумя лицами. Длина лестниц и стремянок, должна быть такой, чтобы рабочий мог работать стоя на ступеньке, отстоящей на 1м от верхнего края лестницы, стремянки. Если стремянка имеет площадку – она должна быть ограждена на высоту 1м (рис. 7)
Передвижные, телескопические и шарнирно-телескопические подъемники.
Телескопические подъемники широко и успешно применяются для обслуживания светильников наружного освещения, установленных на опорах или кронштейнах на стенах зданий на высоте 6м и более от уровня земли.
Применение для обслуживания светильников в промышленных зданиях передвижных телескопических подъемников, подобных изображенным на рис.8 и рис.9, малоэффективно. Эти подъемники обеспечивают узкий фронт работ, ограниченный размерами люльки. На подъем и опускание телескопа перед перемещением подъемника вручную с одной рабочей позиции на другую затрачивается большое количество времени. Как и при использовании лестниц и стремянок, светильники должны располагаться так , чтобы технологическое оборудование и выступающие части фундаментов не мешали установке подъемника. Недостатки подъемников такого типа являются причиной их весьма ограниченного применения в промышленности.
4.0 Планово-предупредительный осмотр, проверка и ремонт светильников.
Для обеспечения нормальной работы осветительной установки за ней нужен постоянный надзор. Во время эксплуатации необходимо осуществлять предупредительные периодические осмотры, проверки и ремонты элементов осветительного оборудования. Сроки осмотров и ремонтов устанавливаются службой электрохозяйства предприятия в соответствии с правилами технической эксплуатации в зависимости от среды помещения, особенностей и назначения элементов осветительного оборудования.
Осмотру, ремонту и проверке подлежат светильники, групповые и магистральные щитки, провода, выключатели, переключатели, штепсельные розетки. Рекомендуемые сроки планово-предупредительных осмотров и ремонтов всех перечисленных элементов осветительной установки указаны в табл. 2.
(табл. 2)
Рекомендуемые сроки планово-предупредительных осмотров и ремонтов.
| Объекты осмотра и ремонта. | Для помещений с нормальной средой и для установок наружного освещения. | Для помещений сырых, особо сырых, пыльных, с едкими парами или газами, пожара- или взрывоопасных. |
| Щитки, выключатели, штепсельные розетки, осветительные приборы и др. осветительные установки. | 1 раз в 4 месяца | 1 раз в 2 месяца |
| Те же, но относящиеся к аварийному освещению, за исключением штепсельных розеток. | 1 раз в 2 месяца | 1 раз в месяц |
Осмотром и проверкой светильников должны устанавливаться: наличие, целостность и надежность закрепления рассеивателей, защитных стекол, экранирующих решеток, отражателей, надежность электрических контактов, состояние изоляции зарядных проводов, должны устанавливаться и устраняться возникающие неисправности в светильниках с люминесцентными лампами, причиной которых могут быть лампы, стартеры, ПРА, ошибки в схеме и др.
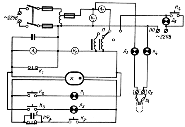
В установках с большим количеством люминесцентных светильников проверку их для обнаружения причин повреждения желательно производить на стенде в ремонтном отделении мастерской.
На стенде должны проверятся лампы и детали светильников, снятые с эксплуатации, и новые перед установкой. Схема такого стенда показана на рис. 10.
Работы по осмотру, проверке и ремонту светильников должны быть приурочены ко времени их чистки. Обнаруженные неисправные или пришедшие в негодность части и детали светильников должны заменяться при ремонте аналогичными новыми. Это, естественно, касается только достаточно легко снимаемых частей светильников, таких, как патроны, рассеиватели, защитные стекла, экранирующие решетки, стартеры, ПРА, уплотняющие прокладки и др. Если пришедшая в негодность часть светильника не может быть заменена, заменяется весь светильник.














