kursovik (722200), страница 2
Текст из файла (страница 2)
Таймер/счетчик микропроцессора обеспечивает периодическую генерацию прерываний.
Последовательные порты (SPORTs) обеспечивают последовательный интерфейс с большинством стандартных последовательных устройств, а также с аппаратными средствами сжатия-восстановления данных, использующими A- и - законы компандирования.
Порт интерфейса с хост-процессором позволяет без дополнительных интерфейсных схем взаимодействовать с главным микропроцессором системы, в качестве которого может использоваться как процессор данного семейства, так и другой микропроцессор, например Motorola 68000 или Intel 8051.
Микропроцессор ADSP – 21msp5x отличается наличием аналогового интерфейса, позволяющего совмещать аналоговую и цифровую обработку. В состав интерфейсных средств входят АЦП, ЦАП, цифровой и аналоговый фильтры, параллельный интерфейс к процессорному ядру.
Система команд микропроцессоров семейства оптимизирована для алгоритмов цифровой обработки сигналов. По системе команд все микропроцессоры совместимы снизу вверх. Совершенствование данного семейства идет в направлении повышения тактовой частоты, снижения энергопотребления и расширения коммуникационных возможностей процессора.
2.2 МИКРОПРОЦЕССОРЫ КОМПАНИИ MOTOROLA
Сигнальные микропроцессоры компании Motorola. Подразделяются на семейства 16- и 24-разрядных микропроцессоров с фиксированной точкой – DSP – 560xx, - 561xx, - 563xx, -566xx, 568xx и микропроцессоры с плавающей точкой – DSP – 960xx.
Рассмотрим 24-х разрядные микропроцессоры с фиксированной точкой семейства DSP 560xx. Эти микропроцессоры являются первыми представителями сигнальных микропроцессоров компании Motorola. Архитектура микропроцессоров ориентирована на максимизацию пропускной способности в приложениях DSP с интенсивным обменом данными. Это обеспечивается благодаря расширяемой архитектуре со сложной встроенной периферией и универсальной подсистеме ввода/вывода. Данные свойства, а также низкое энергопотребление минимизируют сложность, стоимость и сроки разработки прикладных систем на базе микропроцессоров DSP56000/DSP56001.
Микропроцессоры работают на частоте 33МГц и обеспечивают производительность около 16 MIPS, что позволяет выполнять быстрое преобразование Фурье по 1024 отсчетам за 3,23мс.
Дальнейшее развитие семейства микропроцессоров осуществляется в рамках концепции процессорного ядра, общего для всех представителей семейства, в состав которого входят 24-разрядные микропроцессоры с фиксированной точкой.
Процессоры данного семейства характеризуются высокой пропускной способностью, расширенной разрядностью, обеспечивающей высокую точность вычисления и широким динамическим диапазоном обрабатываемых данных, поддержкой энергосберегающего режима работы. Представители семейства отличаются друг от друга конфигурациями памяти и периферийными устройствами.
2.3 МИКРОПРОЦЕССОРЫ КОМПАНИИ TEXAS INSTRUMENTS
Сигнальные микропроцессоры компании Texas Instruments разделяются на два класса: это процессоры для обработки чисел с фиксированной точкой и процессоры для обработки чисел с плавающей точкой. Первый класс представлен тремя семействами процессоров, базовыми моделями которых являются соответственно TMS320.10, .20, .50. Второй класс включает процессоры TMS320.30, . 40, TMS320С80, которые поддерживают операции с плавающей точкой и представляют собой мультипроцессорную систему, выполненную в одном кристалле, а семейство TMS320C6x включает процессоры как с фиксированной, так и с плавающей точкой.
Процессоры старших поколений одного семейства наследует основные архитектурные особенности и совместимы “снизу вверх” по системе команд (чего нельзя сказать о процессорах, входящих в разные семейства).
Перечислим некоторые микропроцессоры, оптимально подходящие для нашей системы.
1.Микропроцессоры семейства TMS320C1x
Первый процесор семейства – TMS320C10 был выпущен в 1982г. и благодаря ряду удачных технических решений получил широкую распространенность.
В основу микропроцессоров данного семейства положена модифицированная Гарвардская архитектура, отличием которой от традиционной Гарвардской архитектуры является возможность обмена данными между памятью программ и памятью данных, что повышает гибкость устройства.
TMS320C10 является 16-разрядным процессором. Его адресное пространство составляет 4K 16-разрядных слов памяти данных. Длительность такта процессора составляет 160-200 нс.
Арифметические функции в процессоре реализованы аппаратно. Он имеет аппаратные умножители, устройство сдвига, аппаратную поддержку автоинкремента/декремента адресных регистров данных.
С внешними устройствами процессор взаимодействует через 8 16-разрядных портов ввода/вывода. Предусмотрена возможность внешнего прерывания.
Остальные микропроцессоры данного семейства имеют аналогичную архитектуру и отличаются длительностью командного такта, конфигурацией памяти, наличием (или отсутствием) дополнительных периферийных устройств.
2.Микропроцессоры семейства TMS320C2x.
Микропроцессоры семейства TMS320C2x имеют анлогичную архитектуру, но обладают повышенной производительностью и более широкими функциональными возможностями. Все процессоры семейства поколения могут использовать по 64K слов памяти программ и данных, имеют 16 16-разрядных портов ввода/вывода и последовательный порт.
Процессоры семейства TMS320C2x имеют возможность использования внешнего контроллера ПДП. Умножитель микропроцессоров, помимо операций умножения, позволяет выполнять за один такт возведение в квадрат. В процессоры включена аппаратная поддержка кратного выполнения команды, реализован режим двоичной инверсно-косвенной адресации, предназначенный для эффективной реализации быстрого преобразования Фурье.
2.4 ОБОСНОВАНИЕ ВЫБРАННОГО ВАРИАНТА
После длительного обзора микропроцесорных устройств, возникла задача выбора наиболее подходящего микропроцессора. Решение данной задачи было найдено при рассмотрении микропроцессоров компании Microchip. Для реализации проекта было принято решение использовать микропроцессор компании Microchip PIC16C711. Приведем преимущества использования данного микропроцессора в курсовой работе, а также общие его характеристики.
PIC16C711 это дешевый, высокопроизводительный, изготовленный по КМОП технологии 8-битный микроконтроллер. В основу процессора положена RISC архитектура, он имеет улучшенные характеристики ядра, внутренние и внешние прерывания. Устройство имеет два двунаправленных порта ввода/вывода, один из которых может быть использован как вход для аналого-цифрового преобразования, другой - как выход для ЦАП. Тактовая частота составляет 20MHz.
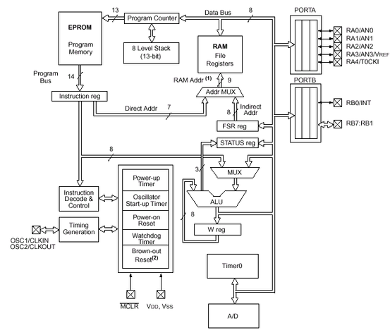
На рисунке 2.1 представлена структурная схема PIC16C711. Перечислим основные элементы схемы: АЛУ (ALU), где выполняются простейшие арифметические операции, а также логические операции; аккумулятор (W), где хранятся данные результатов вычислений; регистр состояния, в котором хранятся флаги результатов операций, а также биты выбора банка памяти; регистр косвенной адресации (FSR), через который непрямым образом можно обращаться к ОЗУ; память (RAM), организованная 8-битными специальными регистрами и регистрами общего назначения, рабочая область пользователя составляет 68x8; 13-битный счетчик команд (Program Counter), младшие 8 бит приходят из регистра PCL, старшие 5 из регистра PCLATH; ППЗУ (EPROM), составляет 1K 14- битных ячеек памяти; стек 8-ми уровневый, длина слова 13-бит, во время прерывания содержимое счетчика команд сохраняется в стек автоматически; два двунаправленных 8-битных порта А и В; 4-х канальный 8-битный АЦП (A/D); счетчик Timer0.
Рис. 2.1 – Структурная схема PIC16C711
К сожалению устройство не имеет внутреннего ЦАП. ЦАП будет внешним, его вход будет подсоединен к порту В. Применение внешнего ЦАП не ухудшит работу цифрового фильтра и не усложнит его структуру, так как ЦАП не нужно синхронизировать с временем выполнения программы, в отличие от АЦП.
Выбранный вариант технического решения полностью удовлетворяет техническому заданию. Микроконтроллер + внешний ЦАП позволяют создать гибкую, высокопроизводительную систему, удовлетворяющую требованиям микроминиатюрности, быстродействия, качества и простоты исполнения. Сравнивая данный микроконтроллер с большинством современных микроконтроллеров, можно сказать, что он обладает сравнительно низкой стоимостью и доступностью на рынке Украины. В современных системах обработки сигналов требуется высокая разрядность шины данных и АЦП для увеличения точности вычислений, также для этих целей необходимо, чтобы АЛУ могло вычислять операции с плавающей точкой. Выбранный микроконтроллер не имеет данных свойств, но он благодаря своему быстродействию и гибкости может вполне справиться с целью, поставленной в техническом задании на курсовой проект.
Архитектура процессора построена таким образом, что он способен выполнять команду за один цикл, кроме операций условных и безусловных переходов. Это означает, что время выполнения программы будет небольшим, и частота дискретизации АЦП будет удовлетворять условию обработки сигналов качественной телефонии. Ассемблер очень простой: пользователю необходимо выучить 35 команд. Последнее достоинство позволяет снизить время на подготовку к выполнению проекта.
3 СИНТЕЗ ПРОЕКТИРУЕМОГО УСТРОЙСТВА
Структурная схема типа реализации ЦФ приведена на рис.3.1. Параметры звеньев ЦФ следующие :
Рис. 3.1 – Структурная схема цифрового фильтра
Исходя из этой структуры, а также коэффициентов, для каждого звена составим разностные уравнения:
-
первое звено:
-
второе звено:
-
третье звено:
Результирующее разностное уравнение для цифрового фильтра будет иметь вид:
4 РАЗРАБОТКА АЛГОРИТМА ПРОГРАММЫ
ПРОЕКТИРУЕМОГО УСТРОЙСТВА
Прежде чем приступить к программированию устройства необходимо основательно изучить его внутреннюю структуру и возможности ресурсов. Простейшая блок-схема проектируемого устройства приведена на рисунке 4.1 В ней учтены конфигурация портов и АЦП, вычисление разностного уравнения фильтра, результат вычислений выдается на порт В.















