kursovik (722097), страница 5
Текст из файла (страница 5)
В качестве гетеродина выберем схему, устойчиво генерирующую на частотах от 50 до 2500 МГц. Причем изменяются только элементы контура и связи [11]. Принципиальная электрическая схема представлена на Рисунок 21.
Рисунок 21 Универсальный гетеродин широкого применения
Для плавной перестройки частоты нам необходимо менять номиналы элементов контура и связи, для этого индуктивность L1 оставим постоянной (20 мм линия d = 1.5 мм), а емкость C1, C2 сделаем переменной и вынесем их на печатную плату. Выходное сопротивление гетеродина будем считать равным 50Ом, что позволяет соединения гетеродин и смеситель без внешнего согласующего звена.
Схема задержки
В качестве схемы задержки можно выбрать схему [9] представленную на Рисунок 22. Время задержки регулируется постоянной времени RC-цепи, поэтому для регулировки время задержки резистор R1 сделаем переменным.
Рисунок 22 Схема задержки
Для выполнения данной схемы выберем микросхему К155ЛА8 (4 элемента 2И-НЕ), тип корпуса 201.14-1, напряжение питания 14 - ножка составляет 6.3 В.
Разработка конструкции передатчика
Разработка конструкции РПдУ заключается в разработке общей компоновки всех деталей его принципиальной схемы в пределах объема выбранного корпуса. Особенностью рассматриваемого передатчика является высокая частота работы. Это означает, что размеры элементов СВЧ-тракта должны быть намного меньше длины волны
, для элементов с сосредоточенными параметрами. Выполнить условие можно, при микроминиатюрном исполнении в виде ГИС. Использование ГИС является необходимым, также по причине реактивного параметра выводов и соединительных проводников между дискретными элементами сильно влияющих на работе устройства. В интегральном исполнении же указанные параметры близки к нулю.
Прежде чем приступить к формированию конструкции, необходимо определить геометрические параметры используемых элементов. Произведем расчет пленочных элементов, исполняемых на ГИС.
Пленочные элементы
Элементы СВЧ-тракта, исходя из выше сказанного, будут выполнены в виде пленок на подложке (габариты элементов недолжны превышать
, что составляет
).
Так как необходимо создание и индуктивностей, и емкостей, то для формирования элементов будем использовать толстопленочную технологию. Толстопленочная технология позволяет реализовывать и извилистую, и многослойную структуру. Современные технологии [6] позволяют получить элементы толщиной менее 10 мкм, при минимальной ширине 25 мкм.
Толстопленочные индуктивности
Для расчета индуктивности в пленочном исполнении можно воспользоваться методикой предложенной в [4]. В формулах все линейные размеры катушек выражаются в [мм], а индуктивность в [нГн].
Таблица 4
|
|
|
Рисунок 23 Катушки: одновитковая 0.5-4 нГн, спиральная квадратной формы до 100 нГн.
Воспользовавшись данными из Таблица 4 и Рисунок 23 при
,
и
, рассчитаем значения параметров индуктивностей СВЧ-тракта:
Таблица 5
| Поз. обоз. | тип | Параметры |
| L2 | Одн. | |
| L3 | Спир. | |
| L4 | Спир. | |
| L5 | Одн. | |
| L6 | Спир. | |
| L7 | Спир. | |
| L8 | Одн. |
Толстопленочные емкости
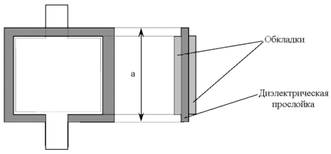
Толстопленочные емкости разумно выполнить в виде трехслойной пленочной структуры металл-диэлектрик-металл, изображенной на Рисунок 24. Такие конденсаторы могут обладать емкостью до нескольких сотен пФ.
Рисунок 24 Конфигурация конденсатора в пленочном исполнении
Расчет данных элементов начинается с выбора диэлектрика и определения его минимальной толщины (из соображений электрической прочности) по формуле:
где
– рабочее напряжение между обкладками конденсатора, [В];
- пробивная напряженность электрического поля, [В/мм]; N – коэффициент запаса (0.5 0.7).
Рабочее напряжение между обкладками конденсатора будем считать, что не превышает
. В качестве диэлектрика возьмем SiO, обладающего следующими параметрами [4]:
,
. Коэффициент запаса возьмем равным
. Тогда толщина диэлектрической пленки, [мм]:
выбранная нами технология не позволяет делать такие толщины, поэтому толщину диэлектрика и металлической обкладки возьмем равным
.
Требуемую площадь перекрытия обкладок конденсатора можно рассчитать по выражению:
где a – стороны обкладки конденсатора [мм], C – [пФ], S – [мм2]. Результаты расчетов, приведены Таблица 6.
Таблица 6
| C4 = 4.65 пФ | C6 = 10 пФ | C7 = 7.78 пФ | C8 = 40 пФ | C9 = 103 пФ | C10 = 2.04 пФ | C11 = 8.7 пФ | |
| S, мм2 | 0.88 | 1.89 | 1.47 | 7.54 | 19.42 | 0.38 | 1.64 |
| a, мм | 0.94 | 1.38 | 1.21 | 2.75 | 4.41 | 0.62 | 1.28 |
Контактные площадки на МСБ
Размеры контактных площадок для выводов микросхем будут определяться типом монтажного соединения. Для крепления выводов на подложке наиболее рационально использовать сварку. Это обуславливается тем, что выводы микросхемы, как правило, выполняются из золота, которое способно растворяться в некоторых припоях, используемых при пайке. Средние размеры контактных площадок при указанном типе монтажа 0.2 x 0.3.
Помимо упомянутых в данном пункте контактных площадок, называемых внутренними, на МСБ будут располагаться еще контактные площадки, предназначенных для ее соединения с внешним оборудованием. Такие площадки называются внешними и имеют размер 1x1.
Разработка топологии МСБ
МСБ будет включать в себя усилитель мощности и смеситель, остальное предназначено для навесного монтажа. При разработке топологии будем руководствоваться следующими принципами:
-
длина соединительных проводников должна быть минимальна, для сокращения величин паразитных реактивностей;
-
соединительные проводники должны иметь минимально извилистую конфигурацию;
-
избегать по возможности пересечения проводников;
-
выход и вход схемы должны быть пространственно разнесены;
-
ширина проводников должна быть такой, чтобы они имели малую индуктивность.
Топология МСБ представлена на 04419.М1.001. В качестве подложки можно использовать ситалловую (СТ50-1 ОСТ 11.094.022-75) пластину стандартных размеров 20мм x 32 мм (толщиной 0.5 мм). Для защиты МСБ от внешних воздействий ее необходимо поместить в металлостеклянный корпус 157.29-1.
Компоновка корпуса
Разработанную и выбранную элементную базу можно смонтировать на печатной плате из стеклотекстолита размером 150 мм x 120 мм [6] в соответствии с принципиальной схемой передатчика помех. Разрабатываемый передатчик предназначен для использования на борту самолета, поэтому его корпус выберем на основании соответствующей БНК [6]. Габариты корпуса 170 мм x 150 мм x 70 мм. Сборочный чертеж представлен на 04419.ПП1.00 СБ.
Описание устройства
Разработанное устройство отвечает всем требованиям ТЗ без ограничений. Для управления передатчиком помех необходим оператор, который будет регулировать несущую частоту и время задержки сигнала в пределах заданного.
Список литературы
-
«Методические указания к курсовому проектированию радиопередающих устройств», Н. С. Давыдова. – М.: Изд-во МАИ, 1991 г.
-
Давыдова Н. С., «Информационное подавление радиоэлектронных систем. Активные помехи, передатчики и станции активных помех». Учебное пособие. – М.: Изд-во МАИ, 2002 г.
-
Грановская Р. А., «Расчет каскадов радиопередающих устройств». Учебное пособие. – М.: Изд-во МАИ, 1993 г.
-
Р. А. Грановская, С. Б. Петров, «Проектирование СВЧ-цепей транзисторных генераторов с внешним возбуждением, выполненных в виде гибридных интегральных схем». Пособие по курсовому проектированию радиопередающих устройств СВЧ. – М.: Изд-во МАИ, 1976 г.
-
«Антенны и устройства СВЧ», под ред. Д. И. Воскресенского и др., - М., 1999 г.
-
Борисов В. Ф., Мухин А. А., Чермошенский В. В. и др. Основы конструирования и технологии РЭС: Учебное пособие для курсового проектирования. – М.: МАИ, 2000 г.
-
Кийко Г. И., Либ Ю. Н. Исследование широкополосного транзисторного усилителя мощности с распределенными параметрами. – В сб. «Полупроводниковые приборы в технике электросвязи», вып. 15, «Связь», 1975 г., стр. 19-26.
-
Грей П., Грэхем Р. «Радиопередатчики». Связь, 1965 г., стр. 116-123.
-
Мощные полупроводниковые приборы. Транзисторы: справочник / Б. А. Бороздин, В. М. Ломакин, В. В. Мокряков и др.: под ред. А. В. Голомедова. –М.: Радио и связь, 1985 г.
-
http://mxs.tlk.ru
-
http://shustikov.by.ru















