AvtPriv (721875), страница 3
Текст из файла (страница 3)
Выбираем трансформатор типа ТСП (или ТСЗП), трехфазный, двухобмоточный, сухой с естественным воздушным охлаждением, открытого исполнения [2, таб. 3.1]
Таблица 3
Данные выбранного трансформатора
| Параметр | Значение |
| Тип трансформатора | ТСЗП-250/0,7 |
| Способ соединения первичной и вторичной обмоток | Звезда - звезда |
| Номинальная мощность | SТ = 235 кВА |
| Номинальное линейное напряжение первичных обмоток | U1N = 380 В |
| Номинальное линейное напряжение вторичных обмоток | U2N = 208 В |
| Номинальный линейный ток вторичных обмоток | I2N = 635 В |
| Потери КЗ | РК = 3800 Вт |
| Относительно напряжение короткого замыкания | uK = 4,5% |
Рассчитываем параметры трансформатора:
Коэффициент трансформации:
Номинальный линейный ток первичных обмоток:
Активное сопротивление обмоток одной фазы трансформатора:
Активная составляющая напряжения короткого замыкания:
Реактивная составляющая напряжения короткого замыкания:
Индуктивное сопротивление обмоток одной фазы трансформатора:
Индуктивность фазы трансформатора:
Ωс - угловая частота сети (
).
4.3выбор сглаживающего реактора
Сглаживающий редактор включается в цепь выпрямленного тока с целью уменьшения его переменной составляющей. Пульсации выпрямленного тока должны быть ограничены на уровне допустимого значения для выбранного двигателя.
ЭДС преобразователя при угле управления α = 0:
Минимальная суммарная (эквивалентная) индуктивность якорной цепи по условию ограничения пульсаций выпрямленного тока:
kU - коэффициент пульсаций напряжения (для трехфазной мостовой схемы принимаем kU =0,13),
р - пульсность преобразователя (для мостовой трехфазной схемы р = 6)
Расчетная индуктивность сглаживающего реактора:
Так как расчетная индуктивность оказалась отрицательной, сглаживающий реактор не требуется. Собственной индуктивности якорной цепи достаточно для ограничения пульсаций тока.
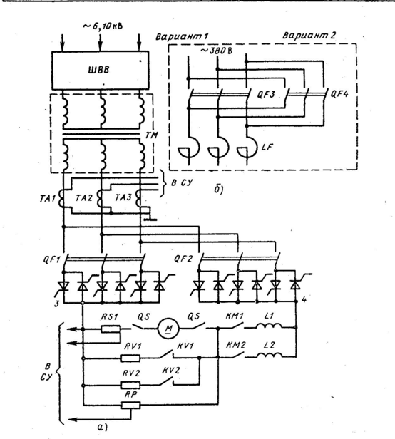
4.4принципиальная электрическая схема силовой части
П
ринципиальная схема выбирается по [4]. Для номинального тока Iном = 800 А выбираем схему, приведенную на рис. 1.3 [4]:
Н
Рисунок 5
Силовая часть однодвигательного электропривода серии КТЭУ, Iном = 800 А.
а рисунке 5 приведена схема силовой части электропривода с номинальным током 800, 1000 А при напряжении 220, 440 В. Защитные автоматические выключатели QF1, QF2 установлены последовательно с тиристорами. Для неоперативного отключения электродвигателя от тиристорного преобразователя (ТП) используется рубильник QS. Силовой трансформатор ТМ присоединяется к высоковольтной сети 6 или 10 кВ через шкаф высоковольтного ввода (ШВВ). При напряжении питания 380 В ТП подключается к сети через анодные реакторы LF и автоматические выключатели QF3, QF4.
5МАТЕМАТИЧЕСКАЯ МОДЕЛЬ СИЛОВОЙ ЧАСТИ ЭЛЕКТРОПРИВОДА
5.1РАСЧЕТ ЭКВИВАЛЕНТНЫХ ПАРАМЕТРОВ СИСТЕМЫ
Э
Рисунок 6
Полная расчетная схема системы ТП-Д.
лектрическую часть системы ТП-Д можно представить в виде следующей полной расчетной схемы:
О
т полной схемы можно перейти к эквивалентной схеме, где все индуктивности объединяются в одну эквивалентную индуктивность LЭ, а все активные сопротивления в одно эквивалентное сопротивление RЭ.
Определим эквивалентные параметры ТП-Д.
Фиктивное активное сопротивление преобразователя обусловленное коммутацией тиристоров:
Эквивалентное сопротивление якорной цепи:
Эквивалентная индуктивность якорной цепи:
Электромагнитная постоянная времени якорной цепи:
К
оэффициент зователя:
Uy max = 10 В - максимальное напряжение управления СИФУ.
5.2Переход к системе относительных единиц
Для дальнейших расчетов все параметры и переменные системы представим в относительных единицах. Общая формула перехода к относительным единицам имеет вид:
y - значение величины в системе относительных единиц;
Y - значение физической величины в исходной системе единиц;
Yб - базисное значение, выраженное в той же системе единиц, что и величина Y.
Принимаем базисные величины:
Базисное напряжение для силовой части:
Базисный ток для силовой части:
Базисная скорость:
Базисный момент:
Базисное напряжение для системы регулирования (принято):
Базисный ток для системы регулирования (принято):
Базисное сопротивление для системы регулирования:
Далее используем следующие переменные в относительных единицах (о.е.):
Напряжение управления преобразователя в о.е.:
ЭДС преобразователя в о.е.:
ЭДС якоря двигателя в о.е.:
Ток якоря в о.е.:
Момент статического сопротивления в о.е.:
Скорость двигателя в о.е.:
Определим параметры объекта управления в о.е.
Эквивалентное сопротивление якорной цепи в о.е.:
Коэффициент преобразователя в о.е.:
Механическая постоянная времени:
Электромеханическая постоянная времени:
φ - магнитный поток в о.е. (при однозонном регулировании скорости φ = 1).
5.3структурная схема объекта управления
На структурной схеме объекта управления (рис. 8) представлены следующие звенья:
ТП - тиристорный преобразователь (безынерционное звено);
ЯЦ - якорная цепь двигателя (апериодическое звено с постоянной времени Тэ);
МЧ - механическая часть привода (интегрирующее звено с постоянной времени Тj).
В
объекте присутствует внутренняя обратная связь по скорости. На объект управления воздействуют напряжение управления ТП (управляющее воздействие) и момент сопротивления (возмущающее воздействие). Звено умножения на поток связывает переменные электрической и механической части привода.
6ВЫБОР ТИПА СИСТЕМЫ РЕГУЛИРОВАНИЯ СКОРОСТИ
в настоящее время в электроприводе при создании системы автоматического управления нашел применение принцип подчиненного регулирования с последовательной коррекцией.
С
истемы подчиненного регулирования выполняются по определенной многоконтурной структуре (см. рис. 9).
С
Рисунок 9
Структурная схема СПР
ущность построения таких систем заключается в следующем:
-
объект управления представляется в виде цепочки последовательно соединенных звеньев с передаточными функциями W01(p), W02(p), …, W0i-1(p), W0i(p), выходными параметрами которых являются контролируемые координаты объекта: напряжение, ток, скорость и т.д.
-
Количество регуляторов с передаточными функциями Wр1(p), Wр2(p), …, Wрi(р) в СПР устанавливается равным количеству регулируемых величин. Все регуляторы соединяются последовательно, так что выход одного является входом другого. Кроме того на вход каждого регулятора подается отрицательная обратная связь по той переменной, которая регулируется данным регулятором. В результате этого в системе образуются как бы вложенные друг в друга контуры регулирования. Таким образом, число контуров регулирования равно количеству регулируемых координат объекта.
-
Каждый внутренний контур управления подчинен следующему по порядку внешнему контуру, т.е. выходной сигнал регулятора любого внешнего контура является задающим для последующего, заключенного в него, контура. В итоге все внутренние контуры работают как подчиненные задаче регулирования выходной координаты системы.
-
Ограничение любой координаты достигается ограничением ее задания, т.е. выходного сигнала регулятора, внешнего по отношению к рассматриваемому контуру.
-
На выходе регулирующей части системы управления устанавливается фильтр. Постоянная времени Тμ этого фильтра является основным параметром системы авторегулирования и определяет важнейшие свойства системы.
-
Синтез регуляторов СПР осуществляется методом последовательной коррекции (начиная с внутреннего контура и кончая внешним). Практически при выборе передаточной функции регулятора Wpi(p) i-го контура стремятся решить две основные задачи:
-
обеспечить за счет действия регулятора компенсацию наиболее существенных инерционностей объекта, входящих в данных контур, и тем самым улучшить быстродействие системы;
-
обеспечить определенный порядок астатизма данного контура за счет введения в регулятор интегрирующего звена.
Передаточная функция регулятора i-го контура будет иметь вид:















