125865 (717673), страница 2
Текст из файла (страница 2)
Рис. 3.4 Роторная дробилка
В подготовительных производствах используют дробилки среднего и крупного дробления с диаметром роторов от 500 до 1000 мм, которые предназначены для измельчения материала с первоначальным размером кусков 0,1—0,2D (среднее дробление) и до 0,Ш (мелкое дробление). Роторные дробилки применяют для измельчения высокопрочных материалов малой и средней абразивности, причем в некоторых конструкциях возможно одновременное отделение пылевидных частиц, подсушивание и фракционирование полученного измельченного материала.
Струйные мельницы
Измельчение частиц материала в струйных мельницах происходит при их движении в высокоскоростном газовом потоке внутри рабочей камеры за счет истирания частиц при их соударениях друг с другом и со стенками камеры. Такое оборудование используют для измельчения полимеров, красителей и пигментов до частиц размером в несколько микрометров. Предварительно материал измельчается до размера частиц 0,1—0,5 мм на каком-либо другом оборудовании.
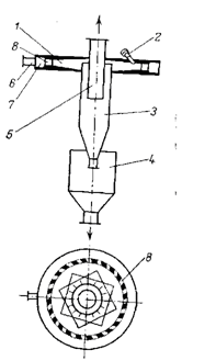
Струйные мельницы по конструктивным признакам подразделяют на мельницы с горизонтальной и вертикальной размольной камерой. В мельнице с горизонтальной камерой (рис. 3.5) предварительно измельченный материал подается в камеру 1 через штуцер 2 и расположенные по периферии камеры окна, так что направление его движения оказывается тангенциальным к внутренней поверхности камеры.
Рис. 3.5
Одновременно в камеру через штуцер 6, распределительное кольцо 7 и сопла 8 поступает под давлением газ или водяной пар. Сопла в камере установлены таким образом, что струи поступающего через них газа подхватывают измельчаемый материал и вовлекают его в круговое движение по концентрическим траекториям со скоростью 150—200 м/с. Измельчение происходит за счет соударения частиц, двигающихся с различными скоростями в центральном (большая скорость) и пристенном (меньшая скорость) слоях.
Частицы большого размера центробежной силой отбрасываются к периферии, где они подвергаются дальнейшему измельчению. Частицы меньших размеров увлекаются газовым потоком к центру камеры и после прохождения сепаратора 3, в котором отделяются более крупные частицы, через выводной патрубок 5 подаются на отделение тонкой фракции в мокром мешочном фильтре или водяном скруббере, Отсеявшиеся более крупные частицы поступают в сборник 4.
Диаметр камеры измельчения 1 может составлять от 50 до 1000 мм.
В качестве рабочего газа чаще всего используют сжатый воздух при давлении до 0,75 МПа и температуре от 50 до 500 °С. Расход сжатого воздуха при давлении 0,7 МПа на 1 кг готового продукта составляет 4—12 м3. Обычно размер частиц измельченного продукта не превышает 0,02 мм.
Производительность струйных мельниц с горизонтальной камерой составляет от 0,25 (для лабораторных мельниц) до 3000 кг/ч. Качество измельчения, его однородность и производительность мельницы определяются давлением и температурой газа.
















