125780 (717655), страница 2
Текст из файла (страница 2)
Итак, для нахождения внутренних усилий необходимо:
-
разрезать стержень или систему стержней;
-
отбросить одну часть;
-
приложить в сечении усилия, способные уравновесить внешние силы, действующие на отсеченную часть;
-
найти значения усилий из уравнений равновесия, составленных для отсеченной части.
В частном случае в поперечном сечении стержня могут возникать:
-
Только продольная сила N. Этот случай нагружения называется растяжением (если сила N направлена от сечения) или сжатием (если продольная сила направлена к сечению).
-
Только поперечная сила Qx или Qy. Это — случай сдвига.
-
Только крутящий момент Мк. Это — случай кручения.
-
Только изгибающий момент Мх или My. Это — случай изгиба.
-
Несколько усилий, например изгибающий и крутящий моменты. Это — случаи сложных деформаций (или сложного сопротивления), которые будут рассмотрены в конце курса.
Если число неизвестных усилий равно числу уравнений равновесия, задача называется статически определимой, если же число неизвестных усилий больше числа уравнений равновесия — статически неопределимой.
Для статически неопределимых задач, кроме уравнений равновесия, необходимо использовать еще дополнительные уравнения, рассматривая деформации системы.
НАПРЯЖЕНИЯ
Было отмечено, что в поперечном сечении стержня действуют не сосредоточенные внутренние усилия N, Q, Мк и т. д., а непрерывно распределенные силы, интенсивность которых может быть различной в разных точках сечения и в разном направлении.
Как же измерить интенсивность внутренних сил в данной точке данного сечения, например в точке А (рис. 1.10)?
Выделим вокруг точки A малую площадку
F. Пусть
R— равнодействующая внутренних сил, действующих на эту площадку.
Тогда средняя величина внутренних сил, приходящихся на единицу площади рассматриваемой площадки
F, будет равна
(1)
Величина
называется средним напряжением. Она характеризует среднюю интенсивность внутренних сил. Уменьшая размеры площадки, в пределе получим
(2)
Величина р называется истинным напряжением, или просто напряжением, в данной точке данного сечения.
Упрощенно можно сказать, что напряжением называется внутренняя сила, приходящаяся на единицу площади в данной точке данного сечения.
Как видно из формул (1.1) и (1.2), размерность напряжения
.
В системе МКГСС единица измерения напряжения — кГ/м2. На практике обычно применяются внесистемные единицы измерения кГ/см2 или кГ/мм2.
Полное напряжение р можно разложить на две составляющие (рис. 1.11, а):
1) составляющую, нормальную к плоскости сечения. Эта составляющая обозначается буквой σ и называется нормальным напряжением;
2) составляющую, лежащую в плоскости сечения. Эта составляющая обозначается буквой τ и называется касательным напряжением. Касательное напряжение в зависимости от действующих сил может иметь любое направление в плоскости сечения. Для удобства т представляют в виде двух составляющих по направлению координатных осей (рис. 1.11, б).
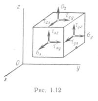
Принятые обозначения напряжений показаны на рис. 1.11, б.
У нормального напряжения ставится индекс, указывающий, какой координатной оси параллельно данное напряжение. Растягивающее нормальное напряжение считают положительным, сжимающее — отрицательным. Обозначения касательных напряжений снабжены двумя индексами: первый из них указывает, какой оси параллельна нормаль к площадке действия данного напряжения, а второй — какой оси параллельно само напряжение.
Разложение полного напряжения на нормальное и касательное имеет определенный физический смысл. Нормальное напряжение возникает, когда частицы материала стремятся отдалиться друг от друга или, наоборот, сблизиться. Касательные напряжения связаны со сдвигом частиц материала по плоскости рассматриваемого сечения.
Если мысленно вырезать вокруг какой-нибудь точки тела элемент в виде бесконечно малого кубика, то по его граням в общем случае будут действовать напряжения, представленные на рис. 1.12.
Совокупность напряжений на всех элементарных площадках, которые можно провести через какую-либо точку тела, называется напряженным состоянием
в данной точке.
Если по граням кубика действуют одни только нормальные напряжения, то они называются главными, а площадки, на которых они действуют, называются главными площадками.
В теории упругости доказывается, что в каждой точке напряженного тела существуют три главные (взаимно перпендикулярные) площадки.
Главные напряжения обозначают σ1, σ2 и σ3. При этом большее (с учетом знака) главное напряжение обозначается σ1, а меньшее (с учетом знака) обозначается σ2.
Различные виды напряженного состояния классифицируются в зависимости от числа возникающих главных напряжений.
Если отличны от нуля все три главных напряжения, то напряженное состояние называется трехосным, или объемным (рис. 1.13).
Если равно нулю одно из главных напряжений, то напряженное состояние называется двухосным, или плоским.
Если равны нулю два главных напряжения, то напряженное состояние называется одноосным, или линейным.
Зная напряженное состояние в любой точке детали, можно оценить прочность этой детали.
В простейших случаях оценка прочности элементов конструкций производится или по наибольшему нормальному напряжению, или по наибольшему касательному напряжению (расчет на сдвиг), так что условие прочности записывается в виде
(3)
где [
] и [τ]— допускаемые значения нормального и касательного напряжений, зависящие от материала и условий работы рассчитываемого элемента.
Величины [
] и [τ] выбираются с таким расчетом, чтобы была обеспечена нормальная эксплуатация конструкции (см. § 12).
В более сложных случаях оценка прочности производится по приведенному напряжению, в соответствии с той или иной гипотезой прочности.
ЛИТЕРАТУРА
| № п\п | Названия | Год издания |
| ОСНОВНАЯ | ||
| 1 | Феодосьев В.И. Сопротивление материалов. | 2006 |
| 2 | Беляев Н.М. Сопротивление материалов. | 2006 |
| 3 | Красковский Е.Я., Дружинин Ю.А., Филатова Е.М. Расчет и конструирование механизмов приборов и вычислительных систем. | 2001 |
| 4 | Работнов Ю.Н. Механика деформируемого твердого тела. | 1999 |
| 5 | Степин П.А. Сопротивление материалов. | 1990 |















