125737 (717640), страница 2
Текст из файла (страница 2)
t эксплуатации: до +400 °С
Упаковка: бухта 8 – 10 кг.
рабочая среда: газ при давлении до 0,1 МПа
2. Технология производства асбестовых шнуров
Асбестовые шнуры изготавливаются в соответствии с требованиями ГОСТа 1779-83. Настоящий Государственный Стандарт распространяется на асбестовые шнуры, применяемые для теплоизоляции и уплотнения неподвижных деталей машин и аппаратов.
По технологии производства шнуры теплоизоляционные можно разделить на следующие виды:
1. Цельные – это шнуры, изготовленные непосредственно из холста, снятого с приемного барабана.
2. Комковые – эти шнуры изготавливаются на основе нарезанных полос из матов прошивных.
Технология производства шнура влияет на следующие параметры:
1. Равномерная плотность
2. Прочностные характеристики
3. Теплосберегающие свойства
«Цельные» теплоизоляционные шнуры обладают равномерной по всей длине плотностью. Благодаря этому, значение коэффициента теплопроводности одинаково по всей длине шнура, а соответственно теплосберегающие свойства стабильны.
Благодаря равномерной плотности прочностные характеристики шнура улучшаются, не существует разломов при сгибе.
«Комковые» шнуры обладают неравномерной плотностью, что ухудшает теплофизические свойства в целом, так как значение коэффициента теплопроводности меняется в зависимости от плотности. Ухудшаются прочностные характеристики, изделие становится легким на разрыв.
Плотность оплетки
По плотности оплетки теплоизоляционный шнур можно разделить на:
1. Шнур с высокой плотностью оплетки (>10 витков на 10см)
2. Шнур со средней плотностью оплетки (8-10 витков на 10 см)
3. Шнур с низкой плотностью оплетки (<8 витков на 10 см)
Плотность оплетки, а именно количество витков на единицу длины, влияет на прочностные и эксплуатационные характеристики шнура теплоизоляционного. Чем больше количество витков (чем они чаще), тем больше плотность оплетки, тем лучше эксплутационные и прочностные характеристики - шнур не ломается, не рассыпается и имеет высокую прочность на изгиб. Такой шнур базальтовый теплоизоляционный невозможно разорвать вручную, но при необходимости его можно разрезать.
5 см 5 см
Рис.5 Плотность оплетки
Способ оплетки шнура
По способу оплетки теплоизоляционные шнуры можно разделить на следующие виды:
1. Шнур с гладким плетением (Рис.6)
Рис. 6
2. Шнур с перекрестным плетением (Рис.7)
Рис. 7
Способ оплетки также влияет на показатель «прочность на изгиб». Это особенно важно, так как основная область применения шнура – это теплоизоляция сложных по конфигурации участков трубопроводов, а также трубопроводов с диаметром до 50мм, где приходится очень часто и много «изламывать» шнур. В подобном состоянии не должна нарушаться плотность оплетки теплоизоляционного шнура. При использовании перекрестного плетения, получаемые витки не сползают и структура оплетки не нарушается. Таким образом, теплоизоляционный шнур не «заламывается», то есть сохраняет на изгибе первоначальную плотность, не крошится и не осыпается, сохраняя, таким образом, свои теплофизические свойства. Кроме того, такой теплоизоляционный шнур пригоден к неоднократному использованию.
Рис.8 Способы оплетки
1. Цельная структура 1. Комковая структура 1. Комковая структура
2. Перекрестное плетение 2. Гладкое плетение 2. Гладкое плетение
3. Высокая плотность 3.Средняя плотность 3. Низкая плотность
оплетки оплетки оплетки
3. Сведения о производителях
| Производитель | Реквизиты | Выпускаемые изделия |
| ООО «Шамот» | Московская обл., г. Одинцово, ул. Мира, 31-51 | Огнеупорный кирпич; Огнеупорные смеси; Асбестовые изделия; Теплоизоляционные материалы; Соль, сульфоуголь, катиониты; Кислотоупорные изделия. |
| ООО «Асбестпромснаб» | Свердловская обл., г. Асбест, ул. Труда, 7-31 | Шнуры асбестовые: Шнур асбестовый пуховый ШАП Шнур асбестовый ШАОН Шнур асбестовый уплотнительный ШАУ Шнур асбестовый газогенераторный ШАГ |
| ООО «Компани Плазма» | г .Киров, ул.Северное кольцо, 25 | Шнуры асбестовые Лента асбестовая тормозная Продукция асбестовая Набивки сальниковые |
| ООО «Торговый Дом РТД» | Словакия | Шнуры асбестовые Картон асбестовый Ткани асбестовые |
| ООО «Техэнерго». | г. Москва, ул.Шоссейная, д.90 | Асбокартон Асбестовый шнур Асбестовая ткань |
4. Применение асбестовых шнуров
Применение шнура асбестового ШАОН: в качестве теплоизоляции и уплотнения соединений в различных тепловых агрегатах и теплопроводящих системах при температуре до +400 °С. Рабочая среда: газ, пар, вода. Давление до 0,1 МПа.
Рис.9 Схема электрообогрева ростверка:
1 - шпилька; 2 - деревянный утепленный щит; 3 - инвентарный разъем; 4 - теплостойкие монтажные провода; 5 - защитный каркас; 6 - трубчатые электрические нагреватели ТЭНы; 7 - асбестовый шнур; 8 – хомуты
Рис.9 Схема кожухотрубчатого теплообменника с продольной перегородкой:
а - общий вид; б, в - варианты уплотнения продольной перегородки с корпусомстальными пластинами и асбестовым шнуром; 1 - крышка распределительной камеры; 2 -распределительная камера; 3 - неподвижная трубная решетка; 4 - кожух; 5 - труба; 6 -продольная перегородка; 7 - поперечные стержневые перегородки (турбулизаторы); 8 –подвижная трубная решетка; 9 - крышка кожуха; 10 - крышка плавающей головки; - стальные пластины; 12 - асбестовый шнур.
Применение шнура асбестового ШАУ: для теплоизоляции и уплотнения дверных рам и броней коксовых печей, неподвижных деталей машин и аппаратов при температуре узлов уплотнения до +400 °С и давлением до 1 МПа.
Применение шнура асбестового ШАГ: преимущественно используют в средах, подразумевающих наличие газов, например, при уплотнении люков, газогенераторных установок. Рабочая среда: газ при давлении до 0,15 МПа.
Применение шнура асбестового ТШ: применяется для термоизоляции трубопроводов, горячих поверхностей и в качестве обволакивающей изоляции с последующим покровным слоем.
Рис.10 Устройство противопожарной разделки:
1 — потолок. 2 — верхнее и нижнее металлические кольца (кровельная сталь), 3 — уплотнительный асбестовый шнур, 4 — вытяжная труба (сталь), 5 — минераловата, 6 — гвозди. Расстояние «от дыма до дерева» принимается 38 см.
Применение шнура асбестового ШАП: применяется в качестве теплоизоляции в различных тепловых агрегатах и теплопроводящих системах при температуре до 400˚С, при максимальном рабочем давлении 0,1 мПа.
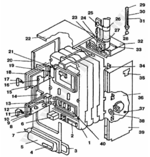
Рис.11 Водогрейный котел КЧМ-2М:
1 - пакет секций; 2 - решетка; 3 - шнур асбестовый; 4 - ручка; 5 - воздухосборник; 6 - ящик зольный; 7 - винт М6х12; 8 - гайка М6; 9 - защелка; 10 - шайба 6; 11 - отражатель; 12 - дверка нижняя; 13 - кронштейн; 14 - стенка правая; 15 - отражатель; 16 - болт M10x35; 17 - ручка; 18 - дверка верхняя; 19 - болт Ml0x20; 20 - стенка левая; 21 - турбулизатор; 22 - крышка; 23 - прокладка; 24 - штуцер; 25 - термометр манометрический; 26 - кронштейн; 27 - отвод; 28 - прокладка; 29 - оправа для термометра; 30 - прокладка; 31 - термометр стеклянный; 32 - патрубок газохода; 33 - шайба 10; 34 - планка; 35 - табличка; 36 - отвод; 37 - болт Ml0x25; 38 - прокладка; 39 - стенка правая; 40 - заклепка 8x50
Список использованной литературы
-
http://www.izotep-plus.ru/asbest
-
http://atiasbo.ru/production/asbestos-technical/cord
-
http://www.uzum.ru/cat_7.htm
-
http://www.batis.ru/useful-info/vidy-teploizoljacionnyh-shnurov/
-
http://www.antal.com.ua/html/prod14.html#5
-
http://www.ut-pavlodar-kz.info/shnur_asbestovyy















