125207 (717556), страница 2
Текст из файла (страница 2)
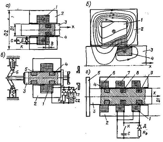
Принцип работы этих механизмов поясним на схеме ИДМ (см. рис. 5,г). ИДМ состоит из катушки 1, называемой индуктором и закрепленной на замкнутом магнитопроводе 2, и катушки 3, имеющей возможность перемещаться вдоль магнитопровода. С этой катушкой механически связаны те детали, которые ИДМ должен перемещать.
Катушка 3 замкнута накоротко. Обычно она представляет собой один массивный короткозамкнутый виток или сплошной диск из электропроводного материала (см. рис. 5, д—е; рис. 7; рис. 8,г—д). На рис. 5,д—е приведены два варианта исполнения ИДМ. Из-за разрывов магнитопровода по своим характеристикам они занимают промежуточное положение между ИДМ с магнитной системой и без нее (см. рис. 8, г—д). Эти ИДМ имеют дополнительную катушку 4 (рис. 5, д—е), используемую как тормозную для оптимального управления движением или как ускоряющую при обратном движении диска 3.
Рис. 6. Схемы включения и параметры ИДП.
При обратном движении катушка 1 обеспечивает торможение диска. Заметим, что в ИДМ на рис. 5,г также может быть установлена еще одна катушка, используемая для торможения диска или его ускорения при обратном движении.
При замыкании ключа К по индуктору 1 (рис. 5,г) проходит ток. Он создает магнитный поток, замыкающийся как по магнитопроводу 2, так и по рабочему зазору . При указанном на рисунке направлении тока в катушке 1 поток направлен по ходу часовой стрелки. Этот поток пересекает площадь, охватываемую витком (катушкой) 3. В результате изменения потока, сцепленного с витком 3, в последнем индуцируется ЭДС, создающая ток, направленный противоположно току в катушке. Ток витка вызывает прохождение потока по магнитопроводу и рабочему зазору в направлении против хода часовой стрелки. Таким образом, потоки индуктора 1 и витка 3 в рабочем зазоре совпадают по направлению, а вне его противоположны и компенсируют друг друга. В результате этого плотность магнитной энергии в зазоре значительно превышает плотность магнитной энергии вне его, что и вызывает ЭДУ, стремящиеся отбросить виток 3 от катушки
Индукция в зазоре может в два-три раза превышать индукцию насыщения материала магнитопровода. Так как начальное значение зазора обычно стремятся установить по возможности минимальным, то насыщенными оказываются лишь незначительные участки магнитопровода. Это видно из эпюры распределения индукции В вблизи зазора (рис. 5,г). Поэтому в расчетах обычно этими малыми участками пренебрегают и считают МС ненасыщенной. Это относится и к ЭДМ с МС. Ниже ИДМ и ЭДМ, имеющие магнитопроводы, отнесены к ЭММ с ненасыщенной МС. Если зазоры соизмеримы с длинами магнитопроводов, то в расчетах следует учитывать их насыщение. В некоторых ЭДМ и ИДМ для обеспечения однополярного режима работы конденсатора он шунтируется диодом (см. рис. 5,а—в; рис. 7,а, в, г). Однако шунтирование конденсатора не всегда целесообразно, особенно в быстродействующих ИДМ без МС, так как могут создаться условия, когда токи в катушке и витке совпадают по направлению. В этом случае ЭДУ не ускоряют, а затормаживают подвижные детали. На рис. 6, е представлена электрическая схема замещения ИДМ, а на рис. 6, ж— к типичные осциллограммы, если: ж—диск не движется, диод Д— отсутствует; з — то же, но с диодом Д; и — диск движется, диод Д отсутствует; к —диск движется, диод Д установлен.
Особую группу ИДМ с МС составляют механизмы, имеющие подвижную МС (рис. 7). По эффективности преобразования электрической энергии в магнитную и в механическую работу эти ИДМ наиболее совершенны. Они могут быть выполнены с возвратно-поступательным движением якоря 3 и допускают оптимальное управление его движением. Недостатком этой группы ИДМ является меньшее быстродействие из-за достаточно больших подвижных масс по сравнению с ИДМ, рассмотренными выше.
При замыкании ключа К (рис. 7,а) индуктор 1 создает импульсное магнитное поле, которое индуцирует в короткозамкнутом витке 4 ток
Рис. 7. Конструкция ИДП.
создающий свое магнитное поле, вытесняющее поле индуктора в зону рабочего зазора (на рис. 7,б эта зона заштрихована). В результате в зазоре значительно возрастает плотность магнитной энергии и возникающие ЭДУ выталкивают короткозамкнутый виток и якорь 3 в направлении х. На рис. 7, в изображен ИДМ с подвижной МС, на которой размещены ускоряющий 4 и тормозной 5 витки, и оптимальным управлением. При разряде конденсатора С1 якорь 3 перемещается вправо. При смене знака напряжения на выводах конденсатора в работу включается шунтирующая цепочка Rэ — Д. Сопротивление резистора Rэ подбирается таким, чтобы к моменту подхода короткозамкнутого витка 5 к индуктору 1 ток в индукторе затух до значения, которое необходимо для затормаживания якоря 3 перед замыканием контактов. Контакты замыкаются с малой скоростью, что исключает их вибрацию и уменьшает механический износ. При торможении якоря кинетическая энергия преобразуется в электромагнитную. Регулируя сопротивление резистора, легко получить различные режимы движения якоря. При Rэ , затормаживания может и не быть, а при Rэ = О якорь может полностью затормозиться и начать движение в обратную сторону. Конденсатор С2 и тиристор Т2 являются коммутирующими. С их помощью легко запереть силовой тиристор Т1 и тем самым в нужный момент прекратить подачу энергии от конденсатора С1 к ИДМ. Таким способом достигается регулирование динамических характеристик ИДМ. В замкнутом и разомкнутом положениях контакты удерживаются запорным механизмом 6. При отключении короткозамкнутый виток 5— ускоряющий, а короткозамкнутый виток 4. — тормозящий.
На рис. 7,г представлен привод с электромагнитным удержанием подвижной МС 3. Катушки 1 и 7 в ИДМ соединены согласно-параллельно; однако они могут соединяться и встречно-параллельно или последовательно, или принадлежать различным электрическим цепям. При изображенном на рис. 7г соединении катушек и положении якоря 5 витки 8 и 9 — ускоряющие. Сопротивление резистора Rэ таково, что к окончанию хода якоря ток в катушках 1 и 7 снижается до значения, необходимого для затормаживания. В витке 8 ток затухнуть также не успевает. Кроме того, при движении в нем и в витке 4 дополнительно наводятся токи из-за того, что эти витки входят в зону магнитных потоков, создаваемых соответственно катушками 1 и 7. В результате в конце хода якоря происходит снижение его скорости. Удержание якоря осуществляется с помощью электромагнита постоянного тока с обмоткой 6. Удерживающий поток замыкается вокруг нее по магнитопроводу 2, фланцу 5 и якорю 3.
Рис. 8. Электродинамические и индукционно-динамические механизмы без МС
ЭММ без МС являются наиболее быстродействующими и простыми в изготовлении из всех рассмотренных. Эти ЭММ позволяют получить времена срабатывания, измеряемые единицами и долями миллисекунд, однако они имеют меньший КПД, чем ЭММ с МС. Электродинамические (рис. 8,а—в) и индукционно-динамические (рис. 8,г—д) механизмы без МС по принципу действия не отличаются от ЭДМ и ИДМ с МС. Они также могут обеспечивать оптимальное движение подвижных частей. Схемы питания этих ЭММ строятся с использованием тех же принципов, что и схемы питания ЭММ с МС (рис. 8). В схеме на рис. 9,а конденсатор разряжается одновременно на оба индуктора 1 и 3, имеющих собственную индуктивность L1 и L3. Пока диск 2, имеющий индуктивность L2, находится вблизи индуктора 1, взаимная индуктивность М12 намного больше взаимной индуктивности М23. В результате эквивалентная индуктивность L12э= L1— (M12)2/L2 измеренная на выводах катушки 1, намного меньше эквивалентной индуктивности L32э=L3—(М23)2/L2, измеренной на выводах катушки 3. Поэтому основная доля колебательного тока разряда конденсатора проходит по индуктору 1, вызывая перемещение диска 2. По мере приближения диска к индуктору 3 происходит перераспределение тока и основная доля тока начинает проходить по катушке 3, осуществляя торможение диска. В схеме (рис. 9,б) подключение тормозного индуктора 3 производится дополнительным ключом К2 в нужный момент времени, что приводит к переходу тока из индуктора 1 в индуктор 3.
Схема (рис. 9,в) иллюстрирует возможность последовательного соединения ускоряющего 1 и тормозного 3 индукторов. Из-за того что модуль производной взаимной индуктивности по перемещению
Рис. 9.Схемы ИДП без магнитной системы.
между индуктором 1 и диском 2 намного больше модуля производной
, ускоряющее ЭДУ
больше тормозящего
. По мере приближения диска к индуктору 3 возрастает значение
и уменьшается значение
. Соответственно преобладающим становится тормозящее ЭДУ, что и вызывает уменьшение скорости диска.
Одним из наиболее распространенных типов ИДМ является ИДМ с диском. Основное их достоинство в том, что подвижный элемент 2 (диск) не связан с катушкой-индуктором 1 (рис. 10). В связи с этим механическая износостойкость индукционно-динамических механизмов (ИДМ) может быть весьма высокой. Источником энергии ИДМ служит, как правило, емкостный накопитель энергии (ЕНЭ).
В быстродействующих электрических аппаратах ИДМ может воздействовать как на пусковые устройства, так и непосредственно на силовые контакты.
Рис. 10. Индукционно-динамический механизм
Например, на рис. 11 подвижная система состоит из диска 5, скобы 6 и уравновешивающего груза 8. Подвижная система в исходном положении удерживается пружиной 4, прижимающей диск 5 к изоляционной прокладке 7, закрывающей катушку-индуктор Катушка установлена в стенке 2 выключателя. При срабатывании ИДМ диск проходит путь х и сбивает защелку 3, удерживающую пружину включения во взведенном положении.
В высоковольтных аппаратах ИДМ может приводить в движение силовые контакты (рис. 12). Катушка-индуктор 3 закреплена в корпусе 2. При разряде на нее ЕНЭ фланец 4 подвижного контакта отталкивается от катушки и подвижный контакт отходит от неподвижного Так как контакты находятся в среде сжатого газа, то сразу же при размыкании контактов через их полости 5 начинается дутье, способствующее гашению дуги.
Рис. 11. ИДМ в низковольтных быстродействующих выключателях
Рис. 12. ИДМ в качестве привода контактов
ВЫВОДЫ
В данном реферате были рассмотрены различные варианты конструкций электромагнитных (ЭММ), электродинамических (ЭДМ) и индукционно-динамических механизмов (ИДМ), которые используются в качестве приводов электрических аппаратов. К таким вариантам относятся конструкции с магнитной (МС) постоянного, переменного тока, а также поляризованные ЭММ. Также были рассмотрены ЭММ без МС, которые обладают более высоким быстродействием по сравнению с ЭММ с МС. Рассмотрены конструкции ЭММ с вращательным, поступательным движением якоря, а также с несколькими типами МС: клапанного, прямоходового и с втягивающимся якорем (как подвижные, так и неподвижные).
Достоинством поляризованных ЭММ является относительно высокое КПД и быстродействие. Также данные ЭММ допускают импульсное управление, что позволяет пропускать ток управления не длительно, а в течении малого промежутка времени.
Основной акцент был сделан на ЭММ без МС, к которым относятся широко применяемые в электроаппаратостроении элекродинамические и индукционно-динамические механизмы ЭДМ и ИДМ, являются механизмами импульсного действия. ЭММ без МС являются наиболее быстродействующими и простыми в изготовлении из всех рассмотренных. Эти ЭММ позволяют получить времена срабатывания, измеряемые единицами и долями миллисекунд и получили наиболее широкое распространение, несмотря на более низкий КПД, чем ЭММ с МС.
В быстродействующих электрических аппаратах ИДМ может воздействовать как на механизм, так и непосредственно на силовые контакты.















