125093 (717536), страница 2
Текст из файла (страница 2)
Для предотвращения потерь нефти от испарения ее хранят в резервуарах с плавающими крышами или понтонами. На сырьевых базах НПЗ обычно устанавливаются резервуары объемом 20— 50 тыс. м3. Число резервуаров определяется общей вместимостью парка и принятым единичным объемом резервуара. При проектировании сырьевых складов НПЗ и НХЗ руководствуются СНиП II-106—79 [44]. Этот нормативный документ разработан для использования при проектировании складов нефти и нефтепродуктов; его допускается применять при проектировании складов легковоспламеняющихся, и горючих жидкостей, условия хранения которых в зависимости от их свойств сходны с условиями хранения нефти и нефтепродуктов. СНиП П-106—79, однако, не распространяется на проектирование складов (товарных баз) сжиженных газов, нефтепродуктов с упругостью паров выше 93,6 кПа (700 мм рт.ст.) при 20°С, складов синтетических жирозаменителей, подземных хранилищ в горных породах, отложениях каменной соли, ледогрунтовых хранилищ.
СНиП П-106—79 делит склады нефти и нефтепродуктов на две группы, причем товарно-сырьевые склады НПЗ и НХЗ отнесены к первой группе. Склады первой группы подразделяются на три категорий в зависимости от общей вместимости. В СНиП регламентированы расстояния от зданий и сооружений складов (товарно-сырьевых баз) до зданий и сооружений соседних предприятий, жилых и общественных зданий, расстояния от резервуаров для нефти и нефтепродуктов до зданий и сооружений склада (сливо-наливных устройств, насосных, канализационных сооружений, складов для нефтепродуктов в мелкой таре и т. п.), расстояния от зданий и сооружений склада до трубопроводов. СНиП П-106—79 рекомендует размещать резервуары группами, устанавливает предельную вместимость резервуаров в группе и расстояния между стенками резервуаров, расположенных в одной и соседних группах.
2. ПРИГОТОВЛЕНИЕ ТОВАРНОЙ ПРОДУКЦИИ
Товарная продукция, вырабатываемая на НПЗ, может быть условно разделена на две группы: 1) продукция, производимая непосредственно на технологических установках, и 2) продукция, приготавливаемая из различных компонентов. Непосредственно на установках НПЗ вырабатывают индивидуальные углеводородные фракции С3—Cs (пропановую, бутановые, пентановые), ароматические углеводороды (бензол, толуол, индивидуалыше ксилолы), различные марки твердых парафинов, присадки к маслам и т.д.
Значительное количество крупнотоннажных товарных продуктов — бензин, дизельное и котельное топлива, смазочные масла — получают на НПЗ смешением (компаундированием) из компонентов, вырабатываемых на различных установках. Так, для приготовления автомобильных бензинов на некоторых НПЗ используют до 10—15 компонентов.
На нефтехимических предприятиях товарная продукция — спирты, альдегиды, кислоты, полиолефины, сырье для производства синтетического каучука и др. — вырабатывается непосредственно в цехах и на установках.
Для осуществления операций по приготовлению товарной продукции из компонентов проектируются специальные объекты, на которых используются следующие основные методы компаундирования:
1) циркуляционный — приготовление производится в смесительных резервуарах;
2) смешение в аппаратах с перемешивающими устройствами;
3) непосредственное смешение в трубопроводах. Разработке проекта узла приготовления товарной продукции должен предшествовать расчет ожидаемых показателей качества товарных продуктов на основе сведений о качестве компонентов. В расчетах следует учитывать, что только некоторые из показателей качества являются аддитивными. Так, плотность смеси, содержание в ней серы, температуру анилиновой точки, показатели фракционного состава, определенные по ИТК, находят суммированием произведений массовых долей компонентов на соответствующие показатели каждого из компонентов. Давление насыщенных паров смеси с достаточной степенью точности можно определить суммированием произведений мольных долей компонентов на давления паров этих компонентов.
В известной степени аддитивными являются показатели октанового и цетанового чисел: Однако определенное по правилу аддитивности октановое число смеси может оказаться выше или ниже реального. Более Точно рассчитать реальное октановое число позволяет формула:
Осм = (О.А.k. + 0вВ)/\00
Здесь Осм — реальное октановое число смеси; О А, Ов — октановые числа ; высокооктанового и низкооктанового компонента смеси, соответственно; А и В — содержания компонентов в смеси, % (об.); k — поправочный коэффициент, определяемый по специальному графику,приведенному в литературе. -
Для расчета октанового числа смеси могут быть также использованы формулы, разработанные ВНИИНП и НПО «Нефтехим-автоматика» и фирмой «Этил Корпорейшн».
Более точные уравнения, по которым можно определить смесительные характеристики мазутов, зная показатели отдельных компонентов, приводятся в литературе.
Метод приготовления товарной продукции многократной циркуляцией через смесительные резервуары применяется в течение многих лет. Сущность метода заключается в следующем. Компоненты товарных продуктов с технологических установок поступают в компонентные,
резервуары парков смешения, анализируются, а затем насосами подаются в смесительный резервуар. Приготовленный в смесительном резервуаре продукт забирается специальными насосами и многократно перекачивается по схеме «резервуар—насос— резервуар» до тех пор, пока в резервуаре не будет получена однородная по составу смесь, показатели которой соответствуют требованиям, предъявляемым к готовому продукту.
Вместимость компонентных резервуаров при приготовлении топлив должна соответствовать 48-часовому запасу каждого компонента, а смесительных резервуаров— 16-ч-асовой выработке данного вида топлива. При получении товарных масел предусматриваются компонентные резервуары, исходя из 36-часового запаса каждого компонента, и смесительные резервуары, исходя из суточной выработки масел.
В табл. приводится пример расчета необходимой вместимости резервуарных парков смешения, автобензина.
Для улучшения условий перемешивания резервуары оборудуют смесительными устройствами: маточниками с большим числом отверстий, направленных вверх, вниз или под углом; так называемыми «пауками» с установленными на них инжекторами-смесителями; подъемными трубами, через которые продукт закачивают на определенную высоту от днища.
В аппаратах с перемешивающими устройствами готовят товарные масла. Для ряда НПЗ была запроектирована установка приготовления масел, в состав которой входят компонентные резервуары, смесители с принудительным перемешиванием, насосная, емкости для присадок и камеры для плавления присадок.
Оба описанных выше метода обладают рядом серьезных недостатков: повышенным расходом электроэнергии, малой производительностью смешения, необходимостью строительства смесительных резервуаров.
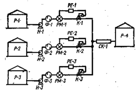
Рис. 1.3. Схема автоматической станции смешения:
Р-1—Р-3 — компонентные резервуары; Р-4 — товарный резервуар; Н-1—Н-3 — насосы; Ф-1—Ф-3 —фильтры; PM-J—PM-3— расходомеры; РЕ-1—РЕ-3— регуляторы; К-1—К-3 — регулирующие клапаны; СК-1 — смесительный коллектор.
Более эффективным является приготовление товарной продукции смешением в потоке. Для каждого НПЗ разрабатываются индивидуальные проекты автоматизированных систем (автоматических станций) смешения. Схема автоматической станции смешения, на которой приготавливается продукт из трех компонентов, приведена на рис. 1.3. В состав оборудования станции входят: компонентные резервуары, насосы, фильтры для очистки компонентов от механических примесей, газоотделитель (при приготовлении бензинов), измерители расхода, регулирующие клапаны, обратные, клапаны.
Объем резервуарного парка для хранения компонентов обуславливается производительностью станции смешения, необходимостью остановки для профилактического осмотра и ремонта, потребностью во времени для лабораторного анализа. Нормы технологического проектирования не регламентируют объема компонентных резервуаров, представляя право решать эту задачу проектировщикам. Оптимальные условия эксплуатации, как показывает практика, обеспечиваются при наличии 2-3 резервуаров для каждого компонента, общая вместимость которых соответствует 16—20-часовой выработке этого компонента.
Для перекачки каждого компонента следует предусматривать индивидуальные насосы, причем нежелательно, чтобы одним насосом компонент перекачивался в разные смесительные коллекторы.
В качестве измерителей расхода на станциях смешения применяются объемные счетчики или турбинные расходомеры. Широкое распространение получили венгерские турбинные расходомеры «Турбоквант», достоинством которых являются небольшие размеры, малая металлоемкость, простота ремонта. При разработке проектов станций смешения следует стремиться, чтобы максимальная производительность по компоненту не превышала 75% от пропускной способности расходомера, а минимальная не была близка к нижнему пределу пропускной способности.
Для управления процессом смешения в Рязанском СКВ Московского НПО «Нефтехимавтоматика» разработаны комплексы приборов управления «Поток». В состав комплексов входят блоки компонентов и управления.
Если схема автоконтроля блока компонента фиксирует отклонение действительного расхода компонента от заданного более чем на 0,5% в сторону уменьшения расхода, то формируется команда «Ошибка-1», по которой блок управления снижает скорость смешения.
В составе комплексов имеются основные и резервные блоки. При нарушении режима работы основных блоков резервные блоки подключаются к сети и форсированно выводятся на режим работы основного блока.
3. ХРАНЕНИЕ ТОВАРНОЙ ПРОДУКЦИИ
Хранение и отгрузка основного количества товарной продукции на НПЗ и НХЗ производится через товарно-сырьевые базы (ТСБ) предприятий. Отдельные виды продукции — битумы, элементарную серу, нефтяной кокс — отправляют потребителям непосредственно с технологических установок. При проектировании предприятий следует стремиться к тому, чтобы объекты по хранению и отгрузке продукции были сосредоточены в одном месте, что облегчает управление товарной базой, упрощает работу железнодорожного транспорта. Исключение делают для объектов по отгрузке сжиженных газов, которые в соответствии с противопожарными нормами проектирования следует размещать на расстоянии не менее 300—500 м от территории предприятия. Вместимость товарных складов (парков) зависит от устанавливаемых нормами технологического проектирования сроков хранения. Товарные парки должны обеспечивать возможность приема и хранения в них 15-суточной выработки, каждого из товарных нефтепродуктов. Вместимость складов сжиженных газов не должна превышать трехсуточной выработки этих продуктов. Если отгрузка товарных нефтепродуктов потребителям производится по трубопроводам, нормативный срок хранения сокращается до 7 суток.
Число устанавливаемых резервуаров зависит от количества подлежащего хранению продукта и единичной вместимости выбранного резервуара. Экономически целесообразно устанавливать меньшее число резервуаров большей вместимости. Так, расход металла на сооружение 6 резервуаров по 10 тыс. м3 составляет 955 т, а при строительстве 3 резервуаров по 20 тыс. м3 — 825 т.Сооружение резервуаров большей вместимости взамен мелких позволяет также уменьшить территорию, занимаемую парками.
Для каждого вида товарной продукции рекомендуется предусматривать не менее 3 резервуаров (в один поступает товарная продукция, второй находится на анализе, из третьего производится отгрузка продукции).
По, расположению и планировке резервуары делятся на подземные (если наивысший уровень жидкости в резервуаре ниже наинизшей планировочной отметки прилегающей площадки не менее, чем на 0,2 м) и наземные (если они не удовлетворяют вышеуказанным условиям). Для хранения товарной продукции НПЗ и НХЗ используются стальные емкости вместимостью 200 м3 (до ОСТ 26-02-1496—76); стальные резервуары вертикальные цилиндрические со щитовой кровлей вместимостью от 100 м3 до 30 тыс. м3 с понтоном и щитовой кровлей вместимостью от 100 м3 до 30 тыс. м3, с плавающей крышей вместимостью от 10 тыс..м3 до 50 тыс. м3; стальные резервуары с коническими днищами; горизонтальные емкости для хранения продуктов под давлением 0,6—1,8 МПа вместимостью отг25 м3 до_200_м,3 (по ОСТ 26-02-1159^-76); шаровые резервуары для хранения продуктов под давлением 0,25—1,2 МПа железобетонные резервуары.
В табл. 1.3 приведены рекомендации по выбору типа емкости для хранения продукции НПЗ и НХЗ. На рис. 1.4 изображен резервуар с плавающей крышей, применяемый для хранения бензина и других легкокипящих продуктов.















