124888 (717492), страница 2
Текст из файла (страница 2)
З стародавніх часів ковке губчасте залізо отримували методом прямого відновлення безпосередньо з руди. В XVIII столітті цей сиродувний процес був широко розповсюджений. В Європі він зберігся до 1850 року, в Північній Америці – до 1890 року. В наш час сиродувні горни можна зустріти у народів центральної Африки і Китаю.
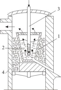
В 90-х роках, недалеко від річки Оскол в Бєлгородській області (Росія) знайшли старовинний горн для отримання заліза (рис 2.1).
Рис. 2.1 Старовинний горн для отримання залізної криці
Цінність знахідки перевірили і підтвердили при розкопках вчені експедиції. Вони встановили, що діяв він більше тисячі років тому – в VIII–IX віці. В той час тут жили хазари – войовничі кочівники, які і займалися металургією. Залізної руди в цих краях було багато, тут знаходиться гігантське природне сховище заліза (курська магнітна аномалія). Вихідною сировиною для отримання залізної криці є залізна руда, а паливом – дрібне деревне вугілля. Отримували в горні кусок залізної криці – губчастого заліза.
Процес отримання заліза із руди в горні увійшов в історію металургії під назвою "сиродувний", тому що в горн вдувалося не підігріте сире повітря (гаряче дуття з’явилося на металургійних заводах лише в XIX столітті). Отримане в сиродувному горні залізо інколи було не міцним і не твердим, а вироби з нього – ножі, сокири, піки – недовго залишалися гострими, гнулися, швидко виходили із ладу.
На дні горна, поряд з порівняно м’якими шматками заліза траплялись і більш тверді – ті, що безпосередньо контактували з деревним вугіллям. Помітивши цю закономірність, люди почали збільшувати зону контакту з вугіллям і тим самим навуглецьовувати залізо. Це була сталь – сплав заліза, який і зараз служить основним конструкційним матеріалом.
Для управління процесом дуття в горн, плавильник або горновий керує засувкою, яка приводить в рух кузнечний міх (рис. 2.2).
Рис. 2.2 Горн з повітряним дуттям XVI сторіччя. 1 - горн; 2 - кузнечний міх; 3 - водяне колесо
Лице плавильника захищене войлочною маскою. З горна через бічний отвір стікає шлак. Після 4…8 годин важкої ручної праці, працівники за допомогою залізних стержнів дістають з горна губчасту масу, яка включає зерна металу разом із шлаковими частинками, крицю. В залежності від розмірів горна, криця могла мати вагу до 150 кг. Двоє робітників довго обробляли крицю молотами, для того щоб ущільнити її і виділити частину шлаку. Потім крицю розділяють на частини, які проковують на наковальні і надають їй форму, необхідну для продажу.
Таким чином, розвиток горнів йшов від простих плавильних ям, які встановлювалися на відкритому місці, до шахтних печей з відкритим випускним порогом і міхом для дуття. Продуктивність ще більше збільшилася завдяки введенню викладання із цегли сиродутних печей замість подових. Подрібнену руду і деревне вугілля і деревне вугілля завантажували в піч зверху. Для виймання криці із печі потрібно відкрити її поріг, який закритий цегляною кладкою і обмазаний глиною. В XI сторіччі металурги користувалися сиродувними горнами об’ємом 1,1…1,7 м3. Вони давали за добу 1200…1300 кг металу. В Росії ці печі називали доминцями, від древньоруського слова "дмение", що означало "дуття". Ці печі "дихали" за допомогою енергії води: повітродувні міхи приводились в рух спочатку спеціальними водяними трубами, а пізніше великими водяними колесами.
В шахтній печі в одиницю часу згоряло більше палива, ніж в горни, і більше виділялося тепла. Високі температури в печі і привели до того, що частина відновленого заліза звільнялась від кисню, але сильно насичувалася вуглецем, розплавлялася і витікала із печі. Охолоджуючись, такий залізовуглецевий сплав мав у декілька разів більший вміст вуглецю ніж сталь. Він ставав більш твердим, але водночас і більш крихким. Таким чином, металурги стали отримувати побічний продукт – чавун. Спочатку його просто викидали, тому що під ударами молота такий метал розлітався на шматки і зробити із нього зброю чи інструмент було просто неможливо. В той же час через цей сплав міцність добротного продукт – залізної криці – різко скоротилась. Яких тільки назв не давали металурги новому сплаву в XV–XVII сторіччях. В країнах Центральної Європи його називали "диким камінням", "гусаком", в Англії – "свинячим залізом" (по-англійські чавун так називається і зараз), і російське слово "чушка" (чавунний виливок) має теж саме походження.
Оскільки ніякого застосування чавун не знаходив, його, звичайно, викидали. Але потім комусь прийшла в голову ідея завантажити чавун знову в піч і переплавити разом з рудою. Ця спроба зробила переворот в металургії заліза. Такий спосіб дозволяє порівняно легко отримати потрібну сталь, причому в великих кількостям. Історія не зберегла ім’я цього середньовічного винахідника, який отримав з чавуну ковке залізо, видаливши з нього вуглець. Цей процес називається в металургів "кричний переділ".
Нововведення призвело до чіткого розподілу праці: в доминцях, які в той час стали більш досконалими доменними печами, з руди виплавляли чавун, а в кричних горнах з нього видаляли вуглець, виконуючи процес перетворення чавуну в сталь – "кричний переділ". Так виник двостадійний спосіб отримання сталі з залізної руди: руда – чавун, чавун – сталь. Це приклад, як просте збільшення розмірів обладнання (в даному випадку – сиродутних горнів) призвело до принципово нової технології.
Тепер попит на чавун, перш за все як на напівпродукт, який потім перетворюється в сталь, різко збільшився. І доменні печі почали використовувати всюди. Але оскільки для доменної плавки потрібно було багато деревного вугілля, то це призвело до того, що в багатих рудою районах ліси були швидко вирубані. Особливо це стосується Англії. І металургія, залишившись без палива, пішла на збиток.
Тяжке положення, в якому опинилась в зв’язку з цим англійська промисловість, яка довгий час займала головні позиції в металургії, змушена була шукати заміну деревного вугілля. Металурги звернули увагу на кам’яне вугілля, яким Британські острови були багаті. Але всі спроби виплавити на ньому чавун кінчалися невдачею: вугілля в процесі нагріву подрібнювалося, а це сильно сповільнювало дуття. В 1735 році Абрахаму Дербі з англійського міста Колбрукдейл вперше вдалося застосувати в доменній печі кам’яновугільний кокс і тим самим модернізувати першу ступінь процесу виробництва сталі. Кокс – це паливо, отримане з кам’яного вугілля при його нагріванні без доступу повітря при високих температурах (950 – 1050 °С), при цьому вугілля не подрібнювалось, а спікалось в куски. Сьогодні без коксу неможливі ні доменна плавка, ні ряд інших металургійних процесів.
Але для переробки чавуну в сталь необхідно було деревне вугілля. Кам’яне вугілля ще не вміли застосовувати для цієї мети. Сірка, яка знаходилася в ньому, переходила в сталь і робила її непридатною. Проблему вирішив англієць Генрі Корт, який в 1784 році винайшов спосіб пудлінгування (puddle – місити, перемішувати).
В пудлінговій печі (рис. 2.3) паливо не контактує з чавуном, який переробляється.
Рис. 2.3 Пудлінгова піч
Кам’яне вугілля 1 горить в топці, яка віддалена від горна 2 порогом 3. Перші пудлінгові печі мали дві димові труби 4: одну безпосередньо над топкою, другу з протилежного кінця печі, над плавильним горном чи ванною. Пудлінгування – це очистка чавуну в полум'яній печі. Процес починається з завантаження чавуна в горн. Для того, щоб прискорити плавку, куски чавуна (вагою 10 – 30 кг, всього близько 150 кг) розміщують поблизу топки, де температура сама висока. Приблизно через 45 хвилин чавун розплавляється. Пудлінгувальник вставляє в завантажувальне вікно 5 печі залізну штангу з крюком на кінці і проводить нею борозди по тістоподібній чавунній масі. При цьому чавун добре перемішується і поверхня ванни збільшується. Закриваючі горн і закидаючи вологий шлак, пудлінгувальник регулює температуру ванни. Крім того, в ванну добавляють пісок, який вступає в хімічну реакцію з футеровкою печі, при цьому утворюється шлак; останній окислює вуглець, і чим більше його окислюється, тим сильніше розріджується ванна і залізні зерна збираються в грудки.
Пудлінгувальник штангою багато разів перевертає масу і під кінець розділяє її на три – п’ять частин криць. Вони ще гарячі попадають до коваля, який до кожної криці приварює залізний стержень дюймової товщини, і проковує їх в ковбаски діаметром 7 -10 см і довжиною 50 см. Ці заготовки в прокатній машині розкачують в полоси, потім знову розділяють на куски довжиною 50 см і ще раз прокатують, накладаючи по 4 полоси одна на другу. Для процесу пудлінгування були характерні ці операції прокатки криць, які потрібно не стільки для надання заготовці форми, скільки для того, щоб зварити зерна і грудки заліза. В результаті отримуємо зварювальне залізо (чи зварювальну сталь). Одна пудлінгова піч за добу давала 3500 кг великозернистого кричного заліза або 1600 кг мілкозернистого заліза – пудлінгової сталі.
Пудлінгування означало суттєвий прогрес в порівнянні з попереднім сиродувним способом і кричним переділом. Замість дефіцитного деревного вугілля застосовувалось кам’яне вугілля. Пудлінгові печі набагато продуктивніші. В результаті пудлінгування отримували зварювальне залізо з відмінною якістю.
Але зварювальне залізо і зварювальна сталь мали суттєвий недолік – нерівномірність складу в поперечному перерізі. Англійський майстер годинникової справи Бенджамін Хантсмен (1704–1776) прийшов до думки, що склад цих матеріалів можна вирівняти шляхом переплавки. Для того, щоб отримати сталь, Хантсмен використовував тигель із вогнетривкого матеріалу і підігрівав коксом піч з дуттям і високим горном. Це принесло успіх.
Французькі ковалі перші виготовили із литої сталі ножі, які були кращі шефілдських, завдяки своїй твердості. Старшини шефілдського цеху ковалів звернулись в палату общин англійського парламенту з проханням заборонити вивіз із країни литої сталі. Їх прохання було відхилено. Тоді шефілдським ковалям довелося переглянути свої погляди на литу сталь. Виробництво стальних виробів в Англії стало швидко розвиватись. Значно розширився експорт не тільки готових стальних виробів, але і стальних злитків
Високоякісна тигельна сталь мала добрі властивості в литому стані. Після винаходу Хантсмена, через 100 років з них робили паровозні осі, гарматні стволи. В 1851 році на Лондонській всесвітній виставці був показаний стальний злиток вагою 2150 кг. Для того щоб отримати таку виливку, прийшлось зливати в міксер (копильник) розплавлену сталь із багатьох тиглів ємністю по 45 кг кожний.
В епоху промислової революції потреба в залізі настільки виросла, що її не міг задовольнити і пудлінговий процес. Різні нові технічні застосування пудлінгового заліза показали, що воно не витримує великих навантажень. Наприклад, локомотиви стали важчі і швидкохідніші, і рейки, які виготовлялись із пудлінгової сталі, все частіше руйнувались. Назріло питання отримання більш якісної сталі.
2.2 Бесемерівський і томасівський процес отримання сталі
Основоположником сталеплавильного виробництва є Генрі Бесемер (1813–1898). Свої перші досліди він проводив в закритому тиглі 1, продуваючи розплав 2 повітрям через введену зверху трубку 3 (рис. 2.4). Тигель був встановлений в печі 4 для того щоб надати йому додатковий підігрів, який, як з’ясувалося пізніше, був непотрібний. В 1885 році Бесемер вперше отримав ковке залізо (сталь) шляхом продування повітрям 5 кг сирого чавуну, який розплавлений в тиглі з вогнетривкої глини.
Рис. 2.4 Продування чавуну повітрям для отримання сталі
Виявилось, що при продуванні повітрям розплавленого чавуну він не тільки не охолоджується, як думали раніше, але навпаки його температура зростає настільки, що ванна залишається рідка, не дивлячись на те, що сталь, яка утворилась з чавуну має вищу температуру плавлення. В 1855 році Бесемер отримав англійський патент на свій винахід. Прусське патентне відомство в Берліні відмовились видати йому патент, мотивуючи свою відмову таким чином: "не можна нікому заборонити продувати повітря через рідке залізо" – приклад нерозуміння суті технічного прогресу.















